TOP
|
特許
|
意匠
|
商標
特許ウォッチ
Twitter
他の特許を見る
公開番号
2025176386
公報種別
公開特許公報(A)
公開日
2025-12-04
出願番号
2024082503
出願日
2024-05-21
発明の名称
食事支援システム
出願人
三菱電機株式会社
代理人
弁理士法人高田・高橋国際特許事務所
主分類
G16H
20/60 20180101AFI20251127BHJP(特定の用途分野に特に適合した情報通信技術)
要約
【課題】ユーザの実際の状態に応じて、当該ユーザが適切な食事をとることを支援する
【解決手段】食事支援システムは、冷蔵庫200内の食材の在庫情報からユーザ100が摂取した栄養素の情報を取得する摂取情報取得手段と、ユーザ100の健康状態の情報を取得するユーザ情報取得手段と、摂取情報取得手段によって取得した栄養素の情報とユーザ情報取得手段によって取得した健康状態の情報とに基づいて、ユーザ100に摂取を推奨する栄養素に関する情報を提案する摂取情報提案部14と、備えるものである。
【選択図】図1
特許請求の範囲
【請求項1】
冷蔵庫内の食材の在庫情報からユーザが摂取した栄養素の情報を取得する摂取情報取得手段と、
前記ユーザの健康状態の情報を取得するユーザ情報取得手段と、
前記摂取情報取得手段によって取得した前記栄養素の情報と前記ユーザ情報取得手段によって取得した前記健康状態の情報とに基づいて、前記ユーザに摂取を推奨する栄養素に関する情報を提案する提案手段と、
を備える食事支援システム。
続きを表示(約 710 文字)
【請求項2】
前記摂取情報取得手段は、食材の購入情報を取得して、該購入情報から前記ユーザが摂取した栄養素の情報を取得する請求項1に記載の食事支援システム。
【請求項3】
前記提案手段は、前記ユーザの健康状態を改善する栄養素に関する情報を提案する請求項1または請求項2に記載の食事支援システム。
【請求項4】
前記提案手段は、前記ユーザに不足している栄養素に関する情報を提案する請求項1または請求項2に記載の食事支援システム。
【請求項5】
前記提案手段は、前記ユーザが過剰に摂取している栄養素に関する情報を提案する請求項1または請求項2に記載の食事支援システム。
【請求項6】
前記提案手段は、前記ユーザが過去の特定期間に摂取した栄養素の変動に関する情報を報知する請求項1または請求項2に記載の食事支援システム。
【請求項7】
前記提案手段は、摂取を推奨する栄養素を含む食材が前記冷蔵庫内にある場合には該食材の情報を提案し、摂取を推奨する栄養素を含む食材が前記冷蔵庫内にない場合には該食材の購入を提案する請求項1または請求項2に記載の食事支援システム。
【請求項8】
前記提案手段は、前記ユーザに対する個人識別の結果に応じて、摂取を推奨する栄養素の情報を個人ごとに提案する請求項1または請求項2に記載の食事支援システム。
【請求項9】
前記摂取情報取得手段は、前記冷蔵庫とは別の家電機器の情報を取得して、該情報から前記ユーザが摂取した栄養素の情報を取得する請求項1または請求項2に記載の食事支援システム。
発明の詳細な説明
【技術分野】
【0001】
本開示は、食事支援システムに関するものである。
続きを表示(約 1,400 文字)
【背景技術】
【0002】
特許文献1に、食材の在庫を管理し、ユーザが適切な食事をとれるように支援するシステムが開示されている。このシステムは、個人情報と予め登録される食材のデータと在庫データとに基づいて、次回に配達する食材を選定するものである。
【先行技術文献】
【特許文献】
【0003】
特開2003-207260号公報
【発明の概要】
【発明が解決しようとする課題】
【0004】
特許文献1に記載のシステムにおいては、ユーザの実際の状態を十分に考慮できておらず、適切な食事の支援を効果的に行うことが難しい。
【0005】
本開示は、このような課題を解決するためのものである。本開示の目的は、ユーザの実際の状態に応じて、当該ユーザが適切な食事をとることを支援することができる食事支援システムを提供することである。
【課題を解決するための手段】
【0006】
本開示に係る食事支援システムは、冷蔵庫内の食材の在庫情報からユーザが摂取した栄養素の情報を取得する摂取情報取得手段と、前記ユーザの健康状態の情報を取得するユーザ情報取得手段と、前記摂取情報取得手段によって取得した前記栄養素の情報と前記ユーザ情報取得手段によって取得した前記健康状態の情報とに基づいて、前記ユーザに摂取を推奨する栄養素に関する情報を提案する提案手段と、備えるものである。
【発明の効果】
【0007】
本開示に係る食事支援システムによれば、ユーザの実際の状態に応じて、当該ユーザが適切な食事をとることを支援することができる。
【図面の簡単な説明】
【0008】
実施の形態1に係る食事支援システムの構成を示す図である。
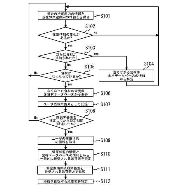
実施の形態1に係る食事支援システムの動作例を示すフローチャートである。
実施の形態1に係る食事支援システムの応用例を示すフローチャートである。
【発明を実施するための形態】
【0009】
以下、実施の形態について添付の図面を参照しながら説明する。各図において、同一又は相当する部分には同一の符号を付して、重複する説明は適宜に簡略化又は省略する。なお、本開示は以下の実施の形態に限定されるものではない。本開示の趣旨を逸脱しない範囲において、以下の実施の形態およびその変形例によって開示される任意の構成要素の自由な組み合わせ、任意の構成要素の変形、または、任意の構成要素の省略が可能である。
【0010】
実施の形態1.
図1は実施の形態1に係る食事支援システムの構成を示す図である。本実施の形態に係る食事支援システムは、ユーザ100の実際の状態に応じて当該ユーザ100が適切な食事をとることを支援することを実現するものである。本実施の形態の生活支援システムは、ユーザ100の健康状態の情報およびユーザ100が実際に摂取した栄養素の情報を取得し、取得した情報に応じた動作を行うことを特徴とするものである。なお、食事支援システムの構成要素の少なくとも一部は、ユーザ100によって使用される冷蔵庫200、スマートフォン等の端末機器300あるいはその他の電気機器に備えられていてもよい。また、食事支援システムの構成要素の少なくとも一部は、外部のサーバ装置あるいはクラウド等に備えられていてもよい。
(【0011】以降は省略されています)
この特許をJ-PlatPat(特許庁公式サイト)で参照する
関連特許
三菱電機株式会社
冷蔵庫
15日前
三菱電機株式会社
換気扇
8日前
三菱電機株式会社
増幅器
1か月前
三菱電機株式会社
換気扇
1か月前
三菱電機株式会社
扇風機
1か月前
三菱電機株式会社
換気扇
1か月前
三菱電機株式会社
冷蔵庫
1か月前
三菱電機株式会社
換気扇
1か月前
三菱電機株式会社
収集装置
1か月前
三菱電機株式会社
照明装置
29日前
三菱電機株式会社
電子機器
1か月前
三菱電機株式会社
照明器具
9日前
三菱電機株式会社
換気装置
7日前
三菱電機株式会社
電気機器
15日前
三菱電機株式会社
加熱調理器
23日前
三菱電機株式会社
半導体装置
1か月前
三菱電機株式会社
半導体装置
15日前
三菱電機株式会社
半導体装置
2日前
三菱電機株式会社
半導体装置
2日前
三菱電機株式会社
電動送風機
7日前
三菱電機株式会社
空気調和機
1か月前
三菱電機株式会社
半導体装置
1か月前
三菱電機株式会社
保護リレー
1か月前
三菱電機株式会社
回路遮断器
23日前
三菱電機株式会社
車両制御装置
7日前
三菱電機株式会社
空気清浄装置
23日前
三菱電機株式会社
位置算出装置
8日前
三菱電機株式会社
ねじ締め装置
1か月前
三菱電機株式会社
炊飯システム
1か月前
三菱電機株式会社
貯湯式給湯機
29日前
三菱電機株式会社
電力変換装置
2日前
三菱電機株式会社
貯湯式給湯機
1か月前
三菱電機株式会社
制御システム
29日前
三菱電機株式会社
点検管理装置
1か月前
三菱電機株式会社
調理システム
1か月前
三菱電機株式会社
空調システム
1か月前
続きを見る
他の特許を見る