TOP
|
特許
|
意匠
|
商標
特許ウォッチ
Twitter
他の特許を見る
10個以上の画像は省略されています。
公開番号
2025179415
公報種別
公開特許公報(A)
公開日
2025-12-10
出願番号
2024086146
出願日
2024-05-28
発明の名称
車載通信装置
出願人
三菱電機株式会社
代理人
弁理士法人ぱるも特許事務所
主分類
H04B
1/3822 20150101AFI20251203BHJP(電気通信技術)
要約
【課題】信号調整器側に温度センサを必要とせず、信号調整器が大型化しない車載通信装置を提供する。
【解決手段】自車の内部に設置され、無線信号を送受信する車載器と、前記自車から離れた通信対象との間で前記無線信号を送受信するためのアンテナと、前記車載器とは温度環境が異なる位置に設置され、前記車載器と前記アンテナの間で前記無線信号の振幅を調整する信号調整器と、を備えた車載通信装置において、前記車載器は、前記信号調整器への供給電流に基づいて前記信号調整器の温度を推定するように構成されている。
【選択図】図2
特許請求の範囲
【請求項1】
自車の内部に設置され、無線信号を送受信する車載器と、
前記自車から離れた通信対象との間で前記無線信号を送受信するためのアンテナと、
前記車載器とは温度環境が異なる位置に設置され、前記車載器と前記アンテナの間で前記無線信号の振幅を調整する信号調整器と、を備えた車載通信装置において、
前記車載器は、前記信号調整器への供給電流に基づいて前記信号調整器の温度を推定する車載通信装置。
続きを表示(約 1,000 文字)
【請求項2】
前記車載器は、推定した前記信号調整器の温度から前記車載器の温度を推定する請求項1に記載の車載通信装置。
【請求項3】
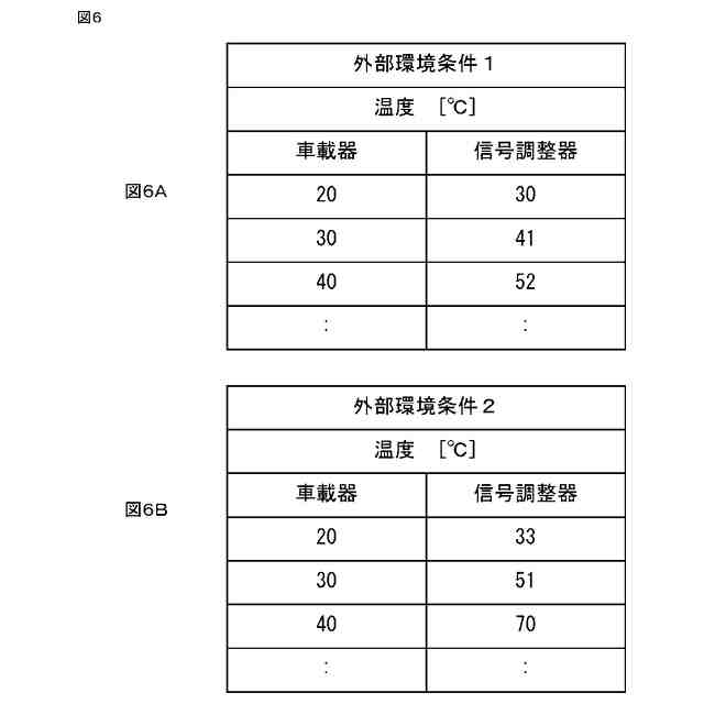
前記車載器は、外部環境条件ごとに予め測定された、前記信号調整器の温度と前記車載器の温度の関係である信号調整器温度対車載器温度を、前記外部環境条件に対応付けて信号調整器温度対車載器温度データとして記憶しており、記憶された前記信号調整器温度対車載器温度データから、現時点での外部環境条件に対応した信号調整器温度対車載器温度の関係を読み取って、読み取った信号調整器温度対車載器温度の関係から、前記推定した前記信号調整器の温度に対応した前記車載器の温度を推定する請求項2に記載の車載通信装置。
【請求項4】
前記外部環境条件は、外部環境として、少なくとも、照度、気温、走行時間を含んでいる請求項3に記載の車載通信装置。
【請求項5】
前記車載器の実際の温度を測定する車載器温度測定部を備え、前記車載器温度測定部により測定された前記車載器の温度と前記推定した前記車載器の温度との差が、予め設定された値より大きい場合に、前記信号調整器が異常であると判定する請求項1から4のいずれか1項に記載の車載通信装置。
【請求項6】
前記車載器とは別の位置に設置されているインターフェース機器の温度を、前記インターフェース機器への供給電流に基づいて推定し、推定した前記信号調整器の温度および推定した前記インターフェース機器の温度から、それぞれ前記車載器の温度を推定する請求項1、3、4のいずれか1項に記載の車載通信装置。
【請求項7】
前記車載器の実際の温度を測定する車載器温度測定部を備え、前記車載器温度測定部により測定された前記車載器の温度と、推定した前記信号調整器の温度から推定した前記車載器の温度との差が、予め設定された値より大きい場合に、
推定した前記インターフェース機器の温度から推定した前記車載器の温度と前記車載器温度測定部により測定された前記車載器の温度との差が予め設定された値以下のときは、前記信号調整器が異常であると判定し、
推定した前記インターフェース機器の温度から推定した前記車載器の温度と前記車載器温度測定部により測定された前記車載器の温度との差が予め設定された値より大きいときは、前記車載器温度測定部が異常であると判定する請求項6に記載の車載通信装置。
発明の詳細な説明
【技術分野】
【0001】
本開示は、車載通信装置に関するものである。
続きを表示(約 2,500 文字)
【背景技術】
【0002】
車車間通信では、送受信用のアンテナ近傍に信号レベルを調整する信号調整器を使用する場合がある。信号調整器の中には送受信の切り替えタイミングの制御などの為に、通常車内に設置されている車載器と制御信号をやり取りするものと、信号調整器単独で制御し制御信号を必要としないものがある。後者は車載器側と車車間通信用信号の送受信と電源の供給のみを実施するが、信号調整器に異常が発生した際に車載器に知らせることができない。異常通知の為、信号調整器に温度センサを取り付け、温度を監視することで信号調整器の異常を検知する技術が報告されている(例えば特許文献1参照)
【先行技術文献】
【特許文献】
【0003】
特開2014-232949号公報
【発明の概要】
【発明が解決しようとする課題】
【0004】
特許文献1に記載された車載通信装置の構成では、車内に配置された車載通信装置本体である車載器から離れた位置に設置される信号調整器側に温度センサが必要であり、温度情報を車載器に送信する必要がある。また温度センサを取り付けることで信号調整器が大型化する。
【0005】
本開示は、上記の課題を解決するものであり、信号調整器側に温度センサを必要とせず、信号調整器が大型化しない車載通信装置を提供することを目的とする。
【課題を解決するための手段】
【0006】
本開示の車載通信装置は、自車の内部に設置され、無線信号を送受信する車載器と、
前記自車から離れた通信対象との間で前記無線信号を送受信するためのアンテナと、
前記車載器とは温度環境が異なる位置に設置され、前記車載器と前記アンテナの間で前記無線信号の振幅を調整する信号調整器と、を備えた車載通信装置において、
前記車載器は、前記信号調整器への供給電流に基づいて前記信号調整器の温度を推定するよう構成されたものである。
【発明の効果】
【0007】
本開示の車載通信装置によれば、信号調整器側に温度センサを必要とせず、信号調整器が大型化しない車載通信装置を提供できる。
【図面の簡単な説明】
【0008】
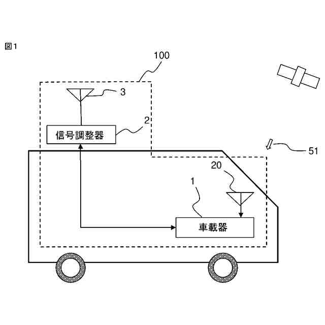
実施の形態1による車載通信装置を搭載した車両の模式図である。
実施の形態1による車載通信装置の構成を示すブロック図である。
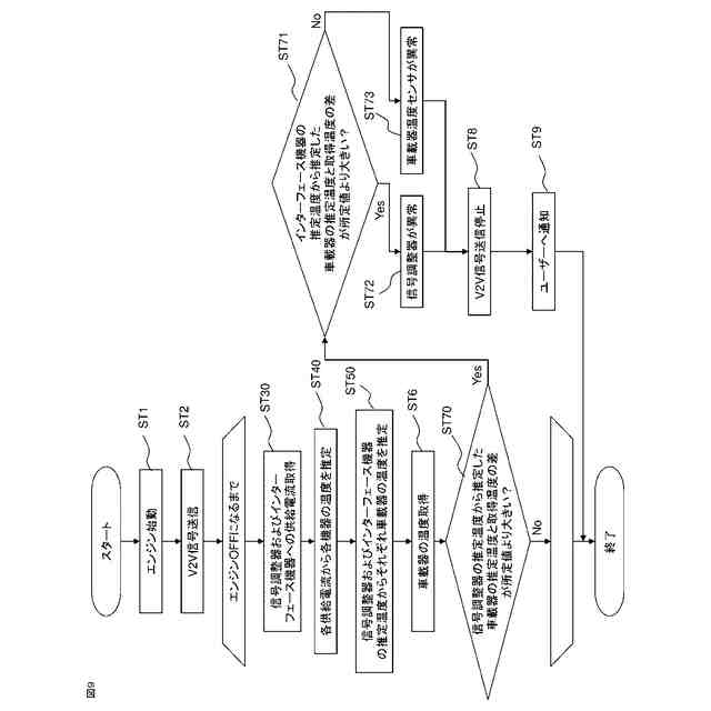
実施の形態1による車載通信装置の動作を説明するためのフロー図である。
実施の形態1による車載通信装置の温度推定部の動作を説明するためのフロー図である。
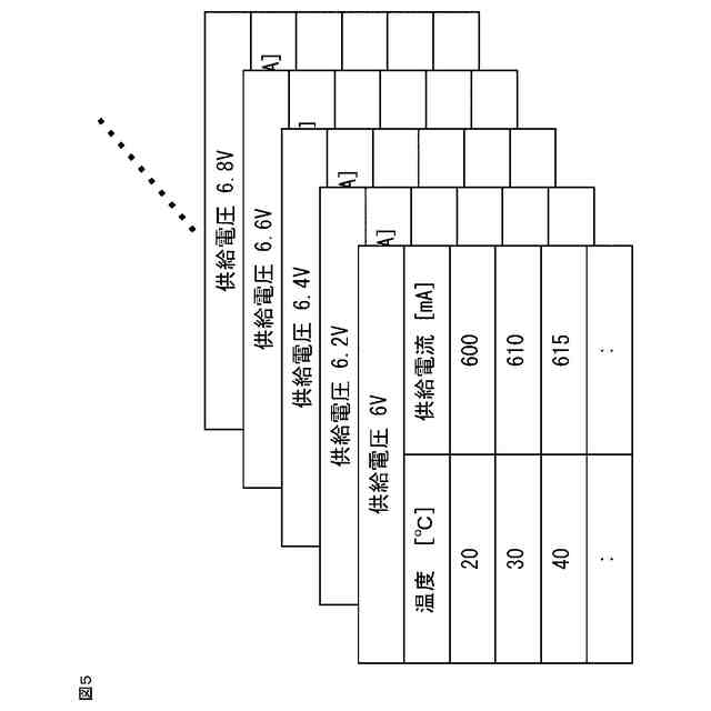
実施の形態1による車載通信装置の信号調整器の供給電流と温度の関係を記憶するデータ記憶部のデータの一例を示す図である。
実施の形態1による車載通信装置の車載器と信号調整器の温度の関係を記憶するデータ記憶部のデータの一例を示す図である。図である。
実施の形態1による車載通信装置の車載器と信号調整器の温度の関係を記憶するデータ記憶部のデータのイメージを示す図である。
実施の形態2による車載通信装置の構成を示すブロック図である。
実施の形態2による車載通信装置の動作を説明するためのフロー図である。
実施の形態2による車載通信装置の信号調整器およびインターフェース機器の供給電流と各機器の温度の関係を記憶するデータ記憶部のデータの一例を示す図である。
実施の形態2による車載通信装置の車載器と信号調整器およびインターフェース機器の温度の関係を記憶するデータ記憶部のデータのイメージを示す図である。
本願の車載器の構成の一例を示すブロック図である。
【発明を実施するための形態】
【0009】
実施の形態1.
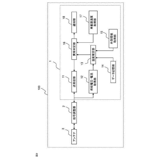
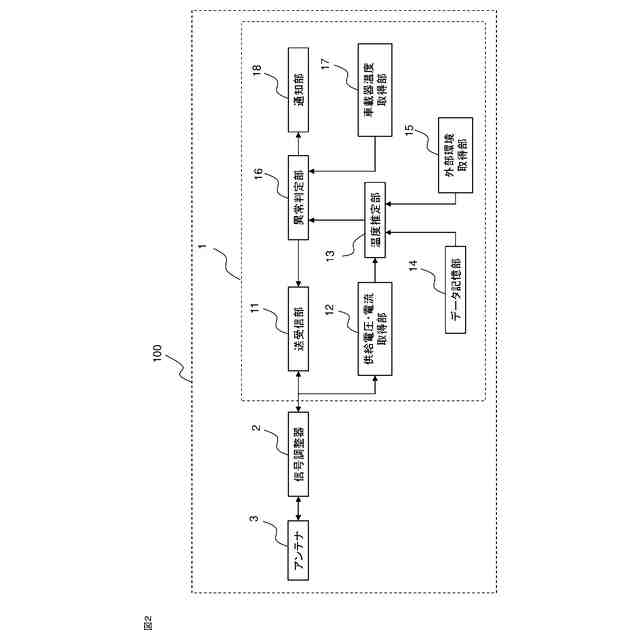
図1は、実施の形態1による車載通信装置を搭載した車両の模式図である。以下では、車載通信装置として、車車間通信用の無線信号を自車と他車の間でやり取りし、車両の情報を送受信する車車間通信用の車載通信装置を例に説明する。車載通信装置100は、メイン機器として、車内に配置される車載器1と、車外など車載器1とは温度環境が異なる位置に設置されるアンテナ3、およびアンテナ3に近い位置、すなわち車載器1とは温度環境が異なる位置には、他車との通信をより確実にするため、無線信号の振幅を調整する信号調整器2が設けられている。車車間通信の場合、自車と他車との間で同期をとる必要があり、GNSS(全地球航法衛星システム:Global Navigation Satellite System)の信号51を受信することで得られる高精度な1PPSの信号によって同期する。このため、GNSS用のアンテナ20が備えられている。GNSS用のアンテナ20は通常車内に配置される。なお、本開示の車載通信装置は、車車間通信のみならず、いわゆる路車間通信など、自車と自車から離れた通信対象との通信にも適用可能であり、同期を必要としない通信、あるいはGNSS以外の信号で同期させる場合などでは、GNSS用のアンテナ20は必須ではない。
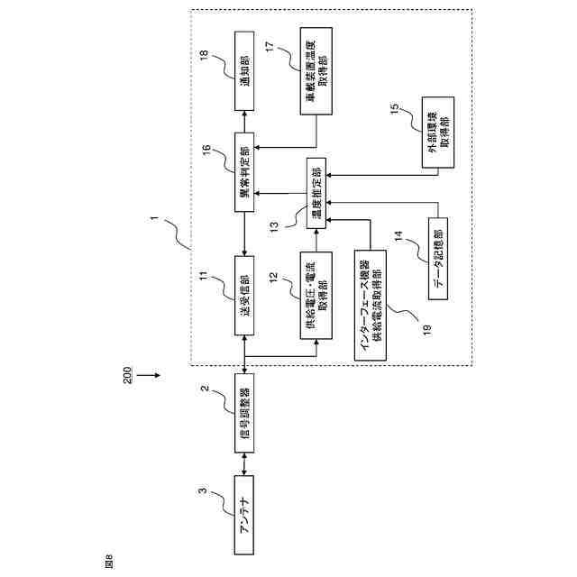
【0010】
図2は、実施の形態1による車載通信装置100の構成を示すブロック図である。車載通信装置100の主機である車載器1は、主機能として、車車間通信用の無線信号であるV2V(Vehicle to Vehicle)信号を送受信する送受信部11を備えている。送受信部11から送信するV2V信号がアンテナ3に、通常伝送線路を介して伝送され、アンテナ3から他車に送信される。また、アンテナ3で受信された他車からのV2V信号が送受信部11に伝送される。アンテナ3と送受信部11の間で伝送されるV2V信号は伝送線路の損失で振幅が減少し、またノイズなども重畳される。通信をより確実にするために、アンテナ3の直下に設置された信号調整器2によって、送信および受信されるV2V信号のレベル(振幅)を調整する。
(【0011】以降は省略されています)
この特許をJ-PlatPat(特許庁公式サイト)で参照する
関連特許
三菱電機株式会社
換気扇
13日前
三菱電機株式会社
増幅器
1か月前
三菱電機株式会社
換気扇
1か月前
三菱電機株式会社
換気扇
1か月前
三菱電機株式会社
換気扇
1か月前
三菱電機株式会社
冷蔵庫
20日前
三菱電機株式会社
冷蔵庫
1か月前
三菱電機株式会社
扇風機
1か月前
三菱電機株式会社
照明装置
1か月前
三菱電機株式会社
照明器具
14日前
三菱電機株式会社
送風装置
1日前
三菱電機株式会社
電気機器
20日前
三菱電機株式会社
換気装置
12日前
三菱電機株式会社
収集装置
1か月前
三菱電機株式会社
送風装置
1日前
三菱電機株式会社
電子機器
1か月前
三菱電機株式会社
回転電機
2か月前
三菱電機株式会社
空気調和機
1か月前
三菱電機株式会社
半導体装置
7日前
三菱電機株式会社
加熱調理器
28日前
三菱電機株式会社
半導体装置
1か月前
三菱電機株式会社
回路遮断器
28日前
三菱電機株式会社
半導体装置
20日前
三菱電機株式会社
半導体装置
5日前
三菱電機株式会社
半導体装置
7日前
三菱電機株式会社
半導体装置
2か月前
三菱電機株式会社
保護リレー
1か月前
三菱電機株式会社
冷凍冷蔵庫
5日前
三菱電機株式会社
半導体装置
1日前
三菱電機株式会社
電動送風機
12日前
三菱電機株式会社
半導体装置
1日前
三菱電機株式会社
空調システム
1か月前
三菱電機株式会社
電力変換装置
7日前
三菱電機株式会社
位置算出装置
13日前
三菱電機株式会社
車載通信装置
今日
三菱電機株式会社
点検管理装置
1か月前
続きを見る
他の特許を見る