TOP
|
特許
|
意匠
|
商標
特許ウォッチ
Twitter
他の特許を見る
10個以上の画像は省略されています。
公開番号
2025178597
公報種別
公開特許公報(A)
公開日
2025-12-09
出願番号
2024085296
出願日
2024-05-27
発明の名称
送風装置
出願人
三菱電機株式会社
代理人
個人
,
個人
,
個人
主分類
F24F
1/0047 20190101AFI20251202BHJP(加熱;レンジ;換気)
要約
【課題】天井に吊り下げる際の作業性を改善させた送風装置を提供する。
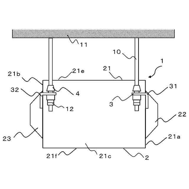
【解決手段】本開示に係る送風装置1は、送風装置本体2と、送風装置本体2に固定され、吊ボルト10に挿入される開口311aを有する吊金具3と、吊ボルト10に取り付けられ、吊金具3が取り付けられる取付部材4と、を備え、取付部材4は、鉛直方向上側における第1外径よりも鉛直方向下側における第2外径が大きく、弾性変形可能な第1の部材41と、第1の部材41より下方に形成され、第2外径よりも小さい第3外径を有し、吊金具3が取り付けられる第2の部材42と、第2の部材42より下方に形成され、第3外径よりも大きい第4外径を有する第3の部材43と、を有する。
【選択図】 図1
特許請求の範囲
【請求項1】
天井から吊ボルトによって吊り下げられた送風装置であって、
送風装置本体と、
前記送風装置本体に固定され、前記吊ボルトに挿入される開口を有する吊金具と、
前記吊ボルトに取り付けられ、前記吊金具が取り付けられる取付部材と、
を備え、
前記取付部材は、
鉛直方向上側における第1外径よりも鉛直方向下側における第2外径が大きく、弾性変形可能な第1の部材と、
前記第1の部材より下方に形成され、前記第2外径よりも小さい第3外径を有し、前記吊金具が取り付けられる第2の部材と、
前記第2の部材より下方に形成され、前記第3外径よりも大きい第4外径を有する第3の部材と、
を有する送風装置。
続きを表示(約 210 文字)
【請求項2】
前記吊金具の前記開口の幅は、前記第1外径よりも大きく、前記第2外径よりも小さい請求項1に記載の送風装置。
【請求項3】
前記第2の部材および前記第3の部材は、弾性変形可能である請求項1または2に記載の送風装置。
【請求項4】
前記吊金具の前記開口は切り込みであり、
前記吊金具と前記取付部材とを固定する固定部材を備える
請求項1または2に記載の送風装置。
発明の詳細な説明
【技術分野】
【0001】
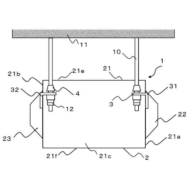
本開示は、天井に吊り下げられる送風装置に関する。
続きを表示(約 1,800 文字)
【背景技術】
【0002】
従来、換気装置を吊り下げるための天吊構造として、特許文献1に記載された天吊構造が知られている。
【0003】
特許文献1に記載の発明は、上から第1ナット、第1ワッシャ、第1ゴムワッシャ、第2ゴムワッシャ、第2ワッシャ、第2ナットの順で吊ボルトに取り付け、換気装置に固定された吊金具を第1ゴムワッシャと第2ゴムワッシャの間に挿入する。そして、第1ナットを締めることにより吊金具を吊ボルトに固定する。
【先行技術文献】
【特許文献】
【0004】
特開2012-225555号公報
【発明の概要】
【発明が解決しようとする課題】
【0005】
しかしながら、上記特許文献1に記載の技術では、吊金具を固定する際に、工具を用いて第1ナットを締める必要があり、例えば天井裏などの狭い空間での作業では、作業性が悪いという問題があった。
【0006】
本開示は、上記のような問題点を解決するためになされたもので、天井に吊り下げる際の作業性を改善させた送風装置を提供することを目的とする。
【課題を解決するための手段】
【0007】
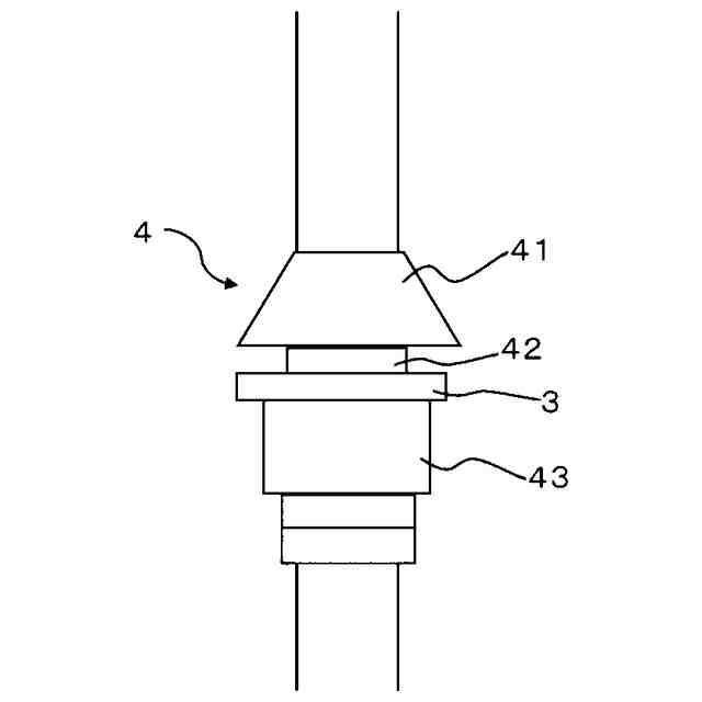
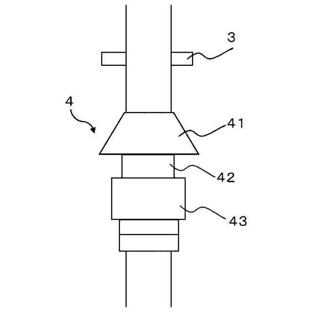
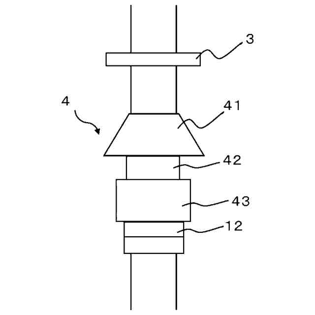
本開示に係る送風装置は、天井から吊ボルトによって吊り下げられた送風装置であって、送風装置本体と、送風装置本体に固定され、吊ボルトに挿入される開口を有する吊金具と、吊ボルトに取り付けられ、吊金具が取り付けられる取付部材と、を備え、鉛直方向上側における第1外径よりも鉛直方向下側における第2外径が大きく、弾性変形可能な第1の部材と、第1の部材より下方に形成され、第2外径よりも小さい第3外径を有し、吊金具が取り付けられる第2の部材と、第2の部材より下方に形成され、第3外径よりも大きい第4外径を有する第3の部材と、を有する。
【発明の効果】
【0008】
本開示に係る送風装置によれば、取付部材の第1の部材を弾性変形させて吊金具を第2の部材まで押し下げることで吊金具を固定できるため、工具の使用頻度を削減でき、吊ボルトへの吊り下げ作業の作業性を改善することができる。
【図面の簡単な説明】
【0009】
本開示の実施の形態1に係る送風装置1の設置状態を示す図。
本開示の実施の形態1に係る第1の吊金具31を上方から見た図。
本開示の実施の形態1に係る第1の吊金具31を送風装置本体2の第2の側面21bの側から見た図。
本開示の実施の形態1に係る取付部材4の拡大図で、吊金具3を取付部材4に取り付ける前の状態を示す図。
本開示の実施の形態1に係る取付部材4の拡大図で、吊金具3を取付部材4に取り付けた後の状態を示す図。
本開示の実施の形態2に係る第1の吊金具31を上方から見た図。
本開示の実施の形態2に係る取付部材4の拡大図で、吊金具3を取付部材4に取り付ける前の状態を示す図。
本開示の実施の形態2に係る取付部材4の拡大図で、吊金具3を取付部材4に取り付けた後の状態を示す図。
本開示の実施の形態3に係る第1の吊金具31を上方から見た図。
本開示の実施の形態3に係る第1の吊金具31を送風装置本体2の第2の側面21bの側から見た図。
本開示の実施の形態3に係る取付部材4の拡大図で、吊金具3を取付部材4に取り付ける前の状態を示す図。
本開示の実施の形態3に係る取付部材4の拡大図で、吊金具3を取付部材4に取り付けた後の状態を示す図。
本開示の実施の形態4に係る第1の吊金具31を上方から見た図。
本開示の実施の形態4に係る取付部材4の拡大図で、吊金具3を取付部材4に取り付ける前の状態を示す図。
本開示の実施の形態4に係る取付部材4の拡大図で、吊金具3を取付部材4に取り付けた後の状態を示す図。
【発明を実施するための形態】
【0010】
以下では、本開示に係る送風装置の一例を、図面に基づいて詳細に説明する。なお、各図において共通する要素には、同一の符号を付して、重複する説明を省略する。また、この実施の形態により本開示が限定されるものではない。
(【0011】以降は省略されています)
この特許をJ-PlatPat(特許庁公式サイト)で参照する
関連特許
三菱電機株式会社
換気扇
1か月前
三菱電機株式会社
増幅器
1か月前
三菱電機株式会社
冷蔵庫
19日前
三菱電機株式会社
冷蔵庫
1か月前
三菱電機株式会社
扇風機
1か月前
三菱電機株式会社
換気扇
12日前
三菱電機株式会社
換気扇
1か月前
三菱電機株式会社
換気扇
1か月前
三菱電機株式会社
照明器具
13日前
三菱電機株式会社
送風装置
今日
三菱電機株式会社
電気機器
19日前
三菱電機株式会社
換気装置
11日前
三菱電機株式会社
収集装置
1か月前
三菱電機株式会社
照明装置
1か月前
三菱電機株式会社
電子機器
1か月前
三菱電機株式会社
送風装置
今日
三菱電機株式会社
半導体装置
今日
三菱電機株式会社
半導体装置
2か月前
三菱電機株式会社
電動送風機
11日前
三菱電機株式会社
半導体装置
今日
三菱電機株式会社
半導体装置
19日前
三菱電機株式会社
空気調和機
1か月前
三菱電機株式会社
回路遮断器
27日前
三菱電機株式会社
加熱調理器
27日前
三菱電機株式会社
半導体装置
6日前
三菱電機株式会社
半導体装置
6日前
三菱電機株式会社
半導体装置
1か月前
三菱電機株式会社
保護リレー
1か月前
三菱電機株式会社
半導体装置
4日前
三菱電機株式会社
冷凍冷蔵庫
4日前
三菱電機株式会社
位置算出装置
12日前
三菱電機株式会社
空調システム
1か月前
三菱電機株式会社
貯湯式給湯機
1か月前
三菱電機株式会社
調理システム
1か月前
三菱電機株式会社
貯湯式給湯機
1か月前
三菱電機株式会社
炊飯システム
1か月前
続きを見る
他の特許を見る