TOP
|
特許
|
意匠
|
商標
特許ウォッチ
Twitter
他の特許を見る
10個以上の画像は省略されています。
公開番号
2025178701
公報種別
公開特許公報(A)
公開日
2025-12-09
出願番号
2024085469
出願日
2024-05-27
発明の名称
半導体装置
出願人
三菱電機株式会社
代理人
弁理士法人高田・高橋国際特許事務所
主分類
H10D
84/80 20250101AFI20251202BHJP()
要約
【課題】保護ダイオードのESD耐量を向上させることができる半導体装置を得ることを目的とする。
【解決手段】本開示に係る半導体装置は、半導体基板と、前記半導体基板の上に設けられた温度センスダイオードと、前記半導体基板の上に設けられ、前記温度センスダイオードと逆並列に接続された保護ダイオードと、を備え、前記温度センスダイオードは、p型の半導体層である第1アノード層と、平面視で前記第1アノード層と隣接しn型の半導体層である第1カソード層と、を有し、前記保護ダイオードは、p型の半導体層である第2アノード層と、平面視で前記第2アノード層と隣接しn型の半導体層である第2カソード層と、を有し、前記保護ダイオードでの前記第2アノード層と前記第2カソード層のpn接合面積は、前記温度センスダイオードでの前記第1アノード層と前記第1カソード層とのpn接合面積よりも大きい。
【選択図】図1
特許請求の範囲
【請求項1】
半導体基板と、
前記半導体基板の上に設けられた温度センスダイオードと、
前記半導体基板の上に設けられ、前記温度センスダイオードと逆並列に接続された保護ダイオードと、
を備え、
前記温度センスダイオードは、p型の半導体層である第1アノード層と、平面視で前記第1アノード層と隣接しn型の半導体層である第1カソード層と、を有し、
前記保護ダイオードは、p型の半導体層である第2アノード層と、平面視で前記第2アノード層と隣接しn型の半導体層である第2カソード層と、を有し、
前記保護ダイオードでの前記第2アノード層と前記第2カソード層のpn接合面積は、前記温度センスダイオードでの前記第1アノード層と前記第1カソード層とのpn接合面積よりも大きいことを特徴とする半導体装置。
続きを表示(約 1,200 文字)
【請求項2】
平面視で、前記保護ダイオードでの前記第2アノード層と前記第2カソード層のpn接合長は、前記温度センスダイオードでの前記第1アノード層と前記第1カソード層とのpn接合長よりも長いことを特徴とする請求項1に記載の半導体装置。
【請求項3】
前記保護ダイオードは前記温度センスダイオードよりも厚いことを特徴とする請求項1に記載の半導体装置。
【請求項4】
並列に接続された複数の前記保護ダイオードを備えることを特徴とする請求項1から3の何れか1項に記載の半導体装置。
【請求項5】
直列に接続された複数の前記温度センスダイオードと、
1つの前記保護ダイオード、または直列に接続された複数の前記保護ダイオードと、
を備え、
前記複数の温度センスダイオードと、前記1つまたは前記複数の保護ダイオードが逆並列に接続され、
前記保護ダイオードは、前記温度センスダイオードよりも少ないことを特徴とする請求項1から3の何れか1項に記載の半導体装置。
【請求項6】
1つの前記温度センスダイオード、または直列に接続された複数の前記温度センスダイオードと、
直列に接続された複数の前記保護ダイオードと、
を備え、
前記1つまたは前記複数の温度センスダイオードと、前記複数の保護ダイオードが逆並列に接続され、
前記保護ダイオードは、前記温度センスダイオードよりも多いことを特徴とする請求項1から3の何れか1項に記載の半導体装置。
【請求項7】
前記温度センスダイオードの前記第1アノード層は、
第1高濃度アノード層と、
前記第1高濃度アノード層と前記第1カソード層との間に設けられた第1低濃度アノード層と、
を有することを特徴とする請求項1から3の何れか1項に記載の半導体装置。
【請求項8】
前記温度センスダイオードの前記第1カソード層は、
第1高濃度カソード層と、
前記第1高濃度カソード層と前記第1アノード層との間に設けられた第1低濃度カソード層と、
を有することを特徴とする請求項1から3の何れか1項に記載の半導体装置。
【請求項9】
前記保護ダイオードの前記第2アノード層は、
第2高濃度アノード層と、
前記第2高濃度アノード層と前記第2カソード層との間に設けられた第2低濃度アノード層と、
を有することを特徴とする請求項1から3の何れか1項に記載の半導体装置。
【請求項10】
前記保護ダイオードの前記第2カソード層は、
第2高濃度カソード層と、
前記第2高濃度カソード層と前記第2アノード層との間に設けられた第2低濃度カソード層と、
を有することを特徴とする請求項1から3の何れか1項に記載の半導体装置。
(【請求項11】以降は省略されています)
発明の詳細な説明
【技術分野】
【0001】
本開示は、半導体装置に関する。
続きを表示(約 2,400 文字)
【背景技術】
【0002】
特許文献1には保護ダイオード部と温度センス部を備える半導体装置が開示されている。保護ダイオード部は、温度センス部のダイオードのPN接合の方向とは、逆並列のPN接合の方向を有するダイオードを含む。保護ダイオード部のダイオードは、PN接合の方向を除き、温度センス部のダイオードと同様の設計を有していてもよい。保護ダイオード部は、静電気等により温度センス部に対して逆方向に過電圧又は過電流が流入した際に破壊することを防止する。
【先行技術文献】
【特許文献】
【0003】
国際公開2021/059881号
【発明の概要】
【発明が解決しようとする課題】
【0004】
特許文献1に示されるように、半導体チップに搭載される温度センスダイオードの保護を目的として、温度センスダイオードに対して逆並列で保護ダイオードを設けることがある。温度センスダイオードの特性はポリシリコンの厚み、または拡散層の濃度で調整できる。ここで、ポリシリコンを薄くしたり、拡散層濃度を下げた場合、保護ダイオードのパラメータも追従する。このため、適切な設計をしなければ、電流密度増加によるESD(Electro-Static Discharge)耐量が低下するおそれがあった。
【0005】
本開示は、上述の課題を解決するためになされたもので、保護ダイオードのESD耐量を向上させることができる半導体装置を得ることを目的とする。
【課題を解決するための手段】
【0006】
本開示に係る半導体装置は、半導体基板と、前記半導体基板の上に設けられた温度センスダイオードと、前記半導体基板の上に設けられ、前記温度センスダイオードと逆並列に接続された保護ダイオードと、を備え、前記温度センスダイオードは、p型の半導体層である第1アノード層と、平面視で前記第1アノード層と隣接しn型の半導体層である第1カソード層と、を有し、前記保護ダイオードは、p型の半導体層である第2アノード層と、平面視で前記第2アノード層と隣接しn型の半導体層である第2カソード層と、を有し、前記保護ダイオードでの前記第2アノード層と前記第2カソード層のpn接合面積は、前記温度センスダイオードでの前記第1アノード層と前記第1カソード層とのpn接合面積よりも大きい。
【発明の効果】
【0007】
本開示に係る半導体装置では、保護ダイオードでの第2アノード層と第2カソード層のpn接合面積は、温度センスダイオードでの第1アノード層と第1カソード層とのpn接合面積よりも大きい。このため、保護ダイオードのESD耐量を向上させることができる。
【図面の簡単な説明】
【0008】
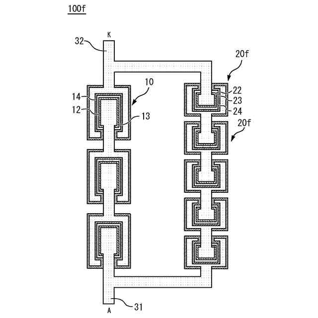
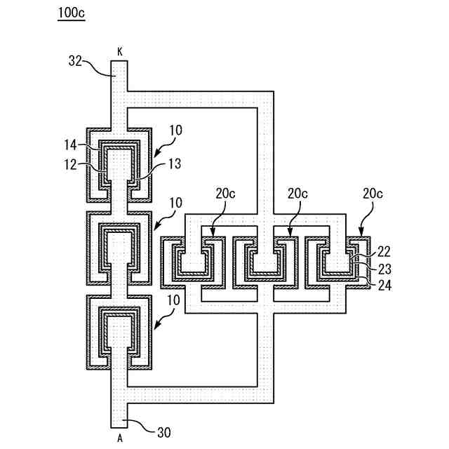
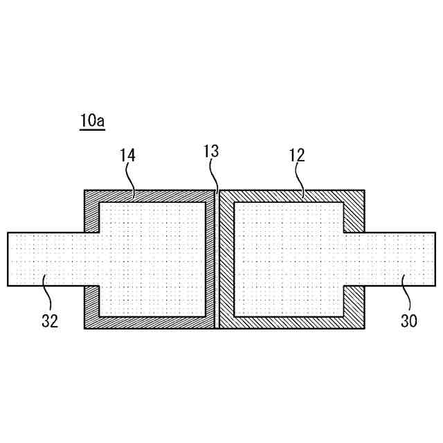
実施の形態1に係る温度センスダイオードおよび保護ダイオードの平面図である。
実施の形態1に係る温度センスダイオードおよび保護ダイオードの断面図である。
実施の形態1の変形例に係る温度センスダイオードの平面図である。
実施の形態2に係る温度センスダイオードおよび保護ダイオードの断面図である。
実施の形態3に係る温度センスダイオードおよび保護ダイオードの平面図である。
実施の形態4の比較例に係る半導体装置の平面図である。
実施の形態4に係る半導体装置の平面図である。
実施の形態5に係る温度センスダイオードおよび保護ダイオードの平面図である。
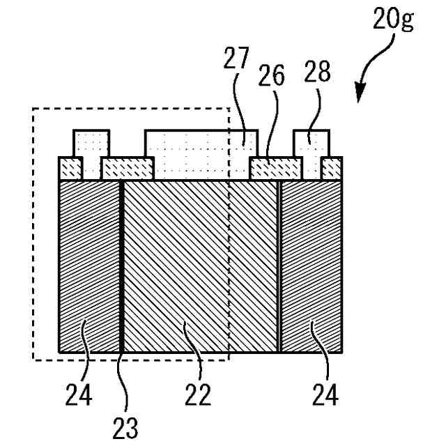
実施の形態6に係る保護ダイオードの断面図である。
図9の拡大図である。
実施の形態7に係る保護ダイオードの平面図である。
実施の形態7に係る保護ダイオードの断面図である。
実施の形態8に係る温度センスダイオードおよび保護ダイオードの平面図である。
実施の形態9に係る保護ダイオードの平面図である。
実施の形態9の変形例に係る保護ダイオードの平面図である。
実施の形態9の変形例に係る保護ダイオードの平面図である。
実施の形態9の変形例に係る保護ダイオードの平面図である。
実施の形態9の変形例に係る保護ダイオードの平面図である。
実施の形態9の変形例に係る保護ダイオードの平面図である。
実施の形態9の変形例に係る保護ダイオードの平面図である。
実施の形態9の変形例に係る保護ダイオードの平面図である。
実施の形態10に係る半導体装置の平面図である。
実施の形態12に係る半導体装置の平面図である。
実施の形態13に係る半導体装置の平面図である。
【発明を実施するための形態】
【0009】
各実施の形態に係る半導体装置について図面を参照して説明する。同じまたは対応する構成要素には同じ符号を付し、説明の繰り返しを省略する場合がある。
【0010】
実施の形態1.
図1は、実施の形態1に係る温度センスダイオード10および保護ダイオード20の平面図である。図2は、実施の形態1に係る温度センスダイオード10および保護ダイオード20の断面図である。本実施の形態の半導体装置100は、半導体基板40と、半導体基板40の上に設けられた温度センスダイオード10と、半導体基板40の上に設けられ、温度センスダイオード10と逆並列に接続された保護ダイオード20とを備える。半導体装置100は、例えばIGBT(Insulated Gate Bipolar Transistor)である。
(【0011】以降は省略されています)
この特許をJ-PlatPat(特許庁公式サイト)で参照する
関連特許
三菱電機株式会社
換気扇
12日前
三菱電機株式会社
冷蔵庫
1か月前
三菱電機株式会社
換気扇
1か月前
三菱電機株式会社
増幅器
1か月前
三菱電機株式会社
冷蔵庫
19日前
三菱電機株式会社
扇風機
1か月前
三菱電機株式会社
換気扇
1か月前
三菱電機株式会社
換気扇
1か月前
三菱電機株式会社
換気装置
11日前
三菱電機株式会社
照明装置
1か月前
三菱電機株式会社
送風装置
今日
三菱電機株式会社
電子機器
1か月前
三菱電機株式会社
照明器具
13日前
三菱電機株式会社
回転電機
2か月前
三菱電機株式会社
電気機器
19日前
三菱電機株式会社
送風装置
今日
三菱電機株式会社
収集装置
1か月前
三菱電機株式会社
半導体装置
6日前
三菱電機株式会社
半導体装置
6日前
三菱電機株式会社
保護リレー
1か月前
三菱電機株式会社
空気調和機
1か月前
三菱電機株式会社
電動送風機
11日前
三菱電機株式会社
回路遮断器
27日前
三菱電機株式会社
半導体装置
1か月前
三菱電機株式会社
加熱調理器
27日前
三菱電機株式会社
半導体装置
19日前
三菱電機株式会社
半導体装置
4日前
三菱電機株式会社
冷凍冷蔵庫
4日前
三菱電機株式会社
半導体装置
2か月前
三菱電機株式会社
半導体装置
今日
三菱電機株式会社
半導体装置
今日
三菱電機株式会社
貯湯式給湯機
1か月前
三菱電機株式会社
点検管理装置
1か月前
三菱電機株式会社
ねじ締め装置
1か月前
三菱電機株式会社
調理システム
1か月前
三菱電機株式会社
空調システム
1か月前
続きを見る
他の特許を見る