TOP
|
特許
|
意匠
|
商標
特許ウォッチ
Twitter
他の特許を見る
公開番号
2025159758
公報種別
公開特許公報(A)
公開日
2025-10-22
出願番号
2024062489
出願日
2024-04-09
発明の名称
車両管理方法及び車両管理システム
出願人
日産自動車株式会社
代理人
個人
,
個人
,
個人
主分類
E05B
49/00 20060101AFI20251015BHJP(錠;鍵;窓または戸の付属品;金庫)
要約
【課題】車両の利用者が、任意のドアの近傍でこのドアの解錠操作を行うことが可能とする車両管理方法及び車両管理システムを提供する。
【解決手段】車両管理システム1及び車両管理方法は、車両の複数のドアそれぞれに設置された複数のドアロック装置11、21、31と、複数のドアそれぞれに設置され、利用者の認証を行う認証装置としての認証部131、231、331とを備える。複数の認証装置のうち、利用者の認証に成功した第1認証装置は、この第1認証装置が設置されたドアのドアロック装置を解錠する。複数の認証装置のうち、第1認証装置以外の残りの認証装置は、この残りの認証装置が設置されたドアのドアロック装置の施錠を継続する。
【選択図】図1
特許請求の範囲
【請求項1】
車両の複数のドアそれぞれに設置された複数のドアロック装置と、
前記複数のドアそれぞれに設置され、利用者の認証を行う複数の認証装置と、を備えた車両管理システム内の前記複数の認証装置のうち、
利用者の認証に成功した第1認証装置が、前記第1認証装置が設置されたドアの前記ドアロック装置を解錠し、
前記第1認証装置以外の残りの認証装置が、前記残りの認証装置に設置されたドアの前記ドアロック装置の施錠を継続する、車両管理方法。
続きを表示(約 1,100 文字)
【請求項2】
前記車両管理システムは、利用者が行った所定の操作を検知すると、前記複数の認証装置を起動させる起動スイッチをさらに備える、請求項1に記載の車両管理方法。
【請求項3】
前記起動スイッチは、前記複数の認証装置それぞれに関連付けられて複数設置され、
複数の前記起動スイッチはそれぞれ、利用者が行った所定の操作を検知すると、自起動スイッチに関連付けられた認証装置を起動させる、請求項2に記載の車両管理方法。
【請求項4】
複数の前記起動スイッチはそれぞれ、利用者が行った所定の操作を検知すると、自起動スイッチの位置に最も近い認証装置を、自起動スイッチに関連付けられた認証装置として認識して起動させる、請求項3に記載の車両管理方法。
【請求項5】
車両管理システムは、前記起動スイッチにより前記認証装置の少なくともいずれかが起動されると、前記車両内のいずれかの機器の動作状態を変更させる、請求項2に記載の車両管理方法。
【請求項6】
複数の前記認証装置はそれぞれ、利用者が提示した認証用情報を、近距離無線通信を介して読み取る読取装置を有し、前記読取装置が読み取った認証用情報を用いて認証処理を行う、請求項1に記載の車両管理方法。
【請求項7】
前記第1認証装置は、前記複数のドアロック装置のうち、前記第1認証装置から最も距離が近いドアロック装置を、前記第1認証装置が設置されたドアのドアロック装置として認識して解錠させる、請求項1に記載の車両管理方法。
【請求項8】
前記認証用情報には、解錠対象のドアを識別するドア識別情報が含まれ、
前記第1認証装置は、自第1認証装置内の読取装置が読み取った認証用情報に含まれるドア識別情報で識別されるドアが、自第1認証装置が設置されたドアと一致すると判断すると、自第1認証装置が設置されたドアの前記ドアロック装置を解錠する、請求項6に記載の車両管理方法。
【請求項9】
車両の複数のドアそれぞれに設置された複数のドアロック装置と、
前記複数のドアそれぞれに設置され、利用者の認証を行う複数の認証装置と、を備え、
前記複数の認証装置のうち、利用者の認証に成功した第1認証装置は、前記第1認証装置が設置されたドアの前記ドアロック装置を解錠し、
前記複数の認証装置のうち、前記第1認証装置以外の残りの認証装置は、前記残りの認証装置が設置されたドアの前記ドアロック装置の施錠を継続する、車両管理システム。
発明の詳細な説明
【技術分野】
【0001】
本発明は、車両管理方法及び車両管理システムに関するものである。
続きを表示(約 1,200 文字)
【背景技術】
【0002】
車両には車体の左右側面および背面など複数箇所にドアが設置され、それぞれにドアロック装置が設置されている。利用者が車両を利用する際には、車両の所定のドアロック装置、例えば運転席に近い前方のドアのドアロック装置を解錠させる操作を行うことで、車両内の全ドアのドアロック装置を解錠させる。
【先行技術文献】
【特許文献】
【0003】
特開2004-190381号公報
【発明の概要】
【発明が解決しようとする課題】
【0004】
車両を利用する際に、解錠操作を行う位置と利用者が開扉させたいドアの位置とが離れている場合、利用者は解錠操作を行った後に開扉させたいドアに移動しなければならない。例えば、車両を運転する目的ではなく、トランクに荷物を搬入する目的で利用する場合には、利用者はまず車両前方でドアロック装置の解錠操作を行い、その後車両後方に移動して、荷物を搬入するためにトランクのバックドアを開扉させる。
【0005】
この場合、解錠操作をする位置から開扉させるドアまでの移動時間があることにより、荷物の搬入作業に時間を要するという問題があった。
【0006】
本発明は、上記課題に鑑みて成されたものであり、その目的は、車両の利用者が、任意のドアの近傍でこのドアの解錠操作を行うことが可能とする車両管理方法及び車両管理システムを提供することである。
【課題を解決するための手段】
【0007】
本発明の一態様に係わる車両管理方法は、車両の複数のドアそれぞれに設置された複数のドアロック装置と、複数のドアそれぞれに設置され、利用者の認証を行う複数の認証装置と、を備えた車両管理システム内の複数の認証装置が実行する。複数の認証装置のうち、利用者の認証に成功した第1認証装置は、この第1認証装置が設置されたドアのドアロック装置を解錠する。複数の認証装置のうち、第1認証装置以外の残りの認証装置は、残りの認証装置が設置されたドアのドアロック装置の施錠を継続する。
【発明の効果】
【0008】
本発明の一態様によれば、車両の利用者が、任意のドアの近傍でこのドアの解錠操作を行うことができる。
【図面の簡単な説明】
【0009】
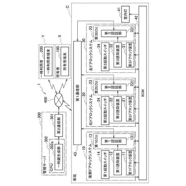
図1は、一実施形態に係わる車両管理システムの構成を示すブロック図である。
図2は、一実施形態に係わる車両管理システムが実行する一時鍵発行処理を示すシーケンス図である。
図3は、一実施形態に係わる車両管理システムが実行するロック解錠処理を示すシーケンス図である。
【発明を実施するための形態】
【0010】
図面を参照して、実施形態を説明する。本実施形態では、所有者Xが所有する車両Cを、一時的な利用を許可された配達作業員等の一時利用者Yが利用する場合を例に、説明する。
(【0011】以降は省略されています)
この特許をJ-PlatPat(特許庁公式サイト)で参照する
関連特許
日産自動車株式会社
電子機器
1日前
日産自動車株式会社
内燃機関
14日前
日産自動車株式会社
ロータシャフト
9日前
日産自動車株式会社
ロータシャフト
9日前
日産自動車株式会社
電池モジュール
15日前
日産自動車株式会社
車両用排気部構造
14日前
日産自動車株式会社
リチウム二次電池
14日前
日産自動車株式会社
エアレスタイヤ構造
1日前
日産自動車株式会社
情報提供方法及び情報提供装置
1日前
日産自動車株式会社
物体検出方法、及び物体検出装置
14日前
日産自動車株式会社
衝突回避方法、及び衝突回避装置
14日前
日産自動車株式会社
楽曲情報共有方法及び楽曲情報共有装置
14日前
日産自動車株式会社
車両の発進制御方法、車両の発進制御装置
14日前
日産自動車株式会社
内燃機関の制御方法及び内燃機関の制御装置
14日前
日産自動車株式会社
ターボチャージャの潤滑油吸い出し抑制方法および装置
14日前
日産自動車株式会社
固体酸化物形燃料電池セル、固体酸化物形燃料電池セルの製造方法、及び固体酸化物形電解セル
14日前
個人
物品保管箱
3か月前
個人
防犯用ドア装置
3か月前
個人
ピンシリンダー錠。
4か月前
株式会社ベスト
軸釣装置
17日前
個人
顔認証による入室システム
4か月前
個人
二重ロック機能付小物入れ
3か月前
個人
ポスト機能付き手提げ金庫
2か月前
株式会社ソリック
ドア装置
25日前
三協立山株式会社
開口部装置
2か月前
ミサワホーム株式会社
錠受具
4か月前
株式会社アルファ
電気錠
3か月前
リョービ株式会社
ドアクローザ
3か月前
リョービ株式会社
ドアクローザ
3か月前
個人
無人貸金庫システム
1か月前
株式会社ベスト
扉及び個室
1か月前
株式会社セリュール
電子錠、電気錠装置
9日前
株式会社セリュール
電子錠、電気錠装置
9日前
積水ハウス株式会社
引き戸
1か月前
株式会社榮伸
カバン蓋の係止装置
3か月前
積水ハウス株式会社
引き戸
2か月前
続きを見る
他の特許を見る