TOP
|
特許
|
意匠
|
商標
特許ウォッチ
Twitter
他の特許を見る
公開番号
2025177299
公報種別
公開特許公報(A)
公開日
2025-12-05
出願番号
2024083976
出願日
2024-05-23
発明の名称
ガス発生器
出願人
日本化薬株式会社
代理人
弁理士法人深見特許事務所
主分類
B60R
21/264 20060101AFI20251128BHJP(車両一般)
要約
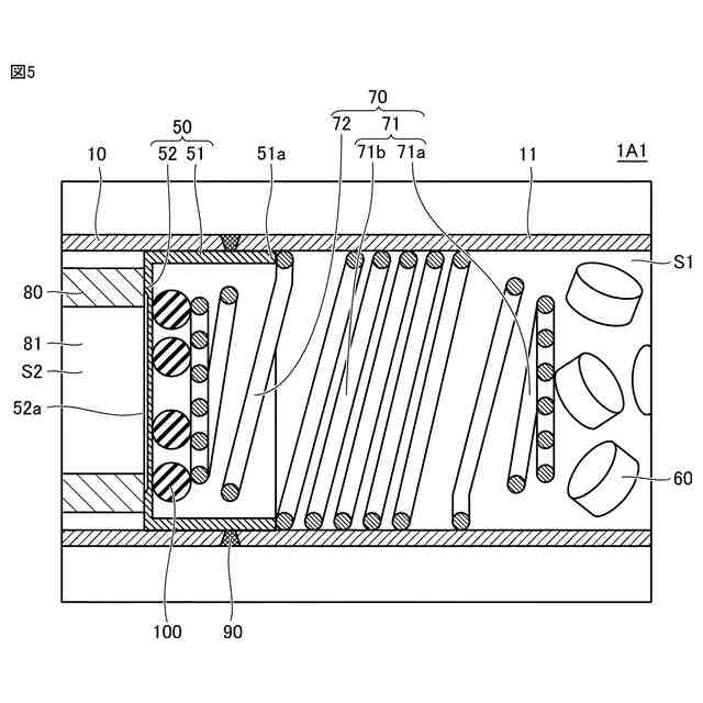
【課題】収容物の破損を未然に防止することで耐久性の向上が図られたガス発生器を提供する。
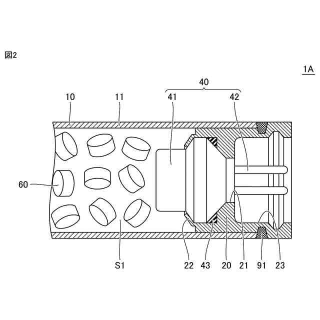
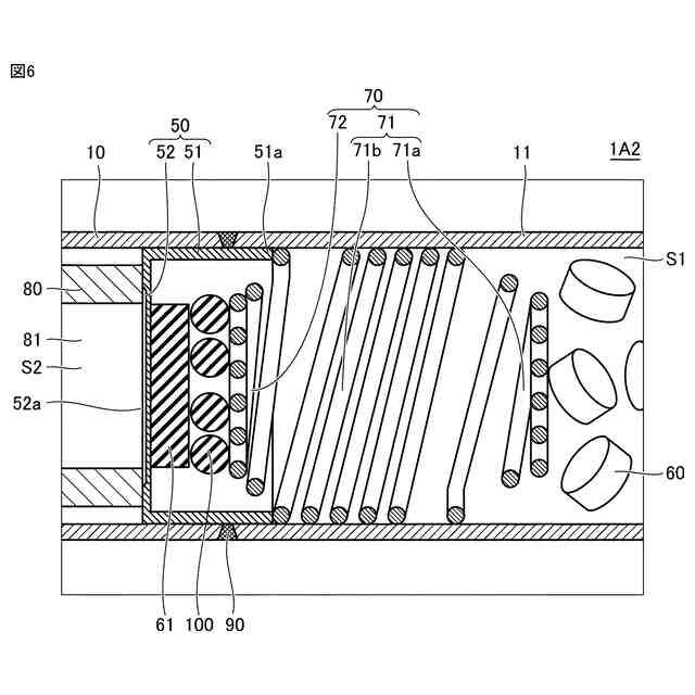
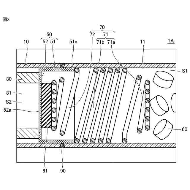
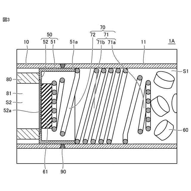
【解決手段】ガス発生器1Aは、周壁部11を含むハウジングと、第1および第2収容要素60,61と、これらの間に圧縮されて介装された弾性体70と、第1壁面と、第2壁面52とを備える。弾性体70は、連続して設けられる螺旋状の第1および第2弾性部71,72を含む。第1および第2弾性部71,72は、それぞれ第1および第2収容要素60,61に接触する。第1収容要素60は第1壁面と第1弾性部71とに、第2収容要素61は第2壁面52と第2弾性部72とにそれぞれ挟み込まれてハウジング内部に固定される。ガス発生器1Aは、第1弾性部71の第2収容要素61側の端部が当接することで第1弾性部71の第2収容要素61側への移動を制限するストッパ部51aを備える。
【選択図】図3
特許請求の範囲
【請求項1】
軸方向の一端部および他端部を有する筒状の周壁部を含むハウジングと、
前記ハウジングの内部に設けられた第1収容要素と、
前記ハウジングの内部に設けられ、前記第1収容要素よりも前記他端部側に位置する第2収容要素と、
前記ハウジングの内部に設けられ、前記第1収容要素および前記第2収容要素の間に圧縮された状態で介装された弾性体と、
前記第1収容要素から見て前記他端部側とは反対側に位置し、前記他端部側を向く第1壁面と、
前記第2収容要素から見て前記一端部側とは反対側に位置し、前記一端部側を向く第2壁面とを備え、
前記弾性体は、前記第1収容要素に接触する螺旋状の第1弾性部と、当該第1弾性部に連続して設けられ、当該第1弾性部から見て前記第1収容要素側とは反対側に位置するとともに前記第2収容要素に接触する螺旋状の第2弾性部とを有し、
前記第1収容要素は、前記第1壁面と前記第1弾性部とによって挟み込まれることにより、前記ハウジングの内部に固定され、
前記第2収容要素は、前記第2壁面と前記第2弾性部とによって挟み込まれることにより、前記ハウジングの内部に固定され、
前記第1弾性部の前記第2収容要素側の端部が当接することにより、前記第1弾性部の前記第2収容要素側に向けた移動を制限するストッパ部をさらに備えている、ガス発生器。
続きを表示(約 690 文字)
【請求項2】
前記一端部に組付けられた点火器と、
ガス発生剤を収容可能なガス発生剤収容室が前記一端部側に位置するとともに、フィルタが配置されたフィルタ室が前記他端部側に位置するように、前記ハウジングの内部の空間を前記周壁部の前記軸方向に仕切る仕切り部材とをさらに備え、
前記仕切り部材は、前記周壁部の内周面に沿って延在する環状壁部と、前記環状壁部の軸方向の前記他端部側の端部を閉塞する隔壁部とを有し、
前記第1壁面の少なくとも一部が、前記点火器によって構成され、
前記第2壁面の少なくとも一部が、前記隔壁部によって構成され、
前記ストッパ部が、前記環状壁部の前記軸方向の前記一端部側の端部によって構成されている、請求項1に記載のガス発生器。
【請求項3】
前記弾性体が、金属線材が巻き回されてなるコイルバネによって構成され、
前記周壁部の前記軸方向に沿って見た場合における前記第1弾性部の外形の大きさが、前記周壁部の前記軸方向に沿って見た場合における前記第2弾性部の外形の大きさよりも大きく構成され、
前記第2弾性部の少なくとも一部が、前記環状壁部の内側に配置されている、請求項2に記載のガス発生器。
【請求項4】
前記第1収容要素が、ガス発生剤、および、当該ガス発生剤が収容された密閉容器のうちのいずれかからなり、
前記第2収容要素が、オートイグニッション剤、オートイグニッション剤カバー、および、ゼオライトのうちのいずれかからなる、請求項1から3のいずれか1項に記載のガス発生器。
発明の詳細な説明
【技術分野】
【0001】
本発明は、自動車等に装備される乗員保護装置としてのエアバッグ装置に組み込まれるガス発生器に関し、特に、サイドエアバッグ装置等に好適に組み込まれる外形が長尺円柱状のいわゆるシリンダ型ガス発生器に関する。
続きを表示(約 1,200 文字)
【背景技術】
【0002】
従来、自動車等の乗員の保護の観点から、乗員保護装置であるエアバッグ装置が普及している。エアバッグ装置は、車両等衝突時に生じる衝撃から乗員を保護する目的で装備されるものであり、車両等衝突時に瞬時にエアバッグを膨張および展開させることにより、エアバッグがクッションとなって乗員の体を受け止めるものである。
【0003】
ガス発生器は、このエアバッグ装置に組み込まれ、車両等衝突時にコントロールユニットからの通電によって点火器を着火し、点火器において生じる火炎によりガス発生剤を燃焼させて多量のガスを瞬時に発生させ、これによりエアバッグを膨張および展開させる機器である。
【0004】
ガス発生器には、車両等に対する設置位置やガス出力等の仕様に基づき、種々の構成のものが存在している。その一つに、シリンダ型ガス発生器と称されるものがある。シリンダ型ガス発生器は、その外形が長尺円柱状であり、サイドエアバッグ装置やカーテンエアバッグ装置、ニーエアバッグ装置、シートクッションエアバッグ装置等に好適に組み込まれる。
【0005】
通常、シリンダ型ガス発生器においては、ハウジングの軸方向の一端部に点火器が組付けられるとともに当該一端部側に複数の粒状のガス発生剤が収容されたガス発生剤収容室が設けられる。
【0006】
また、近年、ガス発生剤収容室に収容された複数の要素の間にコイルバネ等の弾性体を介装させることにより、これら複数の要素をガス発生剤収容室の内部に固定する構成を具備するシリンダ型ガス発生器が知られている。
【0007】
上記構成を具備するシリンダ型ガス発生器が開示された文献としては、たとえば特開2022-102514号公報(特許文献1)が挙げられる。当該特許文献1に開示されたシリンダ型ガス発生器においては、オートイグニッション剤とガス発生剤との間に介装されたコイルバネによってこれらが弾性付勢されることにより、これらがガス発生剤収容室の内部に固定されている。
【先行技術文献】
【特許文献】
【0008】
特開2022-102514号公報
【発明の概要】
【発明が解決しようとする課題】
【0009】
ここで、上述した如くの構成を具備するシリンダ型ガス発生器がその搬送時等に落下等することにより、これに意図しない荷重が印加された場合には、弾性体がこの荷重を吸収することにより、上述した複数の要素の各々が破損してしまうことが抑制される。
【0010】
しかしながら、弾性体によって吸収しきれないほどの大きさの荷重がシリンダ型ガス発生器に印加された場合には、弾性体が吸収しきれなかった荷重と、弾性体による最大反力とが上述した複数の要素のうちの少なくとも一方に印加されてしまい、これによって当該要素が破損してしまうおそれがある。
(【0011】以降は省略されています)
この特許をJ-PlatPat(特許庁公式サイト)で参照する
関連特許
日本化薬株式会社
インク
1か月前
日本化薬株式会社
インク
2か月前
日本化薬株式会社
ガス発生器
2日前
日本化薬株式会社
ガス発生器
2日前
日本化薬株式会社
ガス発生器
2か月前
日本化薬株式会社
ガス発生器
1か月前
日本化薬株式会社
ガス発生器
1か月前
日本化薬株式会社
ガス発生器
2か月前
日本化薬株式会社
ガス発生器
11日前
日本化薬株式会社
ガス発生器
4日前
日本化薬株式会社
ガス発生器
2か月前
日本化薬株式会社
インクセット
1か月前
日本化薬株式会社
インク組成物
2か月前
日本化薬株式会社
防護システム
2か月前
日本化薬株式会社
前処理組成物
1か月前
日本化薬株式会社
ガス発生剤組成物
1か月前
日本化薬株式会社
メタノール改質触媒
2か月前
日本化薬株式会社
インク組成物及び捺染方法
1か月前
日本化薬株式会社
ガス発生器及びエアバッグ装置
2か月前
日本化薬株式会社
ガス発生器およびその製造方法
2か月前
日本化薬株式会社
プリテンショナー用ガス発生装置
2か月前
日本化薬株式会社
直鎖ブテン製造用触媒及びその使用
1か月前
日本化薬株式会社
ガス発生器およびガス発生器の製造方法
3か月前
日本化薬株式会社
インクジェットインク印刷物の製造方法。
2か月前
日本化薬株式会社
安全装置、および、安全装置を備えた飛行体
3か月前
日本化薬株式会社
アクチュエータ、安全装置、および、飛行体
1か月前
日本化薬株式会社
フィルタ、およびフィルタを備えるガス発生器
4日前
日本化薬株式会社
インクジェット記録装置用水系顔料インクセット
2か月前
日本化薬株式会社
メタクロレイン及び/又はメタクリル酸の製造用触媒
1か月前
日本化薬株式会社
アントラキノン化合物を含有する液晶組成物及び調光素子
2か月前
日本化薬株式会社
アントラキノン化合物を含有する液晶組成物及び調光素子
2か月前
日本化薬株式会社
画像表示システム及びヘッドアップディスプレイシステム
1か月前
日本化薬株式会社
アントラキノン化合物を含有する液晶組成物及び調光素子
2か月前
日本化薬株式会社
アントラキノン化合物を含有する液晶組成物及び調光素子
2か月前
日本化薬株式会社
アントラキノン化合物を含有する液晶組成物及び調光素子
2か月前
富士フィルター工業株式会社
フィルタ、及びガス発生器
1か月前
続きを見る
他の特許を見る