TOP
|
特許
|
意匠
|
商標
特許ウォッチ
Twitter
他の特許を見る
10個以上の画像は省略されています。
公開番号
2025173141
公報種別
公開特許公報(A)
公開日
2025-11-27
出願番号
2024078561
出願日
2024-05-14
発明の名称
表示制御装置、ヘッドアップディスプレイ装置、表示制御方法、表示制御プログラム、及び車両用表示システム
出願人
日本精機株式会社
代理人
個人
,
個人
,
個人
,
個人
,
個人
主分類
G01C
21/36 20060101AFI20251119BHJP(測定;試験)
要約
【課題】仮想オブジェクトにより、右左折すべき交差点等の目標地点およびその案内方向を視認者である乗員にわかり易く直感的に伝えることができるようにする。
【解決手段】目標地点での案内方向を示す仮想オブジェクトVOBが路面に沿って移動するように先行表示し、仮想オブジェクトVOBを目標地点に定位させて、仮想オブジェクトVOBが車両前方の所定の実空間位置に存在するかのように、車両に搭乗した視認者4に視認させる場合の表示制御を実行する制御部701を備えた表示制御装置700であって、制御部701は、視認者4から見て目標地点に向かって移動する際の第1ルートにおける仮想オブジェクトVOBの高さと、視認者4から見て目標地点から近づく際の第2ルートにおける仮想オブジェクトVOBの高さが異なるように仮想オブジェクトVOBを表示する制御を行う。
【選択図】図1
特許請求の範囲
【請求項1】
目標地点での案内方向を示す仮想オブジェクトが路面に沿って移動するように先行表示し、前記仮想オブジェクトを前記目標地点に定位させて、前記仮想オブジェクトが車両前方の所定の実空間位置に存在するかのように、車両に搭乗した視認者に視認させる場合の表示制御を実行する制御部を備えた表示制御装置であって、
前記制御部は、
前記視認者から見て前記目標地点に向かって移動する際の第1ルートにおける前記仮想オブジェクトの高さと、前記視認者から見て前記目標地点から近づく際の第2ルートにおける前記仮想オブジェクトの高さが異なるように前記仮想オブジェクトを表示する制御を行う、表示制御装置。
続きを表示(約 1,400 文字)
【請求項2】
前記制御部は、
前記第1ルートにおける前記仮想オブジェクトを手前側から奥側に向かって先行表示し、続いて、前記第2ルートにおける前記仮想オブジェクトを前記奥側から前記手前側に近づくように表示する制御を行う、請求項1記載の表示制御装置。
【請求項3】
前記制御部は、
前記第1ルートにおける前記仮想オブジェクト、および/または前記第2ルートにおける前記仮想オブジェクトの高さを徐々に高くする制御を行う、請求項1または2記載の表示制御装置。
【請求項4】
前記制御部は、
前記第2ルートにおいて、前記目標地点が第1の距離以内になった場合、前記目標地点が近づくにつれて前記仮想オブジェクトの高さを徐々に高くし、前記目標地点が第1の距離以上になった場合、前記目標地点に依存せず前記仮想オブジェクトの高さを一定にする制御を行う、請求項3記載の表示制御装置。
【請求項5】
前記制御部は、
前記第2ルートにおいて、前記目標地点が第1の距離以内になった場合、前記目標地点が近づくにつれて前記仮想オブジェクトの高さを、前記目標地点までの距離に応じて変化する前記仮想オブジェクトの高さで定義される第1の上昇率にしたがい徐々に高くし、前記目標地点が第1の距離以上になった場合、前記目標地点に近づくにつれて前記第1の上昇率より小さい第2の上昇率で前記仮想オブジェクトの高さを徐々に高くする制御を行う、請求項3記載の表示制御装置。
【請求項6】
前記制御部は、
前記第2ルートにおいて、前記目標地点が所定の距離だけ近づいた場合に、前記仮想オブジェクトの高さを表現する前記仮想オブジェクトの陰影画像を前記路面に重畳して表示する制御を行う、請求項1記載の表示制御装置。
【請求項7】
前記制御部は、
前記第1ルートにおいて、前記目標地点に依存せず前記仮想オブジェクトの高さを一定にする制御を行う、請求項3記載の表示制御装置。
【請求項8】
前記制御部は、
前記第1ルートにおいて、前記目標地点が第2の距離以上では前記目標地点に依存せず前記仮想オブジェクトの高さを一定にし、前記目標地点が第2の距離以内では前記目標地点が遠のくにつれて前記仮想オブジェクトの高さを急激に高くする制御を行なう、請求項3記載の表示制御装置。
【請求項9】
前記制御部は、
前記第1ルートにおいて、前記目標地点が遠のくにつれて前記仮想オブジェクトの高さを徐々に高くし、前記目標地点が第2の距離以内では前記目標地点の距離に依存せず前記仮想オブジェクトの高さを一定にする制御を行う、請求項3記載の表示制御装置。
【請求項10】
仮想オブジェクトが車両の前方の所定の実空間位置に存在するかのように、前記車両に搭乗する視認者に視認されるように表示するヘッドアップディスプレイ装置であって、
画像表示部と、
前記視認者から見て前記所定の実空間位置に対応付けられた目標地点に向かって移動する際の第1ルートにおける前記仮想オブジェクトの高さと、前記視認者から見て前記目標地点に近づく際の第2ルートにおける前記仮想オブジェクトの高さが異なるように前記仮想オブジェクトを前記画像表示部に表示する制御を行う制御部と、を有するヘッドアップディスプレイ装置。
(【請求項11】以降は省略されています)
発明の詳細な説明
【技術分野】
【0001】
本発明は、仮想オブジェクトが車両の前方の所定の実空間位置に存在するかのように視認者である乗員に視認させる場合の表示制御を実行する表示制御装置、等に関する。
続きを表示(約 2,300 文字)
【背景技術】
【0002】
例えば、特許文献1に、3D表示を利用した車両用表示システムにおいて、右左折する交差点を示す方法として、視認される実空間位置に重畳される3D空間内に仮想オブジェクトとしての矢印マークの表示を先行させて目的の交差点に定位させ、自車両がその交差点に近づくことにより同時に矢印マークが目的の交差点に接近することで、右折あるいは左折すべき交差点を視認者である乗員に視認させることができる技術が記載されている。
【先行技術文献】
【特許文献】
【0003】
独公開10 2013 224 307号公報(段落[0008]~[0011]、及び図3-図5参照)。
【発明の概要】
【発明が解決しようとする課題】
【0004】
上述した特許文献1に記載された車両用表示システムによれば、車両が交差点等所定の実空間位置に所定の距離だけ接近した場合に、交差点での車両の案内方向を示す第1の矢印マーク(特許文献1の図3に示すグラフィカルナビゲーション指示109参照)を道路の路面に沿って移動したように先行表示し、そして、車両が交差点等所定の実空間位置に最接近(車両の回転操縦が差し迫った状況)した場合に、仮想現実要素である第2の矢印マーク(特許文献1の図4,図5に示すグラフィカルナビゲーション指示110参照)を表示することで、視認者である乗員(運転者等)による車両の交差点等における回転操縦をリアルタイムに誘導することができる。
【0005】
しかしながら、仮想オブジェクトである矢印マークの表示を先行させて目的の交差点に定位させ、自車両がその交差点に近づくことにより同時に矢印マークが目的の交差点に接近する特許文献1に記載された車両用表示システムでは、矢印マークの高さが一定のままであれば、(1)右左折すべき交差点等の目標地点およびその案内方向を視認者である乗員にわかり易く直感的に伝えることができないといった課題がある。(2)また、交差点等に位置する仮想オブジェクトである矢印マークが表示装置の画角中央に配置されることから、矢印マークが視認者である乗員の視線に被って前方視界が遮られ、煩わしく感じられるといった課題がある。
【0006】
このため、本発明の第1の目的は、仮想オブジェクトにより、例えば、右左折すべき交差点等の目標地点およびその案内方向を視認者である乗員にわかりやすく直感的に伝えることができる表示制御装置等を提供することにある。また、本発明の第2の目的は、仮想オブジェクトの表示が視認者の視界を妨げないように前方視界を確保することで煩わしさを抑制する表示制御装置等を提供することにある。
【0007】
本発明の他の目的は、以下に例示する態様及び最良の実施形態、並びに添付の図面を参照することによって、当業者に明らかになるであろう。
【課題を解決するための手段】
【0008】
以下に、本発明の概要を容易に理解するために、本発明に従う態様を例示する。
【0009】
本発明に従う第1の態様は、目標地点での案内方向を示す仮想オブジェクトが路面に沿って移動するように先行表示し、前記仮想オブジェクトを前記目標地点に定位させて、前記仮想オブジェクトが車両前方の所定の実空間位置に存在するかのように、車両に搭乗した視認者に視認させる場合の表示制御を実行する制御部を備えた表示制御装置であって、前記制御部は、前記視認者から見て前記目標地点に向かって移動する際の第1ルートにおける前記仮想オブジェクトの高さと、前記視認者から見て前記目標地点から近づく際の第2ルートにおける前記仮想オブジェクトの高さが異なるように前記仮想オブジェクトを表示する制御を行う、表示制御装置である。
【0010】
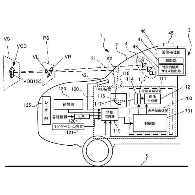
第1の態様では、制御部は、視認者から見て目標地点に向かって移動する際の第1ルートにおける仮想オブジェクトの高さと、視認者から見て目標地点から近づく際の第2ルートにおける仮想オブジェクトの高さが異なるように仮想オブジェクトを表示する制御を行う。例えば、図4に、視認者4(ここでは、車両1に搭乗した乗員である運転者DR)から見た場合の第1ルートR1と第2ルートR2の軌道が示されており、また、図5に、第1ルートと第2ルートおける仮想オブジェクトの高さの違いが示されている。図4、図5共に、各ルートにおける仮想オブジェクトVOBとしての矢印マーク(VOB1,VOB2)の矢尻は仮想オブジェクトVOBの案内方向を示している。図4では、第1ルートR1における矢印マークVOB1は目的地点まで移動するため車両1の進行方向と同じ方向を向き、第2ルートにおける矢印マークVOB2は、目的地点に近づくため車両の進行方向に対して逆方向を向いている。また、図5では、第2のルートにおける仮想オブジェクトVOBである矢印マークVOB2は、第1のルートにおける仮想オブジェクトVOBである矢印マークVOB1の高さより高い位置に表示されている。このように、第1ルートR1における矢印マークVOB1は、視認者(車両に搭乗した乗員である運転者DR)から見た場合、例えば、低い位置で遠のくことにより目標地点までの距離をわかり易く直感的に伝えることができ、また、第2ルートR2における矢印マークVOB2は、例えば、高い位置で近づくことにより右左折すべき目標地点をわかり易く直感的に伝えることができる。
(【0011】以降は省略されています)
この特許をJ-PlatPat(特許庁公式サイト)で参照する
関連特許
日本精機株式会社
表示装置
23日前
日本精機株式会社
照明装置
23日前
日本精機株式会社
検出装置
22日前
日本精機株式会社
運転支援装置
21日前
日本精機株式会社
車載表示装置
1か月前
日本精機株式会社
車載表示装置
1か月前
日本精機株式会社
車載表示装置
29日前
日本精機株式会社
発光表示装置
今日
日本精機株式会社
ミラーユニット
29日前
日本精機株式会社
車両用報知装置
1か月前
日本精機株式会社
車両用表示装置
29日前
日本精機株式会社
スペックル低減装置
1か月前
日本精機株式会社
鞍乗型車両用表示装置
20日前
日本精機株式会社
ヘッドアップディスプレイ
23日前
日本精機株式会社
スクリーン反射型表示装置
21日前
日本精機株式会社
ヘッドアップディスプレイ
20日前
日本精機株式会社
表示装置及びその製造方法
23日前
日本精機株式会社
ヘッドアップディスプレイ装置
1か月前
日本精機株式会社
ヘッドアップディスプレイ装置
20日前
日本精機株式会社
ヘッドアップディスプレイ装置
21日前
日本精機株式会社
表示制御装置、表示装置、及び表示制御方法
20日前
日本精機株式会社
ヘッドアップディスプレイ装置及び表示制御装置
20日前
日本精機株式会社
嚥下異常検出システム、嚥下異常検出装置および嚥下異常検出用プログラム
20日前
日本精機株式会社
ヘッドアップディスプレイ装置
1か月前
日本精機株式会社
音圧制御装置、及びサウンダーの音圧制御システム、並びにサウンダーの音圧制御方法
1か月前
日本精機株式会社
ヘッドアップディスプレイ装置、ヘッドアップディスプレイ装置の制御方法、および表示制御プログラム
1か月前
日本精機株式会社
表示制御装置、ヘッドアップディスプレイ装置、表示制御方法、表示制御プログラム、及び車両用表示システム
今日
日本精機株式会社
表示制御装置、ヘッドアップディスプレイ装置、表示装置の制御方法、プログラム、および車両用表示システム
1か月前
日本精機株式会社
表示制御装置、ヘッドアップディスプレイ装置、表示制御方法、表示制御プログラム、および車両用表示システム
21日前
日本精機株式会社
車両用表示制御装置、ヘッドアップディスプレイ装置、表示制御方法、表示制御プログラム、および車両用表示システム
21日前
個人
採尿及び採便具
28日前
日本精機株式会社
検出装置
22日前
個人
計量機能付き容器
17日前
個人
高精度同時多点測定装置
1か月前
個人
アクセサリー型テスター
1か月前
株式会社ミツトヨ
測定器
1か月前
続きを見る
他の特許を見る