TOP
|
特許
|
意匠
|
商標
特許ウォッチ
Twitter
他の特許を見る
公開番号
2025087228
公報種別
公開特許公報(A)
公開日
2025-06-10
出願番号
2023201735
出願日
2023-11-29
発明の名称
ベーンポンプ
出願人
カヤバ株式会社
代理人
弁理士法人後藤特許事務所
主分類
F04C
2/344 20060101AFI20250603BHJP(液体用容積形機械;液体または圧縮性流体用ポンプ)
要約
【課題】ベーンポンプにおいてロータの駆動トルクを低減させる。
【解決手段】ベーンポンプ100は、ロータ2と、ベーン3と、カムリング4と、ロータ2とカムリング4と一対の隣り合うベーン3とによって区画されるポンプ室6と、ポンプ室6に流体を導く吸込ポート31と、ポンプ室6から吐出される流体を導く吐出ポート41と、を備え、ロータ2の回転に伴いポンプ室6が収縮し始める収縮開始点80より回転方向後方側またはポンプ室6の収縮が終わる収縮終了点81より回転方向前方側に越えて吐出ポート41が形成される、あるいは、ロータ2の回転に伴いポンプ室6が拡張し始める拡張開始点82より回転方向後方側またはポンプ室6の拡張が終わる拡張終了点83より回転方向前方側に越えて吸込ポート31が形成される。
【選択図】図2
特許請求の範囲
【請求項1】
駆動シャフトに連結され回転駆動されるロータと、
前記ロータに対して径方向に往復動自在に設けられる複数のベーンと、
前記ロータの回転に伴って前記ベーンの先端部が摺接する内周カム面を有するカムリングと、
前記ロータと前記カムリングと一対の隣り合う前記ベーンとによって区画されるポンプ室と、
前記ポンプ室に流体を導く吸込ポートと、
前記ポンプ室から吐出される流体を導く吐出ポートと、を備え、
前記ロータの回転に伴い前記ポンプ室が収縮し始める収縮開始点より回転方向後方側または前記ポンプ室の収縮が終わる収縮終了点より回転方向前方側に越えて前記吐出ポートが形成される、あるいは、前記ロータの回転に伴い前記ポンプ室が拡張し始める拡張開始点より回転方向後方側または前記ポンプ室の拡張が終わる拡張終了点より回転方向前方側に越えて前記吸込ポートが形成されることを特徴とするベーンポンプ。
続きを表示(約 820 文字)
【請求項2】
請求項1に記載のベーンポンプであって、
前記吸込ポート及び前記吐出ポートは、前記駆動シャフトを挟んで互いに対向するように一つずつ設けられることを特徴とするベーンポンプ。
【請求項3】
請求項1に記載のベーンポンプであって、
前記カムリングの側面に接触して設けられるサイド部材をさらに備え、
前記サイド部材には、前記ポンプ室に流体を導く吸込側貫通孔と、前記ポンプ室から吐出される流体を導く吐出側貫通孔と、が形成され、
前記カムリングには、前記吸込側貫通孔に対向して形成され前記吸込側貫通孔に流体を導くための吸込側切り欠きと、前記吐出側貫通孔に対向して形成され前記吐出側貫通孔から吐出される流体を導くための吐出側切り欠きと、が形成され、
前記吸込ポートは、前記吸込側貫通孔及び前記吸込側切り欠きであり、
前記吐出ポートは、前記吐出側貫通孔及び前記吐出側切り欠きであり、
前記吐出側貫通孔及び前記吐出側切り欠きの少なくとも一方は、前記収縮開始点より回転方向後方側または前記収縮終了点より回転方向前方側に越えて形成される、あるいは、前記吸込側貫通孔及び前記吸込側切り欠きの少なくとも一方は、前記拡張開始点より回転方向後方側または前記拡張終了点より回転方向前方側に越えて形成されることを特徴とするベーンポンプ。
【請求項4】
請求項3に記載のベーンポンプであって、
前記内周カム面は、前記ロータの回転中心からの径が相対的に短い短径部と、前記ロータの回転中心からの径が相対的に長い長径部と、を有し、
前記ポンプ室は、前記短径部側においては、前記ロータの回転に伴い、前記吸込側貫通孔よりも先に前記吸込側切り欠きに連通し始めるとともに、前記吐出側貫通孔との連通が終わった後に前記吐出側切り欠きとの連通が終わることを特徴とするベーンポンプ。
発明の詳細な説明
【技術分野】
【0001】
本発明は、ベーンポンプに関するものである。
続きを表示(約 2,000 文字)
【背景技術】
【0002】
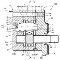
特許文献1には、カムリングと、駆動軸によって駆動されるロータと、ロータのスロットに挿入されるベーンと、を備えるベーンポンプが開示されている。ロータとカムリングと一対の隣り合うベーンとによって、ポンプ室が区画される。カムリングの表面及び裏面側には圧力板がそれぞれ設けられ、圧力板には吸込ポート及び吐出ポートが形成される。吸込ポートはポンプ室に作動流体を導き、吐出ポートにはポンプ室から吐出される作動流体が導かれる。
【先行技術文献】
【特許文献】
【0003】
特開2013-50112号公報
【発明の概要】
【発明が解決しようとする課題】
【0004】
特許文献1に記載のようなベーンポンプでは、ポンプ室が収縮しポンプ室内の圧力が高くなってから、ポンプ室が吐出ポートと連通しポンプ室内の作動流体が吐出ポートに導かれる。しかしながら、ベーンには回転方向両側からポンプ室内の圧力が作用するため、ベーンを挟んで吸込ポート側のポンプ室と吐出ポート側のポンプ室の圧力差が大きいと、ベーンを回転方向に移動させるために必要な力が大きくなる。そのため、ロータの駆動トルクが大きくなってしまうおそれがある。
【0005】
本発明は、上記の問題点に鑑みてなされたものであり、ベーンポンプにおいてロータの駆動トルクを低減させることを目的とする。
【課題を解決するための手段】
【0006】
本発明は、ベーンポンプであって、駆動シャフトに連結され回転駆動されるロータと、ロータに対して径方向に往復動自在に設けられる複数のベーンと、ロータの回転に伴ってベーンの先端部が摺接する内周カム面を有するカムリングと、ロータとカムリングと一対の隣り合うベーンとによって区画されるポンプ室と、ポンプ室に流体を導く吸込ポートと、ポンプ室から吐出される流体を導く吐出ポートと、を備え、ロータの回転に伴いポンプ室が収縮し始める収縮開始点より回転方向後方側またはポンプ室の収縮が終わる収縮終了点より回転方向前方側に越えて吐出ポートが形成される、あるいは、ロータの回転に伴いポンプ室が拡張し始める拡張開始点より回転方向後方側またはポンプ室の拡張が終わる拡張終了点より回転方向前方側に越えて吸込ポートが形成されることを特徴とする。
【0007】
この発明では、収縮開始点または収縮終了点を越えて吐出ポートが形成されるため、ポンプ室が収縮開始点または収縮終了点で吐出ポートに連通している。そのため、ポンプ室内の圧力の上昇が抑制される。あるいは、拡張開始点または拡張終了点を越えて吸込ポートが形成されるため、ポンプ室が拡張開始点または拡張終了点で吸込ポートに連通している。そのため、ポンプ室内の圧力の低下が抑制される。よって、ロータの駆動トルクを低減させることができる。
【0008】
また、本発明は、吸込ポート及び吐出ポートは、駆動シャフトを挟んで互いに対向するように一つずつ設けられることを特徴とする。
【0009】
この発明では、ベーンポンプは、吸込ポート及び吐出ポートが一つずつ設けられる非平衡型のベーンポンプである。一般的に、平衡型ポンプは吐出圧が高い領域で使用され、非平衡型ポンプは吐出圧が低い領域で使用される。平衡型のベーンポンプのように、吐出圧が比較的高い場合には、ポンプ室が吐出ポートに連通した際にポンプ室内の圧力が低いと、吐出ポートからポンプ室に流体が逆流して吐出圧の脈動が生じる。しかしながら、非平衡型のベーンポンプのように、吐出圧が低い場合には、ポンプ室が吐出ポートに連通した際にポンプ室内の圧力が低くても吐出圧の脈動の影響が小さい。そのため、吐出圧の脈動の影響を抑えつつロータの駆動トルクを低減させることができる。
【0010】
また、本発明は、カムリングの側面に接触して設けられるサイド部材をさらに備え、サイド部材には、ポンプ室に流体を導く吸込側貫通孔と、ポンプ室から吐出される流体を導く吐出側貫通孔と、が形成され、カムリングには、吸込側貫通孔に対向して形成され吸込側貫通孔に流体を導くための吸込側切り欠きと、吐出側貫通孔に対向して形成され吐出側貫通孔から吐出される流体を導くための吐出側切り欠きと、が形成され、吸込ポートは、吸込側貫通孔及び吸込側切り欠きであり、吐出ポートは、吐出側貫通孔及び吐出側切り欠きであり、吐出側貫通孔及び吐出側切り欠きの少なくとも一方は、収縮開始点より回転方向後方側または収縮終了点より回転方向前方側に越えて形成される、あるいは、吸込側貫通孔及び吸込側切り欠きの少なくとも一方は、拡張開始点より回転方向後方側または拡張終了点より回転方向前方側に越えて形成されることを特徴とする。
(【0011】以降は省略されています)
この特許をJ-PlatPat(特許庁公式サイト)で参照する
関連特許
カヤバ株式会社
ダンパ
3か月前
カヤバ株式会社
減圧弁
9日前
カヤバ株式会社
緩衝器
3か月前
カヤバ株式会社
緩衝器
3か月前
カヤバ株式会社
緩衝器
2日前
カヤバ株式会社
緩衝器
2日前
カヤバ株式会社
ダンパ
3か月前
カヤバ株式会社
ミキサ車
6か月前
カヤバ株式会社
ミキサ車
今日
カヤバ株式会社
防水構造
今日
カヤバ株式会社
ミキサ車
今日
カヤバ株式会社
ミキサ車
今日
カヤバ株式会社
ギヤポンプ
今日
カヤバ株式会社
ギヤポンプ
今日
カヤバ株式会社
ギヤポンプ
今日
カヤバ株式会社
展開デッキ
今日
カヤバ株式会社
電動ポンプ
7日前
カヤバ株式会社
電動ポンプ
2か月前
カヤバ株式会社
摩擦試験機
11日前
カヤバ株式会社
冗長システム
1か月前
カヤバ株式会社
高所作業装置
7日前
カヤバ株式会社
ベーンポンプ
2か月前
カヤバ株式会社
苗木抜出装置
今日
カヤバ株式会社
苗木植付装置
今日
カヤバ株式会社
苗木植付装置
今日
カヤバ株式会社
ベーンポンプ
4か月前
カヤバ株式会社
苗木植付装置
今日
カヤバ株式会社
苗木植付装置
今日
カヤバ株式会社
苗木植付装置
今日
カヤバ株式会社
バルブユニット
3か月前
カヤバ株式会社
電磁リリーフ弁
2か月前
カヤバ株式会社
モータ制御装置
2か月前
カヤバ株式会社
モータ制御装置
2か月前
カヤバ株式会社
流体圧制御装置
23日前
カヤバ株式会社
チェックバルブ
11日前
カヤバ株式会社
ポンプの取付構造
4か月前
続きを見る
他の特許を見る