TOP
|
特許
|
意匠
|
商標
特許ウォッチ
Twitter
他の特許を見る
公開番号
2025179392
公報種別
公開特許公報(A)
公開日
2025-12-10
出願番号
2024086109
出願日
2024-05-28
発明の名称
スイッチギヤ
出願人
株式会社東芝
代理人
弁理士法人酒井国際特許事務所
主分類
H02B
13/035 20060101AFI20251203BHJP(電力の発電,変換,配電)
要約
【課題】筐体内にある固定主回路を従来よりも容易に取り外せる接続構造を提供する。
【解決手段】実施形態に係るスイッチギヤは、筐体と、筐体に収容され、第1の主回路と第2の主回路とにより構成される一対の固定主回路と、第1の主回路に設けられる第1の接続部材と、第2の主回路に設けられる第2の接続部材と、を有し、固定主回路は、第1の接続部材と第2の接続部材とにより接続され、第1の接続部材及び第2の接続部材は、固定主回路に対して、固定主回路との接続方向にそれぞれ移動可能に設けられる。
【選択図】図2
特許請求の範囲
【請求項1】
筐体と、
前記筐体に収容され、第1の主回路と第2の主回路とにより構成される一対の固定主回路と、
前記第1の主回路に設けられる第1の接続部材と、前記第2の主回路に設けられる第2の接続部材と、を有し、
前記固定主回路は、前記第1の接続部材と前記第2の接続部材とにより接続され、
前記第1の接続部材及び前記第2の接続部材は、前記固定主回路に対して、前記固定主回路との接続方向にそれぞれ移動可能に設けられる、
スイッチギヤ。
続きを表示(約 970 文字)
【請求項2】
前記第1の主回路と前記第1の接続部材との間に設けられる第1の弾性部材と、
前記第2の主回路と前記第2の接続部材との間に設けられる第3の弾性部材と、を有し、
前記第1の接続部材及び前記第2の接続部材は、前記第1の弾性部材及び前記第3の弾性部材の弾性変形によって、前記固定主回路との接続方向に移動可能に設けられる、
請求項1に記載のスイッチギヤ。
【請求項3】
前記第1の接続部材及び前記第2の接続部材は、導体と、前記導体を覆う絶縁体と、を有し、
前記第1の接続部材と前記第2の接続部材とが当接する面は、前記絶縁体に対して前記導体が突出する、
請求項1に記載のスイッチギヤ。
【請求項4】
一対の前記固定主回路の形状が同一であり、前記第1の接続部材及び前記第2の接続部材の形状も同一である、
請求項1に記載のスイッチギヤ。
【請求項5】
前記第1の接続部材と前記第2の接続部材とは、
複数の固定部材によって固定されるための複数の固定孔と、を有し、
複数の前記固定孔の間の厚みは、前記固定孔の位置の厚みよりも厚みを増したリブを有する、
請求項1に記載のスイッチギヤ。
【請求項6】
前記第1の主回路と前記第1の接続部材との少なくとも一方に、前記第1の弾性部材の外周の少なくとも一部を囲む壁部を有し、
前記第2の主回路と前記第2の接続部材との少なくとも一方に、前記第3の弾性部材の外周の少なくとも一部を囲む壁部を有する、
請求項2に記載のスイッチギヤ。
【請求項7】
前記第1の弾性部材及び前記第3の弾性部材は、内側が絶縁性材であり、前記絶縁性材の外周が導電性材で構成され、
前記固定主回路と前記第1の弾性部材と前記第3の弾性部材の外表面と、前記固定主回路と前記第1の接続部材と前記第2の接続部材の内、前記第1の弾性部材及び前記第3の弾性部材の導電性材で構成される部位と接する面と、が導電性である、
請求項2に記載のスイッチギヤ。
【請求項8】
前記固定孔は、内部が導電性である、
請求項5に記載のスイッチギヤ。
発明の詳細な説明
【技術分野】
【0001】
本発明の実施形態は、スイッチギヤに関する。
続きを表示(約 1,100 文字)
【背景技術】
【0002】
従来、固体絶縁スイッチギヤ等に用いられる固体絶縁機器の接続において、一方の凹状の主回路に対して、他方の凸状の導体が差し込まれる接続構造が知られている。
【先行技術文献】
【特許文献】
【0003】
特開2019-83142号公報
【発明の概要】
【発明が解決しようとする課題】
【0004】
従来の固体絶縁スイッチギヤに収納された固定主回路は、一方の凹状の導体に対して、他方の凸状の導体が差し込まれる接続構造が採用されている。そのため、筐体内にある各固定主回路を分解する際に、一方向のみしか取り外しできない。
【0005】
本発明が解決する課題の一例は、筐体内にある固定主回路を従来よりも容易に取り外せる接続構造を提供することである。
【課題を解決するための手段】
【0006】
実施形態に係るスイッチギヤは、筐体と、筐体に収容され、第1の主回路と第2の主回路とにより構成される一対の固定主回路と、第1の主回路に設けられる第1の接続部材と、第2の主回路に設けられる第2の接続部材と、を有し、固定主回路は、第1の接続部材と第2の接続部材とにより接続され、第1の接続部材及び第2の接続部材は、固定主回路に対して、固定主回路との接続方向にそれぞれ移動可能に設けられる。
【図面の簡単な説明】
【0007】
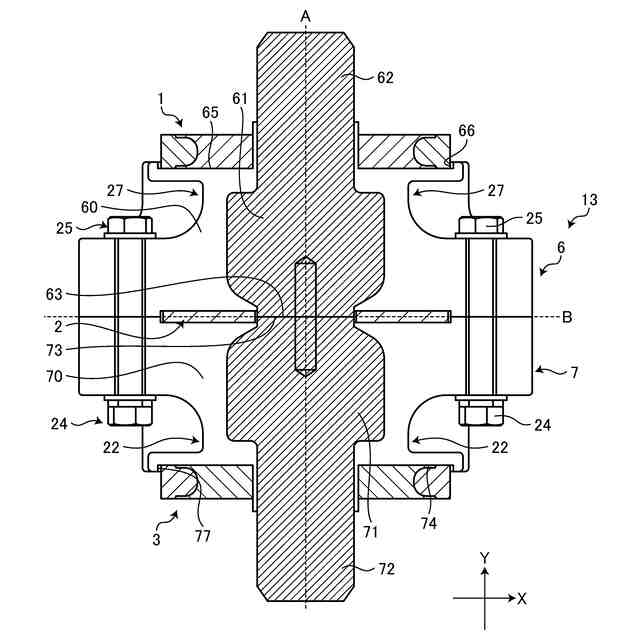
図1は、本実施形態のスイッチギヤの一例を示す側面図である。
図2は、本実施形態の接続構造の一例を示す断面図である。
図3は、本実施形態の接続部材の一例を示す図である。
図4は、本実施形態の接続構造の一例を示す断面図である。
【発明を実施するための形態】
【0008】
以下、実施形態に係るスイッチギヤ11を図面に基づいて説明する。以下に記載する実施形態の構成、並びに当該構成によってもたらされる作用及び結果(効果)は、あくまで一例であって、以下の記載内容に限られるものではない。なお、本明細書では、序数は、部品や部材を区別するためだけに用いられており、順番や優先度を示すものではない。
【0009】
図1は、本実施形態に係るスイッチギヤ11の側面図である。本実施形態のスイッチギヤ11は、固体絶縁スイッチギヤである。なお、スイッチギヤ11は、これに限定されない。
【0010】
図1に示すように、スイッチギヤ11は、筐体100に収納された操作機構と、固定主回路12と、接続部材13と、遮断器14と、断路器15と、接地装置16などの機器を備える。
(【0011】以降は省略されています)
この特許をJ-PlatPat(特許庁公式サイト)で参照する
関連特許
株式会社東芝
電子源
6日前
株式会社東芝
端子台
1か月前
株式会社東芝
電子装置
1か月前
株式会社東芝
除去装置
1か月前
株式会社東芝
電子回路
1か月前
株式会社東芝
半導体装置
7日前
株式会社東芝
半導体装置
6日前
株式会社東芝
半導体装置
1か月前
株式会社東芝
半導体装置
1か月前
株式会社東芝
半導体装置
1か月前
株式会社東芝
半導体装置
1か月前
株式会社東芝
真空バルブ
1か月前
株式会社東芝
半導体装置
7日前
株式会社東芝
真空バルブ
7日前
株式会社東芝
半導体装置
13日前
株式会社東芝
半導体装置
1か月前
株式会社東芝
半導体装置
6日前
株式会社東芝
半導体装置
1か月前
株式会社東芝
半導体装置
1か月前
株式会社東芝
高周波回路
1か月前
株式会社東芝
半導体装置
1か月前
株式会社東芝
半導体装置
1か月前
株式会社東芝
半導体装置
1か月前
株式会社東芝
半導体装置
21日前
株式会社東芝
真空バルブ
2日前
株式会社東芝
半導体装置
1か月前
株式会社東芝
半導体装置
1か月前
株式会社東芝
半導体装置
1か月前
株式会社東芝
半導体装置
1か月前
株式会社東芝
真空バルブ
1か月前
株式会社東芝
半導体装置
今日
株式会社東芝
半導体装置
1か月前
株式会社東芝
電気化学装置
1日前
株式会社東芝
超電導コイル
1か月前
株式会社東芝
ディスク装置
1か月前
株式会社東芝
補修システム
1か月前
続きを見る
他の特許を見る