TOP
|
特許
|
意匠
|
商標
特許ウォッチ
Twitter
他の特許を見る
10個以上の画像は省略されています。
公開番号
2025178679
公報種別
公開特許公報(A)
公開日
2025-12-09
出願番号
2024085430
出願日
2024-05-27
発明の名称
燃料電池制御システム
出願人
株式会社東芝
,
東芝エネルギーシステムズ株式会社
代理人
弁理士法人サクラ国際特許事務所
主分類
H01M
8/04 20160101AFI20251202BHJP(基本的電気素子)
要約
【課題】発電停止頻度や周囲の環境に関わらず発電性能の低下を抑えることのできる燃料電池制御システムを提供する。
【課題を解決するための手段】実施形態の燃料電池制御システムは、化学反応により電力を生成する燃料電池スタックを備えた燃料電池を制御する燃料電池制御システムである。実施形態の燃料電池制御システムは、燃料電池の供給先における燃料電池の電力需要量を取得する電力需要取得部と、電力需要取得部の取得結果に基づいて電力需要量の時系列パターンを学習して保持する学習演算部と、燃料電池スタックの性能の低下量を示す性能低下量情報を記憶する記憶部と、電力需要量の時系列パターンと性能低下量情報とに基づいて燃料電池の運転停止の可否を判定する運転判定部と、を備える。
【選択図】図1
特許請求の範囲
【請求項1】
化学反応により電力を生成する燃料電池スタックを備えた燃料電池を制御する燃料電池制御システムであって、
前記燃料電池の供給先における前記燃料電池の電力需要量を取得する電力需要取得部と、
前記電力需要取得部の取得結果に基づいて前記電力需要量の時系列パターンを学習して保持する学習演算部と、
前記燃料電池スタックの性能の低下量を示す性能低下量情報を記憶する記憶部と、
前記電力需要量の時系列パターンと前記性能低下量情報とに基づいて前記燃料電池の運転停止の可否を判定する運転判定部と、
を備えた燃料電池制御システム。
続きを表示(約 1,600 文字)
【請求項2】
前記電力需要量の時系列パターンを入力可能なデータ入力部をさらに備え、
前記学習演算部は、前記データ入力部の入力結果を保持すること
を特徴とする請求項1記載の燃料電池制御システム。
【請求項3】
前記性能低下量情報を前記燃料電池から取得可能な電池情報取得部をさらに具備することを特徴とする請求項1記載の燃料電池制御システム。
【請求項4】
前記電池情報取得部が取得した前記性能低下量情報に基づいて前記記憶部に記憶された前記性能低下量情報を更新する性能低下量更新部をさらに備えたことを特徴とする請求項1記載の燃料電池制御システム。
【請求項5】
前記性能低下量情報は、前記燃料電池の運転を停止させたときの前記燃料電池スタックの発電性能の低下量及び前記燃料電池が運転しているときの前記燃料電池スタックの単位時間当たりの発電性能の低下量を含むことを特徴とする請求項1記載の燃料電池制御システム。
【請求項6】
前記運転判定部の判定結果に基づいて前記燃料電池の運転を制御する運転制御部をさらに備え、
前記電池情報取得部は、前記燃料電池スタックの出力電力をさらに取得し、
前記運転判定部は、
前記電力需要量の時系列パターンに基づいて前記電力需要量が所定の値以下となる低需要期間を予測し、
前記出力電力及び予測した前記低需要期間に基づいて、前記燃料電池の運転を停止させたときの前記燃料電池スタックの発電性能の低下量及び前記燃料電池が運転しているときの前記燃料電池スタックの単位時間当たりの発電性能の低下量を比較し、
前記燃料電池スタックの発電性能の低下量が最小限となるように前記燃料電池の運転停止又は運転継続のいずれかに判定すること
を特徴とする請求項1記載の燃料電池制御システム。
【請求項7】
気象予測データを取得する環境取得部をさらに備え、
前記運転判定部は、前記気象予測データに基づき前記燃料電池スタックの凍結が予測される場合、前記燃料電池の運転継続と判定すること
を特徴とする請求項6記載の燃料電池制御システム。
【請求項8】
前記運転制御部は、前記燃料電池の寿命又は前記燃料電池の凍結防止のため運転を優先する運転優先モード及び燃料消費量の低減を優先する消費量優先モードの2つの状態を有し、
前記運転制御部は、前記消費量優先モードの状態にあるとき、前記運転判定部の判定結果が前記燃料電池の運転継続であった場合でも、前記燃料電池の運転を停止させること、
を特徴とする請求項7記載の燃料電池制御システム。
【請求項9】
気象予測データを取得する環境取得部と、
前記気象予測データに基づいて系統と接続された前記燃料電池において停電リスクの有無を判定可能な停電判定部と、
をさらに備え、
前記運転制御部は、前記停電判定部が停電リスクありと判定した場合、前記運転判定部の判定結果によらず前記燃料電池の運転を継続させること
を特徴とする請求項6記載の燃料電池制御システム。
【請求項10】
前記記憶部は、前記燃料電池が系統連系運転と自立運転とを無瞬断切り替え可能であるか否かを示す運転切替情報をさらに記憶し、
前記運転制御部は、前記停電判定部が停電リスクありと判定した場合、前記運転切替情報が無瞬断切り替え可能を示す場合に前記燃料電池を系統連系運転させ、前記運転切替情報が無瞬断切り替え不可を示す場合に前記燃料電池を自立運転させること
を特徴とする請求項9記載の燃料電池制御システム。
(【請求項11】以降は省略されています)
発明の詳細な説明
【技術分野】
【0001】
実施形態は、燃料電池制御システムに関する。
続きを表示(約 2,200 文字)
【背景技術】
【0002】
燃料電池(システム)は、最小の発電単位である燃料電池スタックを備えている。燃料電池スタックの発電性能の低下量は、発電時間と起動停止回数により決まることが知られている。すなわち、燃料電池は、発電そのものだけでなく発電の停止及び再開によっても発電性能が低下する性質を持っている。従って、燃料電池の発電が不要になったタイミングにおいて、発電を停止せず連続発電を行う場合と、一旦発電を停止し必要となった時に発電を再開する場合とでは、発電が不要になってから再び必要となるまでの時間によって、発電性能の低下量が異なることになる。
【0003】
そのため、燃料電池の発電が不要となってから再び必要となるまでの時間が短い場合に発電停止を行ってしまうと、発電を停止せず発電を継続した場合よりも発電性能がより低下してしまうという問題があった。
【0004】
一方、燃料電池は、その冷却水に水を使用する場合がある。このような燃料電池が発電停止中に氷点下の低温環境下におかれると、冷却水の凍結により起動ができなくなる問題があった。
【先行技術文献】
【特許文献】
【0005】
特開2001-231108公報
【発明の概要】
【発明が解決しようとする課題】
【0006】
このように、従来の燃料電池制御システムは、発電停止頻度や周囲の環境によって発電性能が大幅に低下したり起動できなくなったりするという問題がある。実施形態の燃料電池制御システムは、かかる課題を解決するためになされたもので、発電停止頻度や周囲の環境に関わらず発電性能の低下を抑えることのできる燃料電池制御システムを提供することを目的としている。
【課題を解決するための手段】
【0007】
実施形態の燃料電池制御システムは、化学反応により電力を生成する燃料電池スタックを備えた燃料電池を制御する燃料電池制御システムである。実施形態の燃料電池制御システムは、燃料電池の供給先における燃料電池の電力需要量を取得する電力需要取得部と、電力需要取得部の取得結果に基づいて電力需要量の時系列パターンを学習して保持する学習演算部と、燃料電池スタックの性能の低下量を示す性能低下量情報を記憶する記憶部と、電力需要量の時系列パターンと性能低下量情報とに基づいて燃料電池の運転停止の可否を判定する運転判定部と、を備える。
【図面の簡単な説明】
【0008】
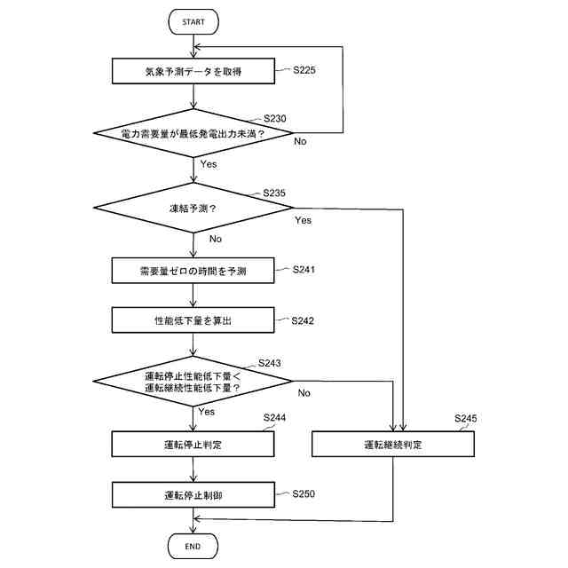
第1~5実施形態に係る燃料電池制御システムの機能構成を示すブロック図である。
第1実施形態に係る燃料電池制御システムの動作例を示すフローチャートである。
第2実施形態に係る燃料電池制御システムの動作例を示すフローチャートである。
第3実施形態に係る燃料電池制御システムの動作例を示すフローチャートである。
第3実施形態に係る燃料電池制御システムの動作例を示すフローチャートである。
第4実施形態に係る燃料電池制御システムの動作例を示すフローチャートである。
第5実施形態に係る燃料電池制御システムの動作例を示すフローチャートである。
第6実施形態に係る燃料電池制御システムの機能構成を示すブロック図である。
第6実施形態に係る燃料電池制御システムの動作例を示すフローチャートである。
第7実施形態に係る燃料電池制御システムの機能構成を示すブロック図である。
第7実施形態に係る燃料電池制御システムの動作例を示すフローチャートである。
【発明を実施するための形態】
【0009】
(第1~第5実施形態)
以下、本発明の第1~第5実施形態を、図面を参照して説明する。以下の説明において、共通する構成には共通の符号を付して示し、重複する説明は省略する。図1は、第1~第5実施形態に係る燃料電池制御システムの機能構成を示すブロック図である。図2は、第1実施形態に係る燃料電池制御システムの動作例を示すフローチャートである。実施形態の燃料電池制御システムは、運転実績や気象予測などを取得して学習し、燃料電池とバッテリがユーザにとって最もメリットのある運転方法となるように最適運転を行うものである。
【0010】
図1に示すように、この実施形態の燃料電池システム1は、燃料電池2と燃料電池制御システム3とを有する。燃料電池2は、例えば水素を燃料とする燃料電池スタック100、燃料電池スタックの発電を制御する発電制御部110、系統連系運転及び自立運転の切り替えを行う運転切替部120、燃料電池スタック100の発電電力を測定する発電電力測定部122、燃料電池スタック100の性能低下量を計測する性能低下量計測部126を有する。燃料電池制御システム3は、電池情報取得部10、燃料電池2(燃料電池スタック100)の電力需要を取得する電力需要取得部12、学習演算部20、学習データベース(DB)22、記憶部30、運転判定部40を有する。燃料電池制御システム3は、演算部や記憶部などを備えたいわゆるコンピュータ装置により実現することができる。
(【0011】以降は省略されています)
この特許をJ-PlatPat(特許庁公式サイト)で参照する
関連特許
他の特許を見る