TOP
|
特許
|
意匠
|
商標
特許ウォッチ
Twitter
他の特許を見る
10個以上の画像は省略されています。
公開番号
2025179429
公報種別
公開特許公報(A)
公開日
2025-12-10
出願番号
2024086168
出願日
2024-05-28
発明の名称
回転子および回転電機
出願人
株式会社東芝
代理人
弁理士法人iX
,
弁理士法人サクラ国際特許事務所
主分類
H02K
1/276 20220101AFI20251203BHJP(電力の発電,変換,配電)
要約
【課題】漏れ磁束を低減しながら、トルクリプルによる騒音の低減効果を確保する。
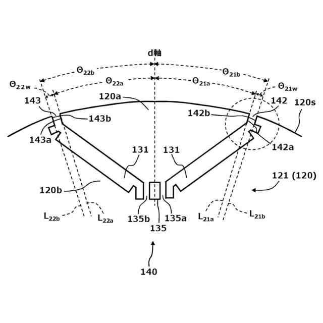
【解決手段】実施形態によれば回転子100は、ロータシャフトと、複数の永久磁石と、回転子鉄心120とを備える。回転子鉄心120は、複数の電磁鋼板を有し、磁極において回転中心軸に略凸状に形成され、広角FBB開口部132、133を有する広角フラックスバリアバンド130または狭角FBB開口部142、143を有する狭角フラックスバリアバンド140が形成されている。広角FBB開口部の2つの壁面とd軸がなす円周角Θ
1a
、円周角Θ
1b
のそれぞれは、狭角FBB開口部の2つの壁面とd軸がなす円周角Θ
2a
、円周角Θ
2b
のそれぞれより大きく、かつ、Θ
1b
はΘ
1a
より大きいことを特徴とする
【選択図】図8
特許請求の範囲
【請求項1】
回転中心軸の軸方向に延びるロータシャフトと、
前記軸方向に延びて、前記回転中心軸に垂直な断面でみたときに、周方向に等分に配されて前記回転中心軸から延びたd軸に関して線対称に配置された複数の永久磁石と、
前記ロータシャフトの径方向の外側に取り付けられ前記軸方向に前記d軸が重なるように積層された複数の電磁鋼板を有し、複数の前記永久磁石を収納し、分割された周角度領域である磁極において非磁性領域およびブリッジを含み前記回転中心軸に向かって略凸状に形成された広角フラックスバリアバンドおよび狭角フラックスバリアバンドのいずれかが形成された回転子鉄心と、
を備える回転子であって、
前記広角フラックスバリアバンドは、前記回転子鉄心の外周面に連通する広角FBB開口部を有し、
前記狭角フラックスバリアバンドは、前記回転子鉄心の前記外周面に連通する狭角FBB開口部を有し、
前記広角FBB開口部を形成する前記d軸に近い側の壁面と前記回転中心軸から延びた接線とがなす円周角を円周角Θ
1a
、前記広角FBB開口部を形成する前記d軸から遠い側の壁面と前記回転中心軸から延びた接線とがなす円周角を円周角Θ
1b
、前記狭角FBB開口部を形成する前記d軸に近い側の壁面と前記回転中心軸から延びた接線とがなす円周角を円周角Θ
2a
、前記狭角FBB開口部を形成する前記d軸から遠い側の壁面と前記回転中心軸から延びた接線とがなす円周角を円周角Θ
2b
としたときに、
前記円周角Θ
1a
は前記円周角Θ
2a
より大きく、前記円周角Θ
1b
は前記円周角Θ
2b
より大きく、かつ、前記円周角Θ
1b
は前記円周角Θ
1a
より大きく、前記円周角Θ
2b
は前記円周角Θ
2a
より大きいことを特徴とする回転子。
続きを表示(約 770 文字)
【請求項2】
前記円周角Θ
1a
と前記円周角Θ
1b
との差を開口角度Θ
1w
、前記開口角度Θ
1w
に対応する幅を開口幅w
1
とし、前記円周角Θ
2a
と前記円周角Θ
2b
との差を開口角度Θ
2w
、前記開口角度Θ
2w
に対応する幅を開口幅w
2
とし、前記円周角Θ
2b
と前記円周角Θ
1a
との差を共通開口角度ΔΘ、前記共通開口角度ΔΘに対応する幅を共通開口幅dとし、
複数の前記電磁鋼板のそれぞれの板厚をtとしたときに、前記開口幅w
1
および前記開口幅w
2
は2tより大きく、前記共通開口幅dは0より大きくかつ2tより小さい、
ことを特徴とする請求項1に記載の回転子。
【請求項3】
nを、1以上かつ前記磁極の数の1/2以下の自然数としたときに、
複数の前記電磁鋼板のそれぞれには、前記周方向に、前記広角フラックスバリアバンドが形成された前記磁極および前記狭角フラックスバリアバンドが形成された前記磁極がn個ずつ交互に配されて、
複数の前記電磁鋼板のうち互いに隣接する2つの前記電磁鋼板は、互いに前記n個の前記磁極分だけ前記周方向にずれていることを特徴とする請求項1に記載の回転子。
【請求項4】
請求項1ないし請求項3のいずれか一項に記載の回転子と、
前記回転子鉄心の前記径方向の外側に配された固定子と、
前記ロータシャフトを回転可能に支持する2つの軸受と、
を備えることを特徴とする回転電機。
発明の詳細な説明
【技術分野】
【0001】
本発明は、回転子および回転電機に関する。
続きを表示(約 2,400 文字)
【背景技術】
【0002】
埋め込み磁石型の回転子を有する回転電機においては、回転子鉄心内の径方向の外側に近い領域に、軸方向に伸びた貫通孔を形成して、永久磁石を収納している。通常、この貫通孔は、永久磁石を収納する空間のみではなく、その径方向の外側および内側にも部分空間を有する。これらの部分空間は、磁束の通過を抑制するフラックスバリアとなっている。
【0003】
多くの場合、この径方向外側の部分空間と回転子鉄心の外側表面との間には、回転子鉄心の一部であるトップブリッジが存在し、回転子鉄心の構造強度を確保する要素の一部となっている。
【0004】
このトップブリッジは、フラックスバリアバンドの一部として幅が狭められているが、トップブリッジを通過する磁束は回転子内のみにとどまり固定子側と鎖交しない漏れ磁束となり、回転電機のトルク効率の低下をもたらす。
【0005】
このような背景により、トップブリッジを取り除き、上述の径方向外側のフラックスバリアを回転子鉄心の外側空間(回転子と固定子間のギャップ空間)に連通させる開口部を設ける方式の回転子が用いられる例も多くある。
【先行技術文献】
【特許文献】
【0006】
特開2013-230070号公報
【発明の概要】
【発明が解決しようとする課題】
【0007】
トップブリッジのない埋め込み磁石型回転子においては、上述のように開口部の存在により漏れ磁束の低減を図ることができる一方で、トルクリップルを生ずるという問題がある。すなわち、固定子巻線側から見て、回転子側には、周方向に開口部が形成されており、周方向に周期的に磁気抵抗が変化する。このため、回転トルクの値が増減するトルクむら(トルクリプル)が生じ、回転時の機械的な振動や騒音の発生の要因となる。
【0008】
本発明が解決しようとする課題は、漏れ磁束を低減しながら、トルクリプルによる騒音の低減効果を確保できる回転子および回転電機を提供することである。
【課題を解決するための手段】
【0009】
上述の目的を達成するため、本発明の実施形態に係る回転子は、回転中心軸の軸方向に延びるロータシャフトと、前記軸方向に延びて、前記回転中心軸に垂直な断面でみたときに、周方向に等分に配されて前記回転中心軸から延びたd軸に関して線対称に配置された複数の永久磁石と、前記ロータシャフトの径方向の外側に取り付けられ前記軸方向に前記d軸が重なるように積層された複数の電磁鋼板を有し、複数の前記永久磁石を収納し、分割された周角度領域である磁極において非磁性領域およびブリッジを含み前記回転中心軸に向かって略凸状に形成された広角フラックスバリアバンドおよび狭角フラックスバリアバンドのいずれかが形成された回転子鉄心と、を備える回転子であって、前記広角フラックスバリアバンドは、前記回転子鉄心の外周面に連通する広角FBB開口部を有し、前記狭角フラックスバリアバンドは、前記回転子鉄心の前記外周面に連通する狭角FBB開口部を有し、前記広角FBB開口部を形成する前記d軸に近い側の壁面と前記回転中心軸から延びた接線とがなす円周角を円周角Θ
1a
、前記広角FBB開口部を形成する前記d軸から遠い側の壁面と前記回転中心軸から延びた接線とがなす円周角を円周角Θ
1b
、前記狭角FBB開口部を形成する前記d軸に近い側の壁面と前記回転中心軸から延びた接線とがなす円周角を円周角Θ
2a
、前記狭角FBB開口部を形成する前記d軸から遠い側の壁面と前記回転中心軸から延びた接線とがなす円周角を円周角Θ
2b
としたときに、前記円周角Θ
1a
は前記円周角Θ
2a
より大きく、前記円周角Θ
1b
は前記円周角Θ
2b
より大きく、かつ、前記円周角Θ
1b
は前記円周角Θ
1a
より大きく、前記円周角Θ
2b
は前記円周角Θ
2a
より大きいことを特徴とする。
【図面の簡単な説明】
【0010】
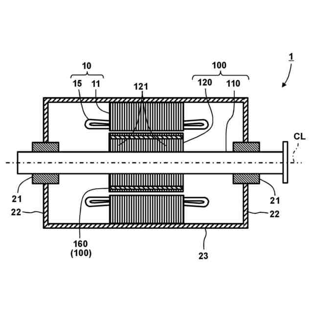
実施形態に係る回転電機の構成を示す縦断面図である。
実施形態に係る回転電機の一部の構成を示す横断面図である。
実施形態に係る回転子を示す横断面図である。
実施形態に係る回転子を構成する回転子鉄心の1極分の広角フラックスバリアバンドを示す電磁鋼板の部分的な正面図である。
実施形態に係る回転子を構成する回転子鉄心の広角フラックスバリアバンドの一部である開口部の詳細を示す電磁鋼板の部分的な正面図である。
実施形態に係る回転子を構成する回転子鉄心の1極分の狭角フラックスバリアバンドを示す電磁鋼板の部分的な正面図である。
実施形態に係る回転子を構成する回転子鉄心の狭角フラックスバリアバンドの一部である開口部の詳細を示す電磁鋼板の部分的な正面図である。
実施形態に係る回転子の回転子鉄心における電磁鋼板の積層状態を示す展開図である。
実施形態に係る回転子の回転子鉄心における電磁鋼板の積層方法を示す展開図である。
実施形態に係る回転子の回転子鉄心における電磁鋼板の積層方法の変形例を示す展開図である。
実施形態に係る回転子の回転子鉄心における電磁鋼板の第1の変形例の積層方法を示す展開図である。
実施形態に係る回転子の回転子鉄心における電磁鋼板の第2の変形例の積層方法を示す展開図である。
【発明を実施するための形態】
(【0011】以降は省略されています)
この特許をJ-PlatPat(特許庁公式サイト)で参照する
関連特許
他の特許を見る