TOP
|
特許
|
意匠
|
商標
特許ウォッチ
Twitter
他の特許を見る
公開番号
2025177187
公報種別
公開特許公報(A)
公開日
2025-12-05
出願番号
2024083787
出願日
2024-05-23
発明の名称
半導体駆動装置、及び、半導体モジュール
出願人
株式会社東芝
,
東芝デバイス&ストレージ株式会社
代理人
弁理士法人iX
主分類
H03K
17/567 20060101AFI20251128BHJP(基本電子回路)
要約
【課題】特性を向上できる半導体駆動装置、及び、半導体モジュールを提供する。
【解決手段】実施形態によれば、半導体駆動装置は、回路部を含む。前記回路部は、第1のこぎり波と、前記第1のこぎり波と異なる第2のこぎり波と、に基づいて、第1出力信号及び第2出力信号を出力するよう構成される。前記第1出力信号は、第1時刻に第1電位から第2電位に変化する。前記第1出力信号は、第2時刻に前記第2電位から前記第1電位に変化する。前記第2出力信号は、前記第1時刻に第3電位から第4電位に変化する。前記第2出力信号は、第3時刻に前記第4電位から前記第3電位に変化する。前記第3時刻は、前記第1時刻の後であり前記第2時刻の前である。
【選択図】図1
特許請求の範囲
【請求項1】
回路部を備え、
前記回路部は、第1のこぎり波と、前記第1のこぎり波と異なる第2のこぎり波と、に基づいて、第1出力信号及び第2出力信号を出力するよう構成され、
前記第1出力信号は、第1時刻に第1電位から第2電位に変化し、前記第1出力信号は、第2時刻に前記第2電位から前記第1電位に変化し、前記第2出力信号は、前記第1時刻に第3電位から第4電位に変化し、前記第2出力信号は、第3時刻に前記第4電位から前記第3電位に変化し、前記第3時刻は、前記第1時刻の後であり前記第2時刻の前である、半導体駆動装置。
続きを表示(約 1,400 文字)
【請求項2】
前記第1のこぎり波の第1バイアス値は、前記第2のこぎり波の第2バイアス値と異なる、請求項1に記載の半導体駆動装置。
【請求項3】
前記第1のこぎり波の第1周期は、前記第2のこぎり波の第2周期と実質的に同じであり、
前記第1のこぎり波の第1位相は、前記第2のこぎり波の第2位相と実質的に同じである、請求項2に記載の半導体駆動装置。
【請求項4】
前記回路部は、第1回路と、第2回路と、を含み、
前記第1回路は、前記第1のこぎり波の第1のこぎり波信号、及び、前記第2のこぎり波の第2のこぎり波信号を出力するように構成され、
前記第2回路は、前記第1のこぎり波信号及び前記第2のこぎり波信号に基づいて、前記第1出力信号及び前記第2出力信号を出力するよう構成された、請求項3に記載の半導体駆動装置。
【請求項5】
前記回路部は、第3回路をさらに含み、
前記第3回路は、時間的に変化する第3信号を出力するように構成され、
前記第2回路は、前記第3信号と前記第1のこぎり波信号との第1差に基づいて、前記第1出力信号を出力するように構成され、
前記第2回路は、前記第3信号と前記第2のこぎり波信号との第2差に基づいて、前記第2出力信号を出力するように構成された、請求項4に記載の半導体駆動装置。
【請求項6】
前記第3信号は、正弦波を含み、
前記正弦波の第3周期は、前記第1周期よりも長く、前記第2周期よりも長い、請求項5に記載の半導体駆動装置。
【請求項7】
前記回路部は、第1端子及び第2端子を含み、
第1動作において、前記第1端子は前記第1出力信号を出力するように構成され、前記第2端子は前記第2出力信号を出力するように構成され、
第2動作において、前記第1端子は前記第2出力信号を出力するように構成され、前記第2端子は前記第1出力信号を出力するように構成された、請求項1のいずれか1つに記載の半導体駆動装置。
【請求項8】
前記回路部は、第4回路をさらに含み、
前記第4回路は、前記第1動作と前記第2動作を切り替えるように構成された、請求項7に記載の半導体駆動装置。
【請求項9】
前記回路部は、前記第1出力信号及び前記第2出力信号を半導体装置に供給するように構成され、
前記半導体装置は、第1ゲート及び第2ゲートを含むトランジスタを含み、
前記第1出力信号及び前記第2出力信号の一方は、前記第1ゲートに供給され、
前記第1出力信号及び前記第2出力信号の他方は、前記第2ゲートに供給される、請求項1~8のいずれか1つに記載の半導体駆動装置。
【請求項10】
請求項1に記載の半導体駆動装置と、
半導体装置と、
を備え、
前記回路部は、前記第1出力信号及び前記第2出力信号を前記半導体装置に供給するように構成され、
前記半導体装置は、第1ゲート及び第2ゲートを含むトランジスタを含み、
前記第1出力信号及び前記第2出力信号の一方は、前記第1ゲートに供給され、
前記第1出力信号及び前記第2出力信号の他方は、前記第2ゲートに供給される、半導体モジュール。
発明の詳細な説明
【技術分野】
【0001】
本発明の実施形態は、半導体駆動装置、及び、半導体モジュールに関する。
続きを表示(約 1,400 文字)
【背景技術】
【0002】
半導体駆動装置により、トランジスタなどの半導体装置が駆動される。半導体駆動装置において、特性の向上が望まれる。
【先行技術文献】
【特許文献】
【0003】
特開2021-168543号公報
【発明の概要】
【発明が解決しようとする課題】
【0004】
本発明の実施形態は、特性を向上できる半導体駆動装置、及び、半導体モジュールを提供する。
【課題を解決するための手段】
【0005】
本発明の実施形態によれば、半導体駆動装置は、回路部を含む。前記回路部は、第1のこぎり波と、前記第1のこぎり波と異なる第2のこぎり波と、に基づいて、第1出力信号及び第2出力信号を出力するよう構成される。前記第1出力信号は、第1時刻に第1電位から第2電位に変化する。前記第1出力信号は、第2時刻に前記第2電位から前記第1電位に変化する。前記第2出力信号は、前記第1時刻に第3電位から第4電位に変化する。前記第2出力信号は、第3時刻に前記第4電位から前記第3電位に変化する。前記第3時刻は、前記第1時刻の後であり前記第2時刻の前である。
【図面の簡単な説明】
【0006】
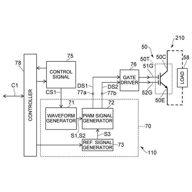
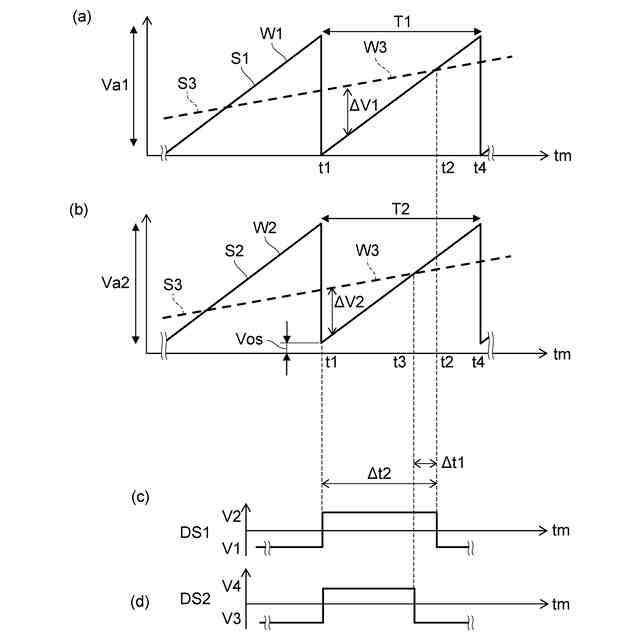
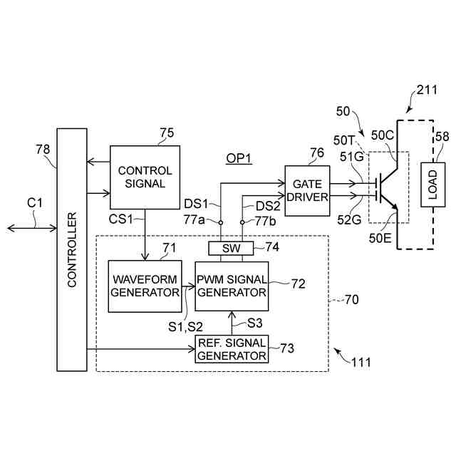
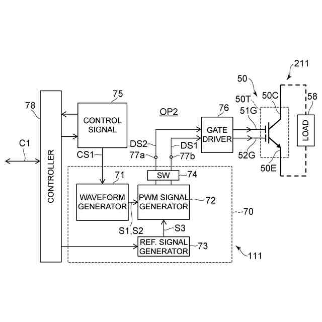
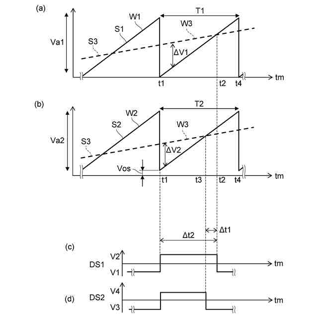
図1(a)~図1(d)は、第1実施形態に係る半導体駆動装置を例示する模式図である。
図2は、第1実施形態に係る半導体駆動装置を例示する模式図である。
図3(a)~図3(c)は、第1実施形態に係る半導体駆動装置を例示する模式図である。
図4は、第1実施形態に係る半導体駆動装置を例示する模式図である。
図5は、第1実施形態に係る半導体駆動装置を例示する模式図である。
【発明を実施するための形態】
【0007】
以下に、本発明の各実施の形態について図面を参照しつつ説明する。
図面は模式的または概念的なものであり、各部分の厚さと幅との関係、部分間の大きさの比率などは、必ずしも現実のものと同一とは限らない。同じ部分を表す場合であっても、図面により互いの寸法や比率が異なって表される場合もある。
本願明細書と各図において、既出の図に関して前述したものと同様の要素には同一の符号を付して詳細な説明は適宜省略する。
【0008】
(第1実施形態)
図1(a)~図1(d)は、第1実施形態に係る半導体駆動装置を例示する模式図である。
図2は、第1実施形態に係る半導体駆動装置を例示する模式図である。
図3(a)~図3(c)は、第1実施形態に係る半導体駆動装置を例示する模式図である。
図2に示すように、実施形態に係る半導体駆動装置110は、回路部70を含む。
【0009】
回路部70は、第1のこぎり波と、第2のこぎり波と、に基づいて、第1出力信号及び第2出力信号を出力するよう構成される。
【0010】
図1(a)は、第1のこぎり波W1を例示している。図1(b)は、第2のこぎり波W2を例示している。図1(c)は、第1出力信号DS1を例示している。図1(d)は、第2出力信号DS2を例示している。これらの図の横軸は、時間tmである。
(【0011】以降は省略されています)
この特許をJ-PlatPat(特許庁公式サイト)で参照する
関連特許
株式会社東芝
電子源
3日前
株式会社東芝
半導体装置
3日前
株式会社東芝
半導体装置
4日前
株式会社東芝
真空バルブ
4日前
株式会社東芝
半導体装置
4日前
株式会社東芝
半導体装置
10日前
株式会社東芝
半導体装置
3日前
株式会社東芝
電気化学装置
3日前
株式会社東芝
光電流センサ
4日前
株式会社東芝
半導体デバイス
4日前
株式会社東芝
半導体デバイス
4日前
株式会社東芝
磁気ディスク装置
5日前
株式会社東芝
地熱発電システム
10日前
株式会社東芝
センサ及び電子装置
5日前
株式会社東芝
原子力設備冠水方法
3日前
株式会社東芝
踏板フレーム及び踏板
10日前
株式会社東芝
ウエーハ及び半導体装置
11日前
株式会社東芝
ウエーハ及び半導体装置
11日前
株式会社東芝
電源装置及び電源制御方法
10日前
株式会社東芝
半導体装置及びその製造方法
5日前
株式会社東芝
情報処理装置、およびシステム
10日前
株式会社東芝
原子炉格納容器内検査作業装置
3日前
株式会社東芝
回転体のシールフィンの補修方法
3日前
株式会社東芝
情報処理プログラム及び情報処理装置
10日前
株式会社東芝
交通管制装置、および、交通管制方法
3日前
株式会社東芝
電子源、電子装置、及び、電子放出方法
3日前
株式会社東芝
検査装置、検査システムおよびプログラム
4日前
株式会社東芝
半導体駆動装置、及び、半導体モジュール
3日前
株式会社東芝
ディスク装置及びヘッドジンバルアセンブリ
4日前
株式会社東芝
二酸化炭素電解装置および二酸化炭素電解方法
4日前
株式会社東芝
静止誘導電器及び静止誘導電器の低騒音化方法
3日前
株式会社東芝
プログラム、情報処理装置および情報処理方法
11日前
株式会社東芝
プログラム、情報処理装置および情報処理方法
5日前
株式会社東芝
通信システム、端末装置、通信デバイス及び方法
3日前
株式会社東芝
熱アシスト磁気記録再生装置、及びその調整方法
11日前
株式会社東芝
供給装置、圧着装置、及び端子ケーブルの製造方法
12日前
続きを見る
他の特許を見る