TOP
|
特許
|
意匠
|
商標
特許ウォッチ
Twitter
他の特許を見る
10個以上の画像は省略されています。
公開番号
2025172471
公報種別
公開特許公報(A)
公開日
2025-11-26
出願番号
2024077996
出願日
2024-05-13
発明の名称
供給装置、圧着装置、及び端子ケーブルの製造方法
出願人
株式会社東芝
代理人
弁理士法人鈴榮特許綜合事務所
主分類
H01R
43/048 20060101AFI20251118BHJP(基本的電気素子)
要約
【課題】導線部分を保護できる、供給装置、圧着装置、及び端子ケーブルの製造方法を提供すること
【解決手段】実施形態に係る供給装置は、圧着ペンチに取付けられ、材料を保持する収容部を有するタンク部と、前記収容部に連通する吐出流路を有するノズル部と、前記圧着ペンチの圧着動作に伴い、前記吐出流路を開閉する開閉弁と、を備える。
【選択図】 図3
特許請求の範囲
【請求項1】
圧着具に取付けられ、
材料を保持する収容部を有するタンク部と、
前記収容部に連通する吐出流路を有するノズル部と、
前記圧着具の圧着動作に伴い、前記吐出流路を開閉する開閉弁と、を備える、
供給装置。
続きを表示(約 590 文字)
【請求項2】
前記圧着具は開閉部材を有する圧着ペンチであり、
前記開閉弁は、前記吐出流路を開閉する弁体と、
前記弁体に接続され、前記圧着ペンチの開閉部材と連動し、前記開閉部材が閉じるときに、前記弁体を押し上げることで前記吐出流路を開く、レバーと、
を備える、請求項1に記載の供給装置。
【請求項3】
前記タンク部または前記ノズル部が、前記開閉部材に固定され、
前記レバーの先端が圧着対象物に当接した状態で、前記タンク部またはノズル部が前記圧着対象物に向けて第1方向の一方側に移動すると、前記弁体が、前記ノズル部に対して第1方向の他方側に相対移動することで、前記吐出流路を開く、請求項2に記載の供給装置。
【請求項4】
請求項1乃至3のいずれかに記載の供給装置と、
前記供給装置が取付けられ、圧着対象物を挟んで開閉する開閉部を備える、圧着装置。
【請求項5】
ケーブルを、筒状のスリーブに挿入することと、
開閉部材によって前記スリーブを挟む圧着動作により、前記スリーブを圧縮して前記スリーブと前記ケーブルとを圧着固定するとともに、前記開閉部材に設けられタンク部及びノズル部を有する供給装置の前記ノズル部から塗布材を吐出させることと、
を備える、端子ケーブルの製造方法。
発明の詳細な説明
【技術分野】
【0001】
本発明の実施形態は、供給装置、圧着装置、及び端子ケーブルの製造方法に関する。
続きを表示(約 1,500 文字)
【背景技術】
【0002】
配電盤や制御盤などの装置の電気接続において、圧着端子を備える端子ケーブルが用いられる。端子ケーブルの製造方法において、筒状のスリーブと端子とを一体に有するスリーブ端子において、スリーブに形成される挿入穴に、複数の導線を被覆したケーブルの端部を挿入し、スリーブの外周を挟んで圧着することで、スリーブと端子とケーブルとを圧着接続する。
【0003】
このような端子ケーブルは、ケーブルの導線部分が露出していると、発錆や腐食などの不具合が生じるため、熱収縮チューブを被せたり、液状の樹脂部材でコーティングしたりすることで、防腐、防水処理を施すことにより導線部分を保護している。例えば、例えば圧着工程の後に、露出した導線に液状の樹脂部材である防食剤を塗布し、紫外線を照射することにより硬化させている。
【先行技術文献】
【特許文献】
【0004】
WO2012/018049
特開2020-009707号公報
【発明の概要】
【発明が解決しようとする課題】
【0005】
本発明が解決しようとする課題は、導線部分を保護できる、供給装置、圧着装置、及び端子ケーブルの製造方法を提供することである。
【課題を解決するための手段】
【0006】
実施形態に係る供給装置は、圧着ペンチに取付けられ、材料を保持する収容部を有するタンク部と、前記収容部に連通する吐出流路を有するノズル部と、前記圧着ペンチの圧着動作に伴い、前記吐出流路を開閉する開閉弁と、を備える。
【図面の簡単な説明】
【0007】
第1実施形態に係る端子ケーブルの製造方法を示す説明図。
同端子ケーブルの製造方法を示す説明図。
同端子ケーブルの製造方法を示す説明図。
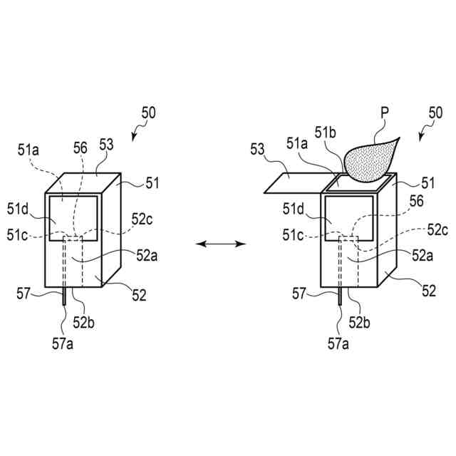
同実施形態に係る供給装置の説明図。
同供給装置の押上弁の斜視図。
同実施形態に係る供給装置の構成を示す説明図。
同供給装置のノズルブロックの変形例を示す説明図。
同供給装置の押上弁の変形例を示す説明図。
他の実施形態にかかる供給装置の説明図。
【発明を実施するための形態】
【0008】
以下、第1実施形態に係る圧着装置及び端子ケーブル1の製造方法について、図1乃至図5を用いて説明する。図1乃至図3は、第1実施形態に係る端子ケーブル1の製造方法を示す説明図である。図4は、供給装置の説明図であり、図5は押し上げレバーの斜視図である。図6供給装置の構成を示す説明図であり、図7はノズルブロックの変形例を示す説明図、図8は押上弁の変形例を示す説明図である。図9は他の実施形態にかかる供給装置の説明図である。
図中X、Y、Zは互いに直交または交差する3方向をそれぞれ示す。なお、各図において説明のため、適宜構成を拡大、縮小または省略して示している。また、図2,図3,及び図8において、供給装置50のブロック51,52の一部を切断し、断面にて示している。
【0009】
図1に示すように、本実施形態にかかる端子ケーブル1は、ケーブル10と、端子スリーブ20と、を備える。
【0010】
ケーブル10は、導体11と、導体11の外周部を覆う絶縁カバー12と、を備える。ケーブル10は例えば絶縁電線であり、先端部において絶縁カバー12が剥離されて内部の導体11が部分的に露出する導線部分11aを有する。端子スリーブ20に、圧着接続される。導体11は例えば複数の導線111が束ねられたより線である。なお、導体11は単線であってもよい。
(【0011】以降は省略されています)
この特許をJ-PlatPat(特許庁公式サイト)で参照する
関連特許
株式会社東芝
センサ
3か月前
株式会社東芝
固定子
3か月前
株式会社東芝
センサ
2か月前
株式会社東芝
端子台
29日前
株式会社東芝
モータ
1か月前
株式会社東芝
センサ
2か月前
株式会社東芝
電子装置
1か月前
株式会社東芝
電子装置
1か月前
株式会社東芝
吸音装置
1か月前
株式会社東芝
金型構造
2か月前
株式会社東芝
電子回路
1か月前
株式会社東芝
除去装置
22日前
株式会社東芝
半導体装置
1か月前
株式会社東芝
半導体装置
2か月前
株式会社東芝
半導体装置
2か月前
株式会社東芝
半導体装置
1か月前
株式会社東芝
半導体装置
今日
株式会社東芝
半導体装置
1か月前
株式会社東芝
高周波回路
1か月前
株式会社東芝
半導体装置
1か月前
株式会社東芝
真空バルブ
1か月前
株式会社東芝
半導体装置
2か月前
株式会社東芝
半導体装置
1か月前
株式会社東芝
半導体装置
2か月前
株式会社東芝
電動送風機
3か月前
株式会社東芝
半導体装置
1か月前
株式会社東芝
半導体装置
2か月前
株式会社東芝
半導体装置
1か月前
株式会社東芝
半導体装置
1か月前
株式会社東芝
半導体装置
2か月前
株式会社東芝
半導体装置
2か月前
株式会社東芝
半導体装置
1か月前
株式会社東芝
真空バルブ
1か月前
株式会社東芝
半導体装置
1か月前
株式会社東芝
半導体装置
1か月前
株式会社東芝
半導体装置
1か月前
続きを見る
他の特許を見る