TOP
|
特許
|
意匠
|
商標
特許ウォッチ
Twitter
他の特許を見る
10個以上の画像は省略されています。
公開番号
2025177322
公報種別
公開特許公報(A)
公開日
2025-12-05
出願番号
2024084033
出願日
2024-05-23
発明の名称
通信システム、端末装置、通信デバイス及び方法
出願人
株式会社東芝
代理人
弁理士法人スズエ国際特許事務所
主分類
H04L
9/08 20060101AFI20251128BHJP(電気通信技術)
要約
【課題】通信に用いられる証明書の発行を容易に行うことが可能な通信システム、端末装置、通信デバイス及び方法を提供することにある。
【解決手段】実施形態によれば、通信デバイス、端末装置及び認証局を備える通信システムが提供される。通信デバイスは、当該通信デバイスがサーバ装置と通信を実行するために用いられる証明書の発行を要求する証明書署名要求を端末装置に送信する。端末装置は、通信デバイスから送信された証明書署名要求を認証局に送信する。認証局は、端末装置から送信された証明書署名要求に応じて証明書を発行する。証明書が発行された場合、通信デバイス及びサーバ装置間で当該証明書を用いた認証処理を実行するために必要な事前登録情報がサーバ装置に登録される。
【選択図】図1
特許請求の範囲
【請求項1】
通信デバイス、端末装置及び認証局を備える通信システムにおいて、
前記通信デバイスは、当該通信デバイスがサーバ装置と通信を実行するために用いられる証明書の発行を要求する証明書署名要求を前記端末装置に送信し、
前記端末装置は、前記通信デバイスから送信された証明書署名要求を前記認証局に送信し、
前記認証局は、前記端末装置から送信された証明書署名要求に応じて前記証明書を発行し、
前記証明書が発行された場合、前記通信デバイス及び前記サーバ装置間で当該証明書を用いた認証処理を実行するために必要な事前登録情報が前記サーバ装置に登録される
通信システム。
続きを表示(約 900 文字)
【請求項2】
前記認証局において発行された証明書は、当該認証局から前記端末装置に送信された後に当該端末装置から前記通信デバイスに送信され、当該通信デバイスに登録される請求項1記載の通信システム。
【請求項3】
前記通信デバイスは、前記登録された証明書及び事前登録情報を用いた当該通信デバイスに対する認証処理が実行されることによって当該通信デバイスが認証された場合に前記サーバ装置との通信を実行する請求項2記載の通信システム。
【請求項4】
前記事前登録情報は、前記通信デバイスを識別するためのデバイス識別情報及び前記証明書を識別するための証明書識別情報を含む請求項3記載の通信システム。
【請求項5】
前記事前登録情報は、前記端末装置から前記サーバ装置に送信され、当該サーバ装置に登録される請求項4記載の通信システム。
【請求項6】
前記端末装置は、前記通信デバイスから送信された証明書署名要求からデバイス識別情報を取得し、前記認証局から送信された証明書から証明書識別情報を取得する請求項5記載の通信システム。
【請求項7】
前記端末装置は、前記証明書署名要求とは別個に前記通信デバイスから送信されたデバイス識別情報を取得し、前記証明書とは別個に前記認証局から送信された証明書識別情報を取得する請求項5記載の通信システム。
【請求項8】
前記事前登録情報は、前記認証局から前記サーバ装置に送信され、当該サーバ装置に登録される請求項4記載の通信システム。
【請求項9】
前記認証局は、前記端末装置から送信された証明書署名要求からデバイス識別情報を取得し、前記認証局の内部に保持されている証明書識別情報を取得する請求項8記載の通信システム。
【請求項10】
前記認証局は、前記証明書署名要求とは別個に前記端末装置から送信されたデバイス識別情報を取得し、前記認証局の内部に保持されている証明書識別情報を取得する請求項8記載の通信システム。
(【請求項11】以降は省略されています)
発明の詳細な説明
【技術分野】
【0001】
本発明の実施形態は、通信システム、端末装置、通信デバイス及び方法に関する。
続きを表示(約 2,100 文字)
【背景技術】
【0002】
IoT(Internet of Things)と称される技術においては、エッジデバイス(通信デバイス)をネットワークに接続することによって、各種IoTサービスを実現することが可能となる。
【0003】
ところで、上記したエッジデバイスがネットワークを介してIoTサービスを提供するサーバ装置等と通信を実行するためには、当該通信におけるセキュリティを担保するための証明書(例えば、公開鍵暗号方式におけるエッジデバイスの公開鍵に対する証明書)が必要であるが、例えば当該エッジデバイスを所有するユーザ側で当該証明書の発行を行うには手間がかかる。
【先行技術文献】
【特許文献】
【0004】
特開2021-100227号公報
特開2023-073479号公報
【発明の概要】
【発明が解決しようとする課題】
【0005】
そこで、本発明が解決しようとする課題は、通信に用いられる証明書の発行を容易に行うことが可能な通信システム、端末装置、通信デバイス及び方法を提供することにある。
【課題を解決するための手段】
【0006】
実施形態によれば、通信デバイス、端末装置及び認証局を備える通信システムが提供される。前記通信デバイスは、当該通信デバイスがサーバ装置と通信を実行するために用いられる証明書の発行を要求する証明書署名要求を前記端末装置に送信する。前記端末装置は、前記通信デバイスから送信された証明書署名要求を前記認証局に送信する。前記認証局は、前記端末装置から送信された証明書署名要求に応じて前記証明書を発行する。前記証明書が発行された場合、前記通信デバイス及び前記サーバ装置間で当該証明書を用いた認証処理を実行するために必要な事前登録情報が前記サーバ装置に登録される。
【図面の簡単な説明】
【0007】
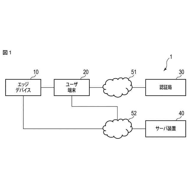
第1実施形態に係る通信システムのシステム構成の一例を示す図。
エッジデバイスの機能構成の一例を示す図。
デバイス情報のデータ構造の一例を示す図。
ユーザ端末の機能構成の一例を示す図。
ユーザ情報のデータ構造の一例を示す図。
サーバ情報のデータ構造の一例を示す図。
認証局の機能構成の一例を示す図。
エッジデバイスのハードウェア構成の一例を示す図。
通信システムの処理手順の一例を示すシーケンスチャート。
デバイス確認画面の一例を示す図。
検証情報のデータ構造の一例を示す図。
検証情報のデータ構造の他の例を示す図。
検証情報のデータ構造の更に別の例を示す図。
検証情報のデータ構造の更に別の例を示す図。
発行履歴情報のデータ構造の一例を示す図。
本実施形態の比較例における公開鍵証明書の発行の概要を示す図。
本実施形態における公開鍵証明書の発行の概要を示す図。
第2実施形態に係る通信システムのシステム構成の一例を示す図。
認証局の機能構成の一例を示す図。
通信システムの処理手順の一例を示すシーケンスチャート。
第3実施形態に係る通信システムのシステム構成の一例を示す図。
エッジデバイスの機能構成の一例を示す図。
通信システムの処理手順の一例を示すシーケンスチャート。
第4実施形態に係る通信システムのシステム構成の一例を示す図。
ユーザ端末の機能構成の一例を示す図。
通信システムの処理手順の一例を示すシーケンスチャート。
第5実施形態に係る通信システムのシステム構成の一例を示す図。
【発明を実施するための形態】
【0008】
以下、図面を参照して、各実施形態について説明する。
(第1実施形態)
まず、第1実施形態について説明する。図1は、本実施形態に係る通信システムのシステム構成の一例を示す。図1に示すように、通信システム1は、エッジデバイス10、ユーザ端末20(クライアント端末)、認証局30及びサーバ装置40を備える。
【0009】
エッジデバイス10は、IoTと称される技術において用いられるデバイスであり、当該エッジデバイス10の動作を制御するように構成されているホストコントローラ及び当該エッジデバイス10に通信機能を提供するように構成されている通信デバイスを搭載する。
【0010】
なお、ホストコントローラ及び通信デバイスは例えばUSBコネクタ又はピンスロットコネクタのようなエッジデバイス10に設けられている接続インタフェースを介して接続されるが、ホストコントローラと通信デバイスとの間では、例えばI2C、UART及びSPIのようなシリアル方式の通信が行われてもよいし、パラレル方式の通信が行われてもよい。
(【0011】以降は省略されています)
この特許をJ-PlatPat(特許庁公式サイト)で参照する
関連特許
株式会社東芝
モータ
2か月前
株式会社東芝
電子源
6日前
株式会社東芝
端子台
1か月前
株式会社東芝
センサ
2か月前
株式会社東芝
センサ
2か月前
株式会社東芝
金型構造
2か月前
株式会社東芝
吸音装置
2か月前
株式会社東芝
電子装置
1か月前
株式会社東芝
電子回路
1か月前
株式会社東芝
除去装置
1か月前
株式会社東芝
電子装置
2か月前
株式会社東芝
半導体装置
7日前
株式会社東芝
真空バルブ
7日前
株式会社東芝
半導体装置
2か月前
株式会社東芝
半導体装置
2か月前
株式会社東芝
半導体装置
21日前
株式会社東芝
半導体装置
7日前
株式会社東芝
半導体装置
1か月前
株式会社東芝
半導体装置
2か月前
株式会社東芝
半導体装置
2か月前
株式会社東芝
半導体装置
1か月前
株式会社東芝
半導体装置
1か月前
株式会社東芝
半導体装置
1か月前
株式会社東芝
半導体装置
2か月前
株式会社東芝
真空バルブ
1か月前
株式会社東芝
高周波回路
1か月前
株式会社東芝
半導体装置
1か月前
株式会社東芝
半導体装置
2か月前
株式会社東芝
半導体装置
2か月前
株式会社東芝
半導体装置
13日前
株式会社東芝
半導体装置
2か月前
株式会社東芝
半導体装置
1か月前
株式会社東芝
半導体装置
2か月前
株式会社東芝
半導体装置
1か月前
株式会社東芝
粒子加速器
2か月前
株式会社東芝
真空バルブ
2日前
続きを見る
他の特許を見る