TOP
|
特許
|
意匠
|
商標
特許ウォッチ
Twitter
他の特許を見る
公開番号
2025176861
公報種別
公開特許公報(A)
公開日
2025-12-05
出願番号
2024083219
出願日
2024-05-22
発明の名称
スパッツ装置
出願人
トヨタ自動車株式会社
代理人
弁理士法人YKI国際特許事務所
主分類
B62D
37/02 20060101AFI20251128BHJP(鉄道以外の路面車両)
要約
【課題】車両を輸送する際のスパッツの損傷を抑制する。
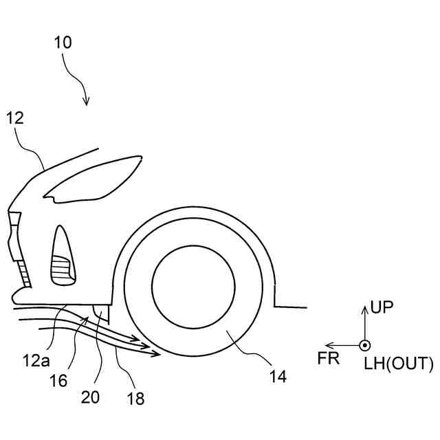
【解決手段】スパッツ装置16は、車体下部12aに取り付けられて車輪に向かう走行気流を偏向する弾性変形可能なスパッツ20と、スパッツ20を折り畳んだ状態で車体下部12aに保持するための固定構造とを含む。スパッツ20は下縁に固定片28を有する。固定構造は、車体下部12aに設けられたクリップ受け部36と、これに係合するクリップ34とを有する。クリップ受け部36に係合するクリップ34によって固定片28を車体下部12aに固定して、スパッツ20を折り畳まれた状態に保持する。
【選択図】図3
特許請求の範囲
【請求項1】
車輪前方の車体下部に設けられたスパッツ装置であって、
前記車体下部に取り付けられ、前記車輪に向かう走行気流を偏向する弾性変形可能なスパッツと、
前記車体下部の前記スパッツ近傍に設けられた固定構造と、
を含み、
前記スパッツは、前記固定構造によって前記車体下部に固定される固定片を下縁に有し、
前記固定片が前記車体下部に固定されることで前記スパッツが折り畳まれた状態に維持される、スパッツ装置。
続きを表示(約 420 文字)
【請求項2】
請求項1に記載のスパッツ装置であって、
前記スパッツの前記固定片には係合穴が形成されており、
前記固定構造は、前記車体下部に設けられたクリップ受け部と、前記固定片の前記係合穴を貫通し、前記クリップ受け部に係合して前記固定片を前記車体下部に固定するクリップと、を有する、
スパッツ装置。
【請求項3】
請求項1に記載のスパッツ装置であって、前記固定構造は、前記固定片を受け入れる前記車体下部に設けられた受入スリットを有する、スパッツ装置。
【請求項4】
請求項1から3のいずれか1項に記載のスパッツ装置であって、
前記スパッツは、上縁が下縁よりも前方に位置するよう配置された前壁と、前記前壁の左右の両側縁からそれぞれ後方に延びて配置された左右の側壁と、を有し、
前記左右の側壁には、当該スパッツを折り畳み易いように折れ筋が形成されている、スパッツ装置。
発明の詳細な説明
【技術分野】
【0001】
本発明は、車両の、車輪前方の車体下部に設けられるスパッツ装置に関する。
続きを表示(約 1,300 文字)
【背景技術】
【0002】
車輪前方の車体下部に設けられ、車輪に向かう走行気流を車輪から逸らすスパッツが知られている。下記特許文献1には、車両の前輪(12)の前方に設けられたスパッツ(14a,14b,14c)と、スパッツを展開位置と収納位置の間で移動させるスパッツ動作機構(16a,16b,16c)が開示されている。悪路走行中である可能性が高いとき、後退しているとき、被牽引車を牽引しているときなどの所定の条件の下に、スパッツ動作機構がスパッツを移動させて格納位置とする。スパッツを展開する必要がないとき格納しておくことで、路面のスパッツへの干渉が抑制される。なお、上記の括弧内の符号は、下記特許文献1で用いられている符号であり、本願の実施形態の説明で用いられる符号とは関連しない。
【先行技術文献】
【特許文献】
【0003】
特開2022-118583号公報
【発明の概要】
【発明が解決しようとする課題】
【0004】
路面や縁石にスパッツが当たったときの車体へのダメージを低減するためにスパッツをゴム等の変形可能な材料から構成することができる。この場合、車両を顧客に納品する前にスパッツが損傷しないようにすることが求められる。
【課題を解決するための手段】
【0005】
本発明に係るスパッツ装置は、車輪前方の車体下部に設けられており、車体下部に取り付けられて車輪に向かう走行気流を偏向する弾性変形可能なスパッツと、車体下部のスパッツ近傍に設けられた固定構造と、を含む。スパッツは、固定構造によって車体下部に固定される固定片を下縁に有し、この固定片が車体下部に固定されることでスパッツが折り畳まれた状態に維持される。
【0006】
スパッツを折り畳んだ状態に維持することで、スパッツの地上高が高くなり、スパッツの損傷が抑制される。
【0007】
上記のスパッツ装置において、スパッツの固定片には係合穴が形成されており、固定構造を、車体下部に設けられたクリップ受け部と、固定片の係合穴を貫通し、クリップ受け部に係合して固定片を車体下部に固定するクリップとを有するものとしてよい。固定片を車体下部に確実に固定保持する固定構造が提供される。
【0008】
また、上記のスパッツ装置の固定構造の他の態様として、固定構造が固定片を受け入れる、車体下部に設けられた受入スリットを有するものとしてよい。固定片を固定するための簡易な固定構造が提供される。
【0009】
上記のスパッツ装置において、スパッツは、上縁が下縁よりも前方に位置するよう配置された前壁と、前壁の左右の両側縁からそれぞれ後方に延びて配置された左右の側壁とを有してよく、左右の側壁には、当該スパッツを折り畳み易いように折れ筋が形成されてよい。折れ筋によってスパッツが折り畳み易くなる。
【発明の効果】
【0010】
車両の輸送時にスパッツを折り畳んだ状態に維持することができ、輸送の際のスパッツの損傷を抑制することができる。
【図面の簡単な説明】
(【0011】以降は省略されています)
この特許をJ-PlatPat(特許庁公式サイト)で参照する
関連特許
トヨタ自動車株式会社
方法
1日前
トヨタ自動車株式会社
車両
2日前
トヨタ自動車株式会社
タンク
1日前
トヨタ自動車株式会社
制御装置
1日前
トヨタ自動車株式会社
制御装置
1日前
トヨタ自動車株式会社
電極活物質
1日前
トヨタ自動車株式会社
予測モデル
1日前
トヨタ自動車株式会社
情報処理装置
2日前
トヨタ自動車株式会社
情報処理装置
1日前
トヨタ自動車株式会社
情報処理装置
1日前
トヨタ自動車株式会社
情報処理装置
1日前
トヨタ自動車株式会社
情報処理装置
1日前
トヨタ自動車株式会社
燃料電池セル
1日前
トヨタ自動車株式会社
車両制御装置
1日前
トヨタ自動車株式会社
車両後部構造
1日前
トヨタ自動車株式会社
情報処理装置
1日前
トヨタ自動車株式会社
車両前部構造
2日前
トヨタ自動車株式会社
情報処理装置
2日前
トヨタ自動車株式会社
蓄電装置構造
2日前
トヨタ自動車株式会社
スパッツ装置
1日前
トヨタ自動車株式会社
車両下部構造
1日前
トヨタ自動車株式会社
車両締結構造
1日前
トヨタ自動車株式会社
車両下部構造
1日前
トヨタ自動車株式会社
車両側部構造
1日前
トヨタ自動車株式会社
車両前部構造
1日前
トヨタ自動車株式会社
積層型二次電池
3日前
トヨタ自動車株式会社
データ収集装置
1日前
トヨタ自動車株式会社
燃料電池システム
1日前
トヨタ自動車株式会社
遠隔支援システム
1日前
トヨタ自動車株式会社
液体水素貯留装置
2日前
トヨタ自動車株式会社
ハイブリッド車両
1日前
トヨタ自動車株式会社
情報処理システム
1日前
トヨタ自動車株式会社
液体水素システム
2日前
トヨタ自動車株式会社
燃料電池システム
1日前
トヨタ自動車株式会社
水素エンジン車両
1日前
トヨタ自動車株式会社
車両用シート構造
1日前
続きを見る
他の特許を見る