TOP
|
特許
|
意匠
|
商標
特許ウォッチ
Twitter
他の特許を見る
公開番号
2025177935
公報種別
公開特許公報(A)
公開日
2025-12-05
出願番号
2024085100
出願日
2024-05-24
発明の名称
データ収集装置
出願人
トヨタ自動車株式会社
代理人
個人
,
個人
,
個人
,
個人
,
個人
,
個人
,
個人
主分類
G08G
1/00 20060101AFI20251128BHJP(信号)
要約
【課題】収集された道路特徴物の情報について、通信に伴うリソースを抑制できるデータ収集装置を提供する。
【解決手段】データ収集装置は、収集条件に基づいて、自車両の周辺のプローブデータを収集する収集部と、自車両から所定の範囲に検出された他車両を表す情報に基づいて、他車両がプローブデータを収集する車両であるか否かを判定する第1判定部と、第1判定部によって他車両がプローブデータを収集する車両であると判定された場合、収集条件及び他車両の自車両に対する位置関係に基づいて、収集部によって収集されたプローブデータを送信するか否かを判定する第2判定部と、第1判定部によって他車両がプローブデータを収集する車両ではないと判定された場合、又は、第2判定部によって収集部によって収集されたプローブデータを送信すると判定された場合、収集部によって収集されたプローブデータを送信することを決定する決定部と、を有する。
【選択図】図3
特許請求の範囲
【請求項1】
収集条件に基づいて、自車両の周辺のプローブデータを収集する収集部と、
前記自車両から所定の範囲に検出された他車両を表す情報に基づいて、前記他車両がプローブデータを収集する車両であるか否かを判定する第1判定部と、
前記第1判定部によって前記他車両がプローブデータを収集する車両であると判定された場合、前記収集条件及び前記他車両の前記自車両に対する位置関係に基づいて、前記収集部によって収集されたプローブデータを送信するか否かを判定する第2判定部と、
前記第1判定部によって前記他車両がプローブデータを収集する車両ではないと判定された場合、又は、前記第2判定部によって前記収集部によって収集されたプローブデータを送信すると判定された場合、前記収集部によって収集されたプローブデータを送信することを決定する決定部と、
を有する、ことを特徴とするデータ収集装置。
続きを表示(約 690 文字)
【請求項2】
前記他車両を表す情報は、前記他車両を表す画像であり、
前記第1判定部は、前記他車両を表す画像に基づいて識別された前記他車両の車種に基づいて、前記他車両がプローブデータを収集する車種であるか否かを判定する、請求項1に記載のデータ収集装置。
【請求項3】
前記収集条件は、位置の変化した道路特徴物又は障害物である道路特徴物のプローブデータを収集することを含み、前記他車両が前記自車両と同じ車線の前方に位置する場合、前記第2判定部は、プローブデータを送信しないと判定する、請求項1に記載のデータ収集装置。
【請求項4】
前記収集条件は、前記自車両の現在位置が高精度地図の作成されていない領域にあることを含み、前記他車両が前記自車両と同じ車線の前方に位置するか又は前記他車両が前記自車両とは異なる車線に位置する場合、前記第2判定部は、プローブデータを送信しないと判定する、請求項1から3の何れか一項に記載のデータ収集装置。
【請求項5】
前記他車両が前記自車両とは異なる車線に位置し、且つ、前記自車両の進行方向に対して直交する方向の前記他車両の位置が、前記自車両から基準距離未満にある場合には、前記第2判定部は、プローブデータを送信しないと判定し、
前記他車両が前記自車両とは異なる車線に位置し、且つ、前記自車両の進行方向に対して直交する方向の前記他車両の位置が、前記自車両から基準距離以上離れている場合には、前記第2判定部は、プローブデータを送信すると判定する、請求項4に記載のデータ収集装置。
発明の詳細な説明
【技術分野】
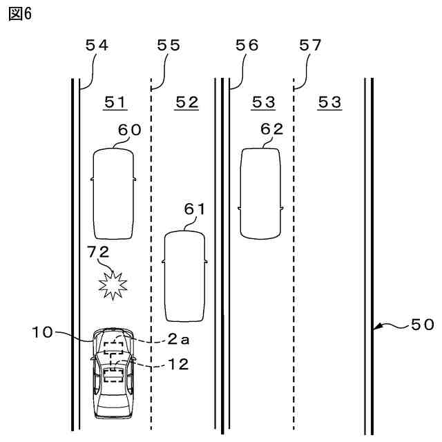
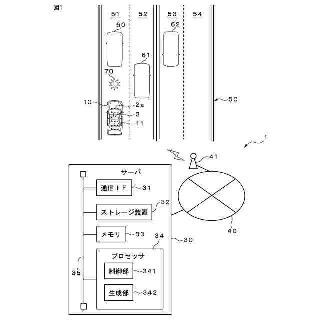
【0001】
本発明は、データ収集装置に関する。
続きを表示(約 1,400 文字)
【背景技術】
【0002】
車両の自動運転装置が車両を自動運転するために参照する高精度地図には、道路に関する情報を正確に表していることが求められる。高精度地図には、道路周辺の道路特徴物が表される。そこで、所定の領域を実際に走行した車両から、道路周辺の道路特徴物を表すプローブデータが収集される。
【0003】
車両は道路を走行しながらプローブデータを生成して、このプローブデータをサーバへ送信する。サーバは、車両からプローブデータを受信して、このプローブデータに基づいて、高精度地図を生成又は更新する(例えば、特許文献1参照)。
【0004】
同じ時間帯において、複数の車両が同じプローブ情報を収集し、サーバへ送信することがある。プローブ情報の信頼度を高める観点から複数の車両から同じプローブ情報を収集することは有用である。
【先行技術文献】
【特許文献】
【0005】
特開2007-179373号公報
【発明の概要】
【発明が解決しようとする課題】
【0006】
しかし、サーバでは、所定数のプローブ情報が収集されれば、それ以上のプローブデータの収集は不要となる場合もある。特に、同じ時間帯に収集された同じプローブデータを収集することは不要となるおそれがある。この場合、車両がプローブデータをサーバへ送信することは、通信に伴うリソースを余分に使用することになる。
【0007】
本開示は、収集された道路特徴物の情報について、通信に伴うリソースを抑制できるデータ収集装置を提供することを目的とする。
【課題を解決するための手段】
【0008】
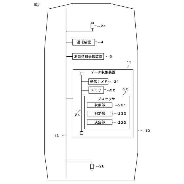
(1)一の実施形態によれば、データ収集装置が提供される。このデータ収集装置は、収集条件に基づいて、自車両の周辺のプローブデータを収集する収集部と、自車両から所定の範囲に検出された他車両を表す情報に基づいて、他車両がプローブデータを収集する車両であるか否かを判定する第1判定部と、第1判定部によって他車両がプローブデータを収集する車両であると判定された場合、収集条件及び他車両の自車両に対する位置関係に基づいて、収集部によって収集されたプローブデータを送信するか否かを判定する第2判定部と、第1判定部によって他車両がプローブデータを収集する車両ではないと判定された場合、又は、第2判定部によって収集部によって収集されたプローブデータを送信すると判定された場合、収集部によって収集されたプローブデータを送信することを決定する決定部と、を有する、ことを特徴とする。
【0009】
(2)(1)のデータ収集装置において、他車両を表す情報は、他車両を表す画像であり、第1判定部は、他車両を表す画像に基づいて識別された他車両の車種に基づいて、他車両がプローブデータを収集する車種であるか否かを判定することが好ましい。
【0010】
(3)(1)又は(2)のデータ収集装置において、収集条件は、位置の変化した道路特徴物又は障害物である道路特徴物のプローブデータを収集することを含み、他車両が自車両と同じ車線の前方に位置する場合、第2判定部は、プローブデータを送信しないと判定することが好ましい。
(【0011】以降は省略されています)
この特許をJ-PlatPat(特許庁公式サイト)で参照する
関連特許
トヨタ自動車株式会社
電池
8日前
トヨタ自動車株式会社
車両
2日前
トヨタ自動車株式会社
方法
1日前
トヨタ自動車株式会社
タンク
1日前
トヨタ自動車株式会社
制御装置
1日前
トヨタ自動車株式会社
エンジン
8日前
トヨタ自動車株式会社
制御装置
1日前
トヨタ自動車株式会社
予測モデル
1日前
トヨタ自動車株式会社
電極活物質
1日前
トヨタ自動車株式会社
電池用電極
3日前
トヨタ自動車株式会社
投影システム
8日前
トヨタ自動車株式会社
情報処理装置
1日前
トヨタ自動車株式会社
情報処理装置
1日前
トヨタ自動車株式会社
燃料電池セル
1日前
トヨタ自動車株式会社
情報処理装置
1日前
トヨタ自動車株式会社
車両下部構造
3日前
トヨタ自動車株式会社
情報処理装置
2日前
トヨタ自動車株式会社
投影システム
8日前
トヨタ自動車株式会社
アイオノマー
8日前
トヨタ自動車株式会社
車両制御装置
3日前
トヨタ自動車株式会社
スパッツ装置
1日前
トヨタ自動車株式会社
車両前部構造
2日前
トヨタ自動車株式会社
情報処理装置
2日前
トヨタ自動車株式会社
アイオノマー
8日前
トヨタ自動車株式会社
蓄電装置構造
2日前
トヨタ自動車株式会社
オイルシール
8日前
トヨタ自動車株式会社
車両前部構造
8日前
トヨタ自動車株式会社
車両側部構造
1日前
トヨタ自動車株式会社
投影システム
8日前
トヨタ自動車株式会社
情報処理装置
1日前
トヨタ自動車株式会社
車両下部構造
1日前
トヨタ自動車株式会社
車両締結構造
1日前
トヨタ自動車株式会社
車両下部構造
1日前
トヨタ自動車株式会社
情報処理装置
1日前
トヨタ自動車株式会社
投影システム
8日前
トヨタ自動車株式会社
投影システム
8日前
続きを見る
他の特許を見る