TOP
|
特許
|
意匠
|
商標
特許ウォッチ
Twitter
他の特許を見る
公開番号
2025175410
公報種別
公開特許公報(A)
公開日
2025-12-03
出願番号
2024081508
出願日
2024-05-20
発明の名称
車両下部構造
出願人
トヨタ自動車株式会社
代理人
弁理士法人深見特許事務所
主分類
B60K
1/04 20190101AFI20251126BHJP(車両一般)
要約
【課題】圧力開放弁から排出されたガスがケーブルに接触すること、及び、それに起因するケーブルの損傷を抑制することが可能な車両下部構造を提供すること。
【解決手段】車両下部構造は、少なくとも1つの蓄電スタック210と、少なくとも1つの蓄電スタック210を収容するケースと、ケースの上面に設けられた圧力開放弁230と、を含む蓄電装置200と、蓄電装置200の上方に設けられたケーブル300と、圧力開放弁230とケーブル300との間に設けられたカバー400と、を備える。
【選択図】図4
特許請求の範囲
【請求項1】
少なくとも1つの蓄電スタックと、前記少なくとも1つの蓄電スタックを収容するケースと、前記ケースの上面に設けられた圧力開放弁と、を含む蓄電装置と、
前記蓄電装置の上方に設けられたケーブルと、
前記圧力開放弁と前記ケーブルとの間に設けられたカバーと、を備える、車両下部構造。
続きを表示(約 510 文字)
【請求項2】
前記蓄電装置は、前記ケースの側面に設けられた呼吸膜をさらに含み、
前記カバーは、
前記圧力開放弁と前記ケーブルとの間に介在する介在部と、
前記圧力開放弁から排出されたガスが前記呼吸膜に向かうのを規制する規制部と、を有する、請求項1に記載の車両下部構造。
【請求項3】
前記介在部は、前記圧力開放弁の上方に位置する部位と前記呼吸膜の上方に位置する部位との間に位置する中間部を有し、
前記規制部は、前記中間部から下方に向かって延びる形状を有する、請求項2に記載の車両下部構造。
【請求項4】
車両本体をさらに備え、
前記蓄電装置は、前記車両本体の下部に取り付けられており、
前記車両本体は、
前記蓄電装置が装着された装着部と、
前記装着部から上向きに凸となるようき窪む形状を有する凹部と、を含み、
前記ケーブル及び前記介在部は、前記凹部に配置されている、請求項2又は3に記載の車両下部構造。
【請求項5】
前記ケーブルは、高電圧ケーブルを含む、請求項1に記載の車両下部構造。
発明の詳細な説明
【技術分野】
【0001】
本開示は、車両下部構造に関する。
続きを表示(約 1,100 文字)
【背景技術】
【0002】
例えば、特表2022-516519号公報には、複数の単電池と、複数の単電池を収容する電池トレイと、電池トレイに接続されたカバー板と、を備える動力電池パックが開示されている。電池トレイの側壁には、排気孔に取り付けられた電池パック防爆弁が取り付けられている。
【先行技術文献】
【特許文献】
【0003】
特表2022-516519号公報
【発明の概要】
【発明が解決しようとする課題】
【0004】
特表2022-516519号公報に記載される動力電池パックでは、電池パック防爆弁の近傍にケーブルが設けられる場合がある。この場合において、単電池から排出されると、電池パック防爆弁から排出されたガスがケーブルに接触し、ケーブルが損傷する懸念がある。
【0005】
本開示の目的は、圧力開放弁から排出されたガスがケーブルに接触すること、及び、それに起因するケーブルの損傷を抑制することが可能な車両下部構造を提供することである。
【課題を解決するための手段】
【0006】
本開示の一局面に従った車両下部構造は、少なくとも1つの蓄電スタックと、前記少なくとも1つの蓄電スタックを収容するケースと、前記ケースの上面に設けられた圧力開放弁と、を含む蓄電装置と、前記蓄電装置の上方に設けられたケーブルと、前記圧力開放弁と前記ケーブルとの間に設けられたカバーと、を備える。
【発明の効果】
【0007】
本開示によれば、圧力開放弁から排出されたガスがケーブルに接触すること、及び、それに起因するケーブルの損傷を抑制することが可能な車両下部構造を提供することができる。
【図面の簡単な説明】
【0008】
本開示の一実施形態における車両下部構造を含む車両を概略的に示す図である。
蓄電装置を概略的に示す斜視図である。
車両下部構造を下方から見上げた状態を概略的に示す斜視図である。
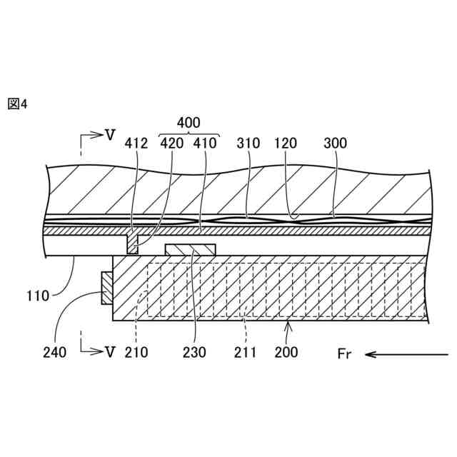
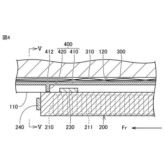
車両下部構造を概略的に示す断面図である。
図4におけるV-V線での断面図である。
【発明を実施するための形態】
【0009】
本開示の実施形態について、図面を参照して説明する。なお、以下で参照する図面では、同一又はそれに相当する部材には、同じ番号が付されている。
【0010】
図1~図5に示されるように、車両下部構造を含む車両1は、車両本体100と、蓄電装置200と、ケーブル300と、カバー400と、を備えている。
(【0011】以降は省略されています)
この特許をJ-PlatPat(特許庁公式サイト)で参照する
関連特許
トヨタ自動車株式会社
電池
1か月前
トヨタ自動車株式会社
電池
1か月前
トヨタ自動車株式会社
電池
7日前
トヨタ自動車株式会社
電池
7日前
トヨタ自動車株式会社
電池
15日前
トヨタ自動車株式会社
配管
16日前
トヨタ自動車株式会社
車両
29日前
トヨタ自動車株式会社
方法
1か月前
トヨタ自動車株式会社
車両
1か月前
トヨタ自動車株式会社
車体
29日前
トヨタ自動車株式会社
車両
15日前
トヨタ自動車株式会社
方法
29日前
トヨタ自動車株式会社
車両
1か月前
トヨタ自動車株式会社
電池
21日前
トヨタ自動車株式会社
車両
16日前
トヨタ自動車株式会社
車両
29日前
トヨタ自動車株式会社
車両
1か月前
トヨタ自動車株式会社
車両
1か月前
トヨタ自動車株式会社
方法
1か月前
トヨタ自動車株式会社
車両
1か月前
トヨタ自動車株式会社
治具
1か月前
トヨタ自動車株式会社
方法
1か月前
トヨタ自動車株式会社
車両
1か月前
トヨタ自動車株式会社
車両
1日前
トヨタ自動車株式会社
ロータ
16日前
トヨタ自動車株式会社
自動車
1か月前
トヨタ自動車株式会社
電動車
15日前
トヨタ自動車株式会社
モータ
1か月前
トヨタ自動車株式会社
電動機
1か月前
トヨタ自動車株式会社
電動車
16日前
トヨタ自動車株式会社
蓄電池
29日前
トヨタ自動車株式会社
サーバ
1か月前
トヨタ自動車株式会社
モータ
28日前
トヨタ自動車株式会社
正極層
1か月前
トヨタ自動車株式会社
蓄電装置
7日前
トヨタ自動車株式会社
蓄電装置
8日前
続きを見る
他の特許を見る