TOP
|
特許
|
意匠
|
商標
特許ウォッチ
Twitter
他の特許を見る
公開番号
2025176405
公報種別
公開特許公報(A)
公開日
2025-12-04
出願番号
2024082541
出願日
2024-05-21
発明の名称
液体水素貯留装置
出願人
トヨタ自動車株式会社
代理人
弁理士法人YKI国際特許事務所
主分類
F17C
13/00 20060101AFI20251127BHJP(ガスまたは液体の貯蔵または分配)
要約
【課題】ポートから水素タンクの内部への入熱量を低減し、水素タンクの断熱性能を向上させる。
【解決手段】車両200の中に搭載され、液体水素を貯留する水素タンク10と、水素タンク10に接続されて水素タンク10の中で気化した水素ガスを車両200の外に放出するボイルオフライン40と、を含む液体水素貯留装置100であって、水素タンク10は、外面から突出したポンプポート20を備え、ボイルオフライン40は、ポンプポート20を囲むように配置されていること、を特徴とする。
【選択図】図1
特許請求の範囲
【請求項1】
車両の中に搭載され、液体水素を貯留する水素タンクと、
前記水素タンクに接続されて前記水素タンクの中で気化した水素ガスを前記車両の外に放出するボイルオフラインと、を含む液体水素貯留装置であって、
前記水素タンクは、外面から突出した少なくとも1つのポートを備え、
前記ボイルオフラインは、少なくとも1つの前記ポートを囲むように配置されていること、
を特徴とする液体水素貯留装置。
発明の詳細な説明
【技術分野】
【0001】
本開示は、液体水素貯留装置の構造に関する。
続きを表示(約 1,400 文字)
【背景技術】
【0002】
特許文献1には、液体水素を貯留する水素タンクと、水素タンクから水素ガスを放出する配管とを含む液体水素貯留システムが開示されている。水素タンクの中に貯留された液体水素は、外気からの自然入熱で一部が気化する。気化した水素ガスは配管から外部に放出される。
【先行技術文献】
【特許文献】
【0003】
特開2024-6562号公報
【発明の概要】
【発明が解決しようとする課題】
【0004】
極低温の液体水素を貯留する水素タンクには、水素タンク内に設置する機器を取付けるためのポートや、液体水素を注入るための配管を接続するポートなど複数のポートが設けられている。極低温の液体水素を貯留する水素タンクは断熱構造となっているが、これらのポートは機器や配管を取外し可能とするために、十分な断熱構造とできない場合がある。この場合、ポートからの入熱により水素タンク内の液体水素の気化量が増加する場合がある。
【0005】
そこで、本開示はポートから水素タンクの内部への入熱量を低減し、水素タンクの断熱性能を向上させることを目的とする。
【課題を解決するための手段】
【0006】
本開示の液体水素貯留装置は、車両の中に搭載され、液体水素を貯留する水素タンクと、前記水素タンクに接続されて前記水素タンクの中で気化した水素ガスを前記車両の外に放出するボイルオフラインと、を含む液体水素貯留装置であって、前記水素タンクは、外面から突出した少なくとも1つのポートを備え、前記ボイルオフラインは、少なくとも1つの前記ポートを囲むように配置されていること、特徴とする。
【発明の効果】
【0007】
水素タンクの中で気化した低温の水素ガス、いわゆるボイルオフガスにより、ポートを冷却するので、ポートから水素タンクの内部への入熱量を低減し、水素タンクの断熱性能が向上する。
【図面の簡単な説明】
【0008】
実施形態の液体水素貯留装置の概略断面図である。
実施形態の液体水素貯留装置の平面図であって、図1に示すA-A矢視である。
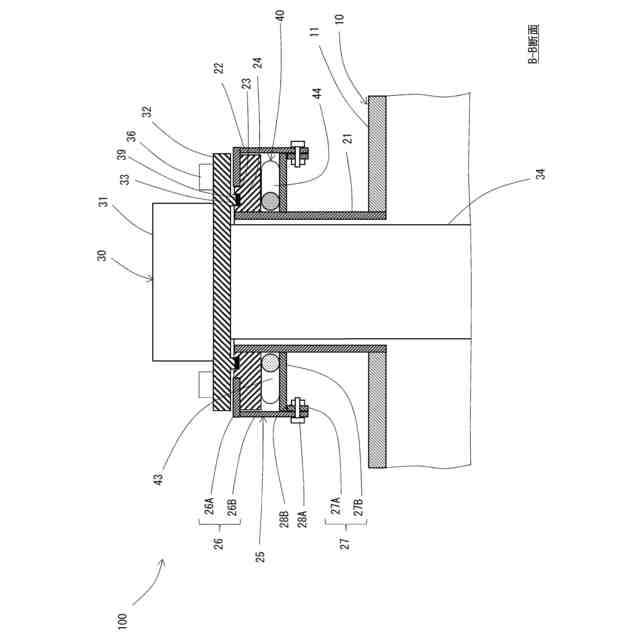
実施形態の液体水素貯留装置のポンプポートとボイルオフラインの構成を示す断面図であって、図2に示すB-B断面である。
【発明を実施するための形態】
【0009】
以下、実施形態の液体水素貯留装置100について説明する。図1に示すように、液体水素貯留装置100は、車両200に搭載され、水素を液体状態で貯留する。この場合、車両200は、水素をエネルギ源の一つとする車両、例えば、燃料電池自動車または水素エンジン自動車である。以下では、水素ガスをエンジンシリンダ内に直噴する直噴式水素エンジン(図示せず)を搭載した水素エンジン自動車に適した液体水素貯留装置100を例に挙げて説明する。
【0010】
液体水素貯留装置100は、水素タンク10と、水素ポンプ30と、ボイルオフライン40とを含んでいる。水素タンク10は、タンク本体11と、コレクタ12と、液体水素充填ポート13と、水素ガスリターンポート14と、ボイルオフガスポート15と、ポンプポート20とを含んでいる。
(【0011】以降は省略されています)
この特許をJ-PlatPat(特許庁公式サイト)で参照する
関連特許
トヨタ自動車株式会社
車両
1か月前
トヨタ自動車株式会社
車両
1か月前
トヨタ自動車株式会社
方法
1か月前
トヨタ自動車株式会社
車両
1か月前
トヨタ自動車株式会社
車両
1か月前
トヨタ自動車株式会社
電池
7日前
トヨタ自動車株式会社
電池
7日前
トヨタ自動車株式会社
車両
1か月前
トヨタ自動車株式会社
電池
1か月前
トヨタ自動車株式会社
方法
1か月前
トヨタ自動車株式会社
配管
16日前
トヨタ自動車株式会社
方法
29日前
トヨタ自動車株式会社
治具
1か月前
トヨタ自動車株式会社
車両
16日前
トヨタ自動車株式会社
車両
1か月前
トヨタ自動車株式会社
車体
29日前
トヨタ自動車株式会社
車両
29日前
トヨタ自動車株式会社
電池
1か月前
トヨタ自動車株式会社
方法
1か月前
トヨタ自動車株式会社
車両
1か月前
トヨタ自動車株式会社
車体
1か月前
トヨタ自動車株式会社
方法
1か月前
トヨタ自動車株式会社
電池
15日前
トヨタ自動車株式会社
車両
15日前
トヨタ自動車株式会社
車両
1日前
トヨタ自動車株式会社
車両
29日前
トヨタ自動車株式会社
電池
21日前
トヨタ自動車株式会社
正極層
1か月前
トヨタ自動車株式会社
モータ
1か月前
トヨタ自動車株式会社
ロータ
16日前
トヨタ自動車株式会社
蓄電池
29日前
トヨタ自動車株式会社
モータ
28日前
トヨタ自動車株式会社
電動車
16日前
トヨタ自動車株式会社
モータ
1か月前
トヨタ自動車株式会社
サーバ
1か月前
トヨタ自動車株式会社
電動車
15日前
続きを見る
他の特許を見る