TOP
|
特許
|
意匠
|
商標
特許ウォッチ
Twitter
他の特許を見る
公開番号
2025177361
公報種別
公開特許公報(A)
公開日
2025-12-05
出願番号
2024084117
出願日
2024-05-23
発明の名称
燃料電池システム
出願人
トヨタ自動車株式会社
代理人
弁理士法人片山特許事務所
主分類
H01M
8/04 20160101AFI20251128BHJP(基本的電気素子)
要約
【課題】複数のインジェクタの負荷の偏りを抑制することができる燃料電池システムを提供することを目的とする。
【解決手段】燃料電池と、前記燃料電池に供給される燃料ガスを噴射する複数のインジェクタと、複数の前記インジェクタのうち何れか一つの前記インジェクタに対して開閉を繰り返させる開閉処理を実施して残りの前記インジェクタに対して開弁状態に維持する開弁処理を実施する燃料ガス噴射制御を実行する制御装置と、を備え、前記制御装置は、前記燃料ガス噴射制御において、前記開閉処理が実施中である前記インジェクタの前記開閉処理が開始されてからの開閉回数に相関する相関値が閾値以上となるたびに、前記開閉処理が実施される何れか一つの前記インジェクタを複数の前記インジェクタの中から順次切り替える、燃料電池システム。
【選択図】図2
特許請求の範囲
【請求項1】
燃料電池と、
前記燃料電池に供給される燃料ガスを噴射する複数のインジェクタと、
複数の前記インジェクタのうち何れか一つの前記インジェクタに対して開閉を繰り返させる開閉処理を実施して残りの前記インジェクタに対して開弁状態に維持する開弁処理を実施する燃料ガス噴射制御を実行する制御装置と、を備え、
前記制御装置は、前記燃料ガス噴射制御において、前記開閉処理が実施中である前記インジェクタの前記開閉処理が開始されてからの開閉回数に相関する相関値が閾値以上となるたびに、前記開閉処理が実施される何れか一つの前記インジェクタを複数の前記インジェクタの中から順次切り替える、燃料電池システム。
発明の詳細な説明
【技術分野】
【0001】
本発明は、燃料電池システムに関する。
続きを表示(約 1,400 文字)
【背景技術】
【0002】
複数のインジェクタを備えた燃料電池システムにおいて、何れか一つのインジェクタが開閉を繰り返し、残りのインジェクタが開弁状態に維持される場合がある(特許文献1参照)。
【先行技術文献】
【特許文献】
【0003】
特開2022-028510号公報
【発明の概要】
【発明が解決しようとする課題】
【0004】
特定の同じインジェクタのみが開閉を繰り返すと、そのインジェクタのみに継続的に負荷が加わる。このため、特定のインジェクタのみを高い頻度で交換しなければならないおそれがある。
【0005】
そこで、複数のインジェクタの負荷の偏りを抑制することができる燃料電池システムを提供することを目的とする。
【課題を解決するための手段】
【0006】
上記目的は、燃料電池と、前記燃料電池に供給される燃料ガスを噴射する複数のインジェクタと、複数の前記インジェクタのうち何れか一つの前記インジェクタに対して開閉を繰り返させる開閉処理を実施して残りの前記インジェクタに対して開弁状態に維持する開弁処理を実施する燃料ガス噴射制御を実行する制御装置と、を備え、前記制御装置は、前記燃料ガス噴射制御において、前記開閉処理が実施中である前記インジェクタの前記開閉処理が開始されてからの開閉回数に相関する相関値が閾値以上となるたびに、前記開閉処理が実施される何れか一つの前記インジェクタを複数の前記インジェクタの中から順次切り替える、燃料電池システムによって達成できる。
【発明の効果】
【0007】
複数のインジェクタの負荷の偏りを抑制することができる燃料電池システムを提供できる。
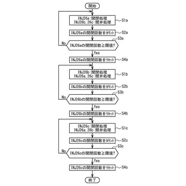
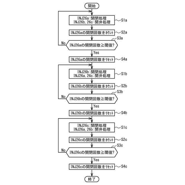
【図面の簡単な説明】
【0008】
燃料電池システムの構成図である。
燃料ガス噴射制御を例示したフローチャートである。
燃料ガス噴射制御を例示したタイミングチャートである。
【発明を実施するための形態】
【0009】
[燃料電池システムの構成]
図1は、燃料電池システム1の構成図である。燃料電池システム1は、車両に搭載されており、ECU(Electronic Control Unit)3、燃料電池(以下、FCと称する)4、酸化剤ガス供給系10、及び燃料ガス供給系20を含む。燃料電池システム1は、車両に搭載される。FC4で発電した電力は、車両の走行駆動源であるモータに供給される。
【0010】
FC4は、酸化剤ガスと燃料ガスの供給を受けて発電する固体高分子電解質型の単セルが複数積層されている。FC4内には、酸化剤ガスが流れるカソード流路4cと、燃料ガスが流れるアノード流路4aとが形成されている。単セルは、膜電極接合体とそれを挟持するカソード側のセパレータとアノード側のセパレータとから構成される。カソード流路4cは、主に膜電極接合体とカソード側のセパレータとの間で画定され、酸化剤ガスが流通可能な空間である。アノード流路4aは、膜電極接合体とアノード側のセパレータとの間で画定され、燃料ガスが流通可能な空間である。膜電極接合体は、電解質膜と、電解質膜の両面にそれぞれ形成された触媒層とを含む。
(【0011】以降は省略されています)
この特許をJ-PlatPat(特許庁公式サイト)で参照する
関連特許
トヨタ自動車株式会社
車両
16日前
トヨタ自動車株式会社
配管
16日前
トヨタ自動車株式会社
方法
今日
トヨタ自動車株式会社
電池
15日前
トヨタ自動車株式会社
車両
1日前
トヨタ自動車株式会社
車両
15日前
トヨタ自動車株式会社
電池
21日前
トヨタ自動車株式会社
電池
7日前
トヨタ自動車株式会社
車体
29日前
トヨタ自動車株式会社
電池
7日前
トヨタ自動車株式会社
方法
29日前
トヨタ自動車株式会社
ロータ
16日前
トヨタ自動車株式会社
タンク
今日
トヨタ自動車株式会社
電動車
16日前
トヨタ自動車株式会社
モータ
28日前
トヨタ自動車株式会社
蓄電池
29日前
トヨタ自動車株式会社
電動車
15日前
トヨタ自動車株式会社
制御装置
28日前
トヨタ自動車株式会社
制御装置
16日前
トヨタ自動車株式会社
蓄電装置
7日前
トヨタ自動車株式会社
学習装置
15日前
トヨタ自動車株式会社
エンジン
7日前
トヨタ自動車株式会社
蓄電装置
7日前
トヨタ自動車株式会社
蓄電装置
7日前
トヨタ自動車株式会社
制御装置
28日前
トヨタ自動車株式会社
制御装置
16日前
トヨタ自動車株式会社
推定装置
28日前
トヨタ自動車株式会社
製造設備
21日前
トヨタ自動車株式会社
路側装置
28日前
トヨタ自動車株式会社
エンジン
16日前
トヨタ自動車株式会社
塗工装置
7日前
トヨタ自動車株式会社
路側装置
28日前
トヨタ自動車株式会社
車両装置
7日前
トヨタ自動車株式会社
蓄電装置
7日前
トヨタ自動車株式会社
蓄電装置
7日前
トヨタ自動車株式会社
監視装置
21日前
続きを見る
他の特許を見る