TOP
|
特許
|
意匠
|
商標
特許ウォッチ
Twitter
他の特許を見る
公開番号
2025177369
公報種別
公開特許公報(A)
公開日
2025-12-05
出願番号
2024084131
出願日
2024-05-23
発明の名称
燃料電池システム
出願人
トヨタ自動車株式会社
代理人
弁理士法人片山特許事務所
主分類
H01M
8/04 20160101AFI20251128BHJP(基本的電気素子)
要約
【課題】燃料電池に供給される燃料ガスの流量の制御精度の低下を抑制した燃料電池システムを提供することを目的とする。
【解決手段】燃料電池と、前記燃料電池に供給される燃料ガスを噴射するリニアソレノイドバルブと、前記燃料電池から排出された燃料オフガスを排出する排出弁と、前記リニアソレノイドバルブの開度のハンチングを検知した場合に前記排出弁を開弁する制御装置と、を備えた燃料電池システム。
【選択図】図2
特許請求の範囲
【請求項1】
燃料電池と、
前記燃料電池に供給される燃料ガスを噴射するリニアソレノイドバルブと、
前記燃料電池から排出された燃料オフガスを排出する排出弁と、
前記リニアソレノイドバルブの開度のハンチングを検知した場合に前記排出弁を開弁する制御装置と、
を備えた燃料電池システム。
発明の詳細な説明
【技術分野】
【0001】
本発明は、燃料電池システムに関する。
続きを表示(約 1,200 文字)
【背景技術】
【0002】
燃料電池に供給される燃料ガスを噴射するリニアソレノイドバルブを備えた燃料電池システムがある(特許文献1参照)。
【先行技術文献】
【特許文献】
【0003】
特開2020-087520号公報
【発明の概要】
【発明が解決しようとする課題】
【0004】
リニアソレノイドバルブの開度がハンチングすると、燃料電池に供給される燃料ガスの流量の制御精度が低下するおそれがある。
【0005】
そこで、燃料電池に供給される燃料ガスの流量の制御精度の低下を抑制した燃料電池システムを提供することを目的とする。
【課題を解決するための手段】
【0006】
上記目的は、燃料電池と、前記燃料電池に供給される燃料ガスを噴射するリニアソレノイドバルブと、前記燃料電池から排出された燃料オフガスを排出する排出弁と、前記リニアソレノイドバルブの開度のハンチングを検知した場合に前記排出弁を開弁する制御装置と、を備えた燃料電池システムによって達成できる。
【発明の効果】
【0007】
燃料電池に供給される燃料ガスの流量の制御精度の低下を抑制した燃料電池システムを提供できる。
【図面の簡単な説明】
【0008】
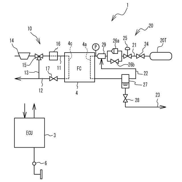
燃料電池システムの構成図である。
開度ハンチング抑制制御を例示したフローチャートである。
開度ハンチング抑制制御を例示したタイミングチャートである。
【発明を実施するための形態】
【0009】
[燃料電池システムの構成]
図1は、燃料電池システム1の構成図である。燃料電池システム1は、車両に搭載されており、ECU(Electronic Control Unit)3、燃料電池(以下、FCと称する)4、酸化剤ガス供給系10、及び燃料ガス供給系20を含む。燃料電池システム1は、車両に搭載される。FC4で発電した電力は、車両の走行駆動源であるモータに供給される。
【0010】
FC4は、酸化剤ガスと燃料ガスの供給を受けて発電する固体高分子電解質型の単セルが複数積層されている。FC4内には、酸化剤ガスが流れるカソード流路4cと、燃料ガスが流れるアノード流路4aとが形成されている。単セルは、膜電極接合体とそれを挟持するカソード側のセパレータとアノード側のセパレータとから構成される。カソード流路4cは、主に膜電極接合体とカソード側のセパレータとの間で画定され、酸化剤ガスが流通可能な空間である。アノード流路4aは、膜電極接合体とアノード側のセパレータとの間で画定され、燃料ガスが流通可能な空間である。膜電極接合体は、電解質膜と、電解質膜の両面にそれぞれ形成された触媒層とを含む。
(【0011】以降は省略されています)
この特許をJ-PlatPat(特許庁公式サイト)で参照する
関連特許
トヨタ自動車株式会社
電池
1か月前
トヨタ自動車株式会社
車両
1か月前
トヨタ自動車株式会社
方法
今日
トヨタ自動車株式会社
車両
15日前
トヨタ自動車株式会社
治具
1か月前
トヨタ自動車株式会社
方法
29日前
トヨタ自動車株式会社
車体
29日前
トヨタ自動車株式会社
車両
1か月前
トヨタ自動車株式会社
車両
29日前
トヨタ自動車株式会社
電池
21日前
トヨタ自動車株式会社
車両
1日前
トヨタ自動車株式会社
車両
29日前
トヨタ自動車株式会社
車両
1か月前
トヨタ自動車株式会社
電池
1か月前
トヨタ自動車株式会社
電池
7日前
トヨタ自動車株式会社
電池
7日前
トヨタ自動車株式会社
車両
1か月前
トヨタ自動車株式会社
車両
1か月前
トヨタ自動車株式会社
配管
16日前
トヨタ自動車株式会社
方法
1か月前
トヨタ自動車株式会社
車両
16日前
トヨタ自動車株式会社
電池
15日前
トヨタ自動車株式会社
蓄電池
29日前
トヨタ自動車株式会社
タンク
今日
トヨタ自動車株式会社
モータ
1か月前
トヨタ自動車株式会社
正極層
1か月前
トヨタ自動車株式会社
ロータ
16日前
トヨタ自動車株式会社
モータ
28日前
トヨタ自動車株式会社
電動車
15日前
トヨタ自動車株式会社
電動機
1か月前
トヨタ自動車株式会社
サーバ
1か月前
トヨタ自動車株式会社
電動車
16日前
トヨタ自動車株式会社
蓄電装置
7日前
トヨタ自動車株式会社
制御装置
7日前
トヨタ自動車株式会社
学習装置
15日前
トヨタ自動車株式会社
濾過装置
1か月前
続きを見る
他の特許を見る