TOP
|
特許
|
意匠
|
商標
特許ウォッチ
Twitter
他の特許を見る
公開番号
2025177393
公報種別
公開特許公報(A)
公開日
2025-12-05
出願番号
2024084193
出願日
2024-05-23
発明の名称
異常管理システム
出願人
トヨタ自動車株式会社
代理人
弁理士法人高田・高橋国際特許事務所
主分類
G08G
1/00 20060101AFI20251128BHJP(信号)
要約
【課題】移動体が遭遇した異常イベントについての適切な通報を適切な通報先に自動的に行えるようにする。
【解決手段】異常管理システムは、1又は複数のプロセッサを備える。1又は複数のプロセッサは、移動体に搭載されたカメラによって撮影される映像を取得する映像取得処理と、機械学習モデルを用いることによって上記映像に映っている異常イベントと異常イベントの内容を自動的に認識する異常イベント認識処理と、異常イベントの内容に応じた通報先を自動的に決定する通報先決定処理と、異常イベントの内容を示す情報と異常イベントの位置を示す位置情報とを少なくとも含む異常イベント情報を通報先に自動的に送信する通報処理と、を実行するように構成されている。
【選択図】図1
特許請求の範囲
【請求項1】
移動体に搭載されたカメラによって撮影される映像を取得する映像取得処理と、
機械学習モデルを用いることによって、前記映像に映っている異常イベントと前記異常イベントの内容を自動的に認識する異常イベント認識処理と、
前記異常イベントの前記内容に応じた通報先を自動的に決定する通報先決定処理と、
前記異常イベントの前記内容を示す情報と前記異常イベントの位置を示す位置情報とを少なくとも含む異常イベント情報を前記通報先に自動的に送信する通報処理と、
を実行するように構成された1又は複数のプロセッサを備える
異常管理システム。
続きを表示(約 1,500 文字)
【請求項2】
請求項1に記載の異常管理システムであって、
前記異常イベント情報は、前記異常イベントが認識されたタイミングを少なくとも含む対象期間において撮影された前記映像を含む
異常管理システム。
【請求項3】
請求項1に記載の異常管理システムであって、
前記1又は複数のプロセッサは、
複数の移動体にそれぞれ搭載された複数の情報処理装置に含まれる1又は複数の第1プロセッサと、
前記複数の情報処理装置と通信可能な管理装置に含まれる1又は複数の第2プロセッサと、
を含み、
前記複数の移動体のそれぞれの前記1又は複数の第1プロセッサは、
前記映像取得処理及び前記異常イベント認識処理を実行し、
前記異常イベント情報を前記管理装置に送信する
ように構成され、
前記1又は複数の第2プロセッサは、
前記複数の移動体のそれぞれから前記異常イベント情報を受信し、
前記通報先決定処理を実行し、
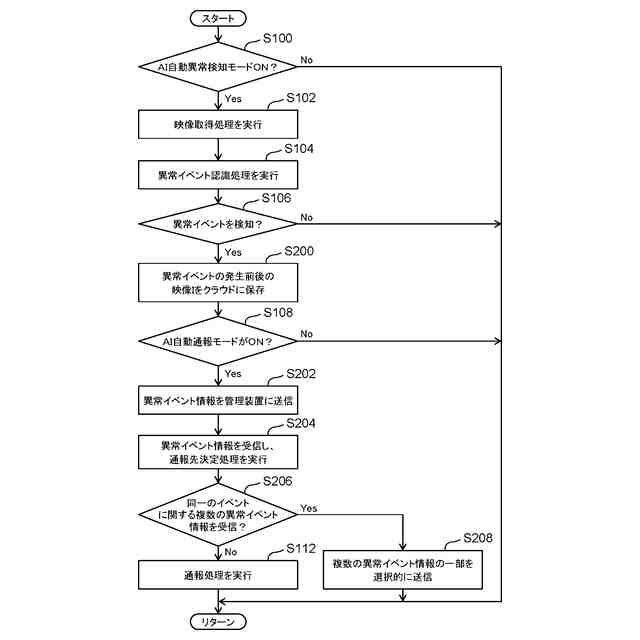
前記通報処理として、前記管理装置が同一の異常イベントに関する複数の異常イベント情報を受信したか否かを判定する判定処理と、前記管理装置が前記複数の異常イベント情報を受信した場合に前記同一の異常イベントに関する前記複数の異常イベント情報のうち一部を選択的に前記通報先に送信する処理とを実行する
ように構成された
異常管理システム。
【請求項4】
請求項3に記載の異常管理システムであって、
前記異常イベント情報は、前記異常イベントが認識された時刻を示す時刻情報を含み、
前記判定処理において、前記1又は複数の第2プロセッサは、前記位置情報と前記時刻情報に基づいて、前記管理装置が前記同一の異常イベントに関する前記複数の異常イベント情報を受信したか否かを判定する
異常管理システム。
【請求項5】
請求項3に記載の異常管理システムであって、
前記同一の異常イベントに関する前記複数の異常イベント情報は、
第1時刻に前記管理装置に到達した第1異常イベント情報と、
前記第1時刻よりも後の第2時刻に前記管理装置に到達した第2異常イベント情報と、
を含み、
前記1又は複数の第2プロセッサは、前記第1異常イベント情報を前記通報先に送信する一方で、前記第2異常イベント情報を前記通報先に送信することを控えるように構成された
異常管理システム。
【請求項6】
請求項3に記載の異常管理システムであって、
前記異常イベント情報は、前記異常イベントが認識されたタイミングを少なくとも含む対象期間において撮影された前記映像を含み、
前記同一の異常イベントに関する前記複数の異常イベント情報は、
第1時刻に前記管理装置に到達し、且つ、第1映像を前記映像として含む第1異常イベント情報と、
前記第1時刻よりも後の第2時刻に前記管理装置に到達し、且つ、第2映像を前記映像として含む第2異常イベント情報と、
を含み、
前記1又は複数の第2プロセッサは、
前記第1異常イベント情報を前記通報先に送信し、
前記第1映像と前記第2映像に基づいて、前記第1映像と前記第2映像との間の相違度合いを算出し、
前記相違度合いが閾値を超える場合、前記第2異常イベント情報を前記通報先に送信し、
前記相違度合いが前記閾値以下である場合、前記第2異常イベント情報を前記通報先に送信することを控える
ように構成された
異常管理システム。
発明の詳細な説明
【技術分野】
【0001】
本開示は、移動体に適用される異常管理システムに関する。
続きを表示(約 1,700 文字)
【背景技術】
【0002】
特許文献1は、情報処理装置と車載装置とを備える情報処理システムを開示している。車載装置は、当該車載装置を搭載する車両が他車両から煽り運転を受けていることを検出する。情報処理装置は、イベント検出通知を車載装置から受け取る。煽り運転の発生が正しいと判定した場合、情報処理装置は、警備会社又は警察の少なくとも一方に通報を行う。
【0003】
また、特許文献2から4のそれぞれは、車両が遭遇する異常イベント(例:煽り運転、交通事故)に対処する技術を開示している。
【先行技術文献】
【特許文献】
【0004】
特開2021-043552号公報
特開2021-165906号公報
特開2019-179313号公報
特開平11-345385号公報
特開平7-220191号公報
【発明の概要】
【発明が解決しようとする課題】
【0005】
車両等の移動体を運転している最中、ドライバは周囲の様々な異常イベントを発見する可能性がある。ただし、運転中にドライバが通報を行うのは困難である。また、異常イベントは煽り運転に限られず、その内容は様々であるため、適切な通報先は一種類ではない。いざ通報を行うとしても、異常イベントの内容によってはどこに通報すればよいのか直ぐに分からない可能性がある。適切ではない通報先に通報が行われた場合、通報遅れと余計な混乱を招く。
【課題を解決するための手段】
【0006】
本開示に係る異常管理システムは、1又は複数のプロセッサを備える。1又は複数のプロセッサは、移動体に搭載されたカメラによって撮影される映像を取得する映像取得処理と、機械学習モデルを用いることによって上記映像に映っている異常イベントと異常イベントの内容を自動的に認識する異常イベント認識処理と、異常イベントの内容に応じた通報先を自動的に決定する通報先決定処理と、異常イベントの内容を示す情報と異常イベントの位置を示す位置情報とを少なくとも含む異常イベント情報を通報先に自動的に送信する通報処理と、を実行するように構成されている。
【発明の効果】
【0007】
本開示によれば、カメラによって撮影される映像から異常イベントが自動的に認識され、自動的に通報が行われるため、運転中のドライバは通報を行う必要がない。また、異常イベントの内容に応じた通報先が自動的に決定され、適切な通報先に適切に通報が行われるため、通報遅れと余計な混乱が防止される。更に、異常イベントの内容と位置を含む異常イベント情報が自動的に通報先に送信されるため、ドライバが逐一説明をする必要がない。
【図面の簡単な説明】
【0008】
本開示に係る異常管理システムの概要を説明するための図である。
第1の実施形態に係る異常管理システムの構成例を示すブロック図である。
第1の実施形態に係る異常イベントの管理に関連する処理の流れの一例を示すフローチャートである。
第2の実施形態に係る異常管理システムの構成例を示すブロック図である。
第2の実施形態に係る異常イベントの管理に関連する処理の流れの一例を示すフローチャートである。
【発明を実施するための形態】
【0009】
添付図面を参照して、本開示の実施の形態を説明する。
【0010】
[異常管理システムの概要]
図1は、本開示に係る異常管理システムの概要を説明するための図である。異常管理システムは、移動体に適用されている。移動体としては、車両、ロボット、飛行体(例:ドローン)等が例示される。一例として、以下の説明においては、異常管理システムの適用対象である移動体が車両10である場合について考える。一般化する場合には、以下の説明における「車両」を「移動体」で読み替えるものとする。
(【0011】以降は省略されています)
この特許をJ-PlatPat(特許庁公式サイト)で参照する
関連特許
トヨタ自動車株式会社
電池
15日前
トヨタ自動車株式会社
車両
16日前
トヨタ自動車株式会社
配管
16日前
トヨタ自動車株式会社
車両
15日前
トヨタ自動車株式会社
車両
1日前
トヨタ自動車株式会社
方法
今日
トヨタ自動車株式会社
電池
7日前
トヨタ自動車株式会社
電池
7日前
トヨタ自動車株式会社
電動車
15日前
トヨタ自動車株式会社
電動車
16日前
トヨタ自動車株式会社
ロータ
16日前
トヨタ自動車株式会社
タンク
今日
トヨタ自動車株式会社
制御装置
16日前
トヨタ自動車株式会社
蓄電装置
7日前
トヨタ自動車株式会社
判定装置
15日前
トヨタ自動車株式会社
制御装置
15日前
トヨタ自動車株式会社
制御装置
16日前
トヨタ自動車株式会社
制御装置
15日前
トヨタ自動車株式会社
蓄電装置
8日前
トヨタ自動車株式会社
制御装置
16日前
トヨタ自動車株式会社
蓄電装置
8日前
トヨタ自動車株式会社
エンジン
16日前
トヨタ自動車株式会社
蓄電装置
7日前
トヨタ自動車株式会社
蓄電装置
7日前
トヨタ自動車株式会社
蓄電装置
7日前
トヨタ自動車株式会社
蓄電装置
7日前
トヨタ自動車株式会社
蓄電装置
7日前
トヨタ自動車株式会社
蓄電装置
7日前
トヨタ自動車株式会社
車両装置
7日前
トヨタ自動車株式会社
塗工装置
7日前
トヨタ自動車株式会社
蓄電装置
7日前
トヨタ自動車株式会社
蓄電装置
7日前
トヨタ自動車株式会社
蓄電装置
7日前
トヨタ自動車株式会社
反応容器
15日前
トヨタ自動車株式会社
蓄電装置
7日前
トヨタ自動車株式会社
コネクタ
15日前
続きを見る
他の特許を見る