TOP
|
特許
|
意匠
|
商標
特許ウォッチ
Twitter
他の特許を見る
10個以上の画像は省略されています。
公開番号
2025169857
公報種別
公開特許公報(A)
公開日
2025-11-14
出願番号
2024173012
出願日
2024-10-02
発明の名称
壁構造およびスタッド拘束具
出願人
大和ハウス工業株式会社
代理人
弁理士法人アイミー国際特許事務所
主分類
E04B
2/56 20060101AFI20251107BHJP(建築物)
要約
【課題】弱部を有する異形スタッドの面外方向への変形を抑制し得る壁構造およびスタッド拘束具を提供すること。
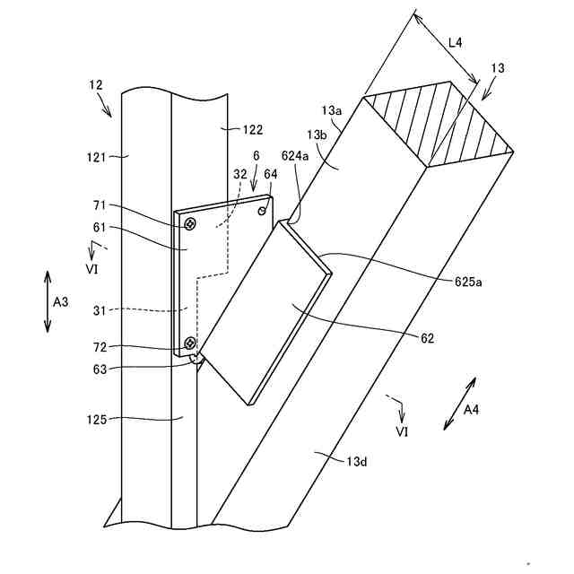
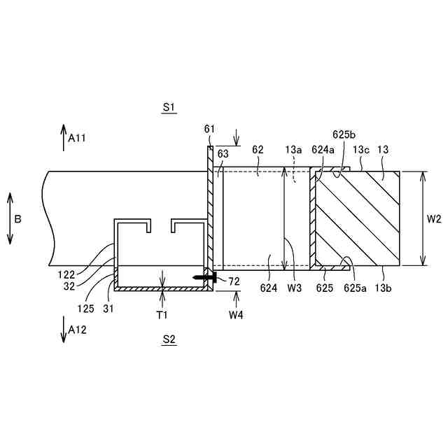
【解決手段】 上下方向に対して傾斜して配置されるブレース部材(13)と、表面側に壁面材が取り付けられるスタッドであって、ブレース部材との干渉部に弱部(31)を有する異形スタッド(12)と、ブレース部材と異形スタッドの弱部とが交差する交差部(C)に配置され、異形スタッドの面外変形を抑制するスタッド拘束具(6)とを備える壁構造であって、スタッド拘束具は、異形スタッドおよびブレース部材の一方の部材に固定されるベース部(61)と、異形スタッドおよびブレース部材の他方の部材の表面側部分および背面側部分の少なくとも一方に接触または近接した状態で配置され、他方の部材に係合する係合部(62)と、ベース部および係合部を連結する連結部(63)とを有する。
【選択図】図5
特許請求の範囲
【請求項1】
上下方向に対して傾斜して配置されるブレース部材と、
表面側に壁面材が取り付けられるスタッドであって、前記ブレース部材との干渉部に弱部を有する異形スタッドと、
前記ブレース部材と前記異形スタッドの弱部とが交差する交差部に配置され、前記異形スタッドの面外変形を抑制するスタッド拘束具とを備え、
前記スタッド拘束具は、
前記異形スタッドおよび前記ブレース部材の一方の部材に固定されるベース部と、
前記異形スタッドおよび前記ブレース部材の他方の部材の表面側部分および背面側部分の少なくとも一方に接触または近接した状態で配置され、当該他方の部材に係合する係合部と、
前記ベース部および前記係合部を連結する連結部とを有する、壁構造。
続きを表示(約 810 文字)
【請求項2】
前記ベース部は、締結部材によって、前記異形スタッドの側面に固定され、
前記係合部は、前記ブレース部材に係合する、請求項1に記載の壁構造。
【請求項3】
前記ベース部は、前記異形スタッドの前記弱部と、前記弱部の上方または下方に位置する一般部とに跨って配置され、
前記締結部材は、前記ベース部の上下端部を、前記弱部および前記一般部に連結固定する、請求項2に記載の壁構造。
【請求項4】
前記係合部は、前記ブレース部材を表裏方向に挟み込む挟持部材により構成されている、請求項2または3に記載の壁構造。
【請求項5】
前記挟持部材は、前記ブレース部材の傾斜方向に沿って延び、前記ブレース部材の上方傾斜面に載置される傾斜部を含み、
前記連結部は、前記ベース部の下端と前記傾斜部の下端とを連結する、請求項4に記載の壁構造。
【請求項6】
前記挟持部材は、前記表裏方向に互いに対面する一対の延出部を含み、前記延出部は内側面に凸部を有する、請求項5に記載の壁構造。
【請求項7】
前記挟持部材は、前記表裏方向に互いに対面する一対の延出部を含み、前記延出部は前記傾斜部から離れるにつれて互いに近づくように形成されている、請求項5に記載の壁構造。
【請求項8】
前記スタッド拘束具の板厚は2.0mm以上である、請求項1に記載の壁構造。
【請求項9】
前記挟持部材は、前記表裏方向に互いに対面する一対の延出部を含み、背面側の前記延出部の内側面に滑り止め部材が設けられている、請求項4に記載の壁構造。
【請求項10】
前記スタッド拘束具は、前記ベース部と前記傾斜部との間の間隔を保持する間隔保持部をさらに有する、請求項5に記載の壁構造。
(【請求項11】以降は省略されています)
発明の詳細な説明
【技術分野】
【0001】
本発明は、壁構造およびスタッド拘束具に関し、特に、ブレース部材との干渉部に切欠き部等の弱部を有する異形スタッドを備えた壁構造およびスタッド拘束具に関する。
続きを表示(約 1,500 文字)
【背景技術】
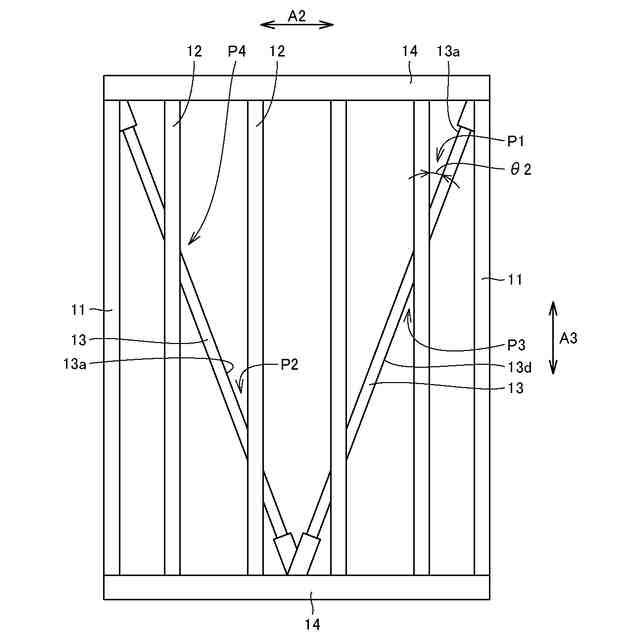
【0002】
建物の外壁や界壁の内部にブレース(斜材)を設けて、壁の強度を高めることがある。ブレースは、通常、壁面材が固定されるスタッド(間柱)に干渉しないように配置されるが、壁内部におけるスタッドの配置形態などにより、スタッドに干渉する位置に配置されることがある。この場合、スタッドの上下方向の一部(ブレースとの干渉部位)のみ、スタッドの奥側(後方端部)を切り欠くなどの対応がとられる。
【0003】
特開2014-234646号公報(特許文献1)には、リップ溝型鋼である間柱およびブレース(斜材)を内部に含む耐力壁が開示されている。この耐力壁においては、間柱の背面板同士を、スペーサを挟んで当接させてボルト固定することで柱を形成しており、ブレースが、間柱の背面板を貫通するように配置されている。すなわち、間柱には、ブレース挿通用の挿通孔が設けられている。このように挿通孔が設けられた部分は、間柱の耐力が低下することから、耐力の低下を抑制するために、挿通孔付近に補強部を設ける技術が提案されている。
【先行技術文献】
【特許文献】
【0004】
特開2014-234646号公報
【発明の概要】
【発明が解決しようとする課題】
【0005】
スタッドが、長手方向(上下方向)の一部に切り欠きなどを有する場合、当該部分(以下「弱部」という)は、他の部分(以下「一般部」という)に比べて強度が低くなる。そのため、弱部を有するスタッド(以下「異形スタッド」という)は、面外方向の荷重を受けると、通常のスタッドと比べて変形量が大きくなるという懸念がある。
【0006】
特許文献1は、間柱(スタッド)の挿通孔付近に補強部(補強プレート)を設けることにより、間柱自体の耐力低下を抑制している。しかし、間柱の配置形態などによって、間柱の弱部を直接補強することが難しいケースもあり、面外方向における間柱の変形を効率的に抑制することのできる技術が望まれていた。
【0007】
本発明は、上記のような課題を解決するためになされたものであって、その目的は、簡易な構成で、弱部を有する異形スタッドの面外方向への変形を抑制し得る壁構造およびスタッド拘束具を提供することである。
【課題を解決するための手段】
【0008】
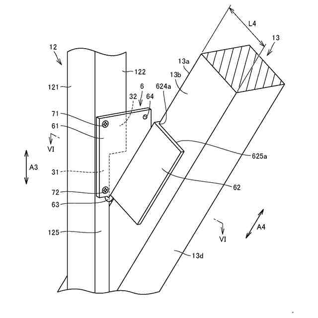
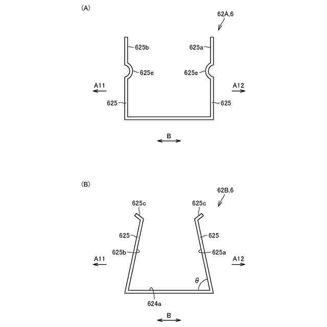
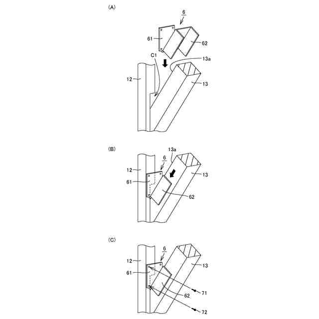
本発明に係る壁構造は、上下方向に対して傾斜して配置されるブレース部材と、表面側に壁面材が取り付けられるスタッドであって、ブレース部材との干渉部に弱部を有する異形スタッドと、ブレース部材と異形スタッドの弱部とが交差する交差部に配置され、異形スタッドの面外変形を抑制するスタッド拘束具とを備える。スタッド拘束具は、異形スタッドおよびブレース部材の一方の部材に固定されるベース部と、異形スタッドおよびブレース部材の他方の部材の表面側部分および背面側部分の少なくとも一方に接触または近接した状態で配置され、当該他方の部材に係合する係合部と、ベース部および係合部を連結する連結部とを有する。
【0009】
好ましくは、ベース部は、締結部材によって、異形スタッドの側面に固定され、係合部は、ブレース部材に係合する。
【0010】
好ましくは、ベース部は、異形スタッドの弱部と、弱部の上方または下方に位置する一般部とに跨って配置され、締結部材は、ベース部の上下端部を、弱部および一般部に連結固定する。
(【0011】以降は省略されています)
この特許をJ-PlatPat(特許庁公式サイト)で参照する
関連特許
大和ハウス工業株式会社
建物
17日前
大和ハウス工業株式会社
木鋼耐火柱とその施工方法
19日前
大和ハウス工業株式会社
壁構造およびスタッド拘束具
10日前
大和ハウス工業株式会社
リスク推定方法、リスク推定装置、及びリスク推定システム
4日前
個人
接合構造
1か月前
個人
屋台
2か月前
個人
タッチミー
1か月前
個人
野良猫ハウス
2か月前
個人
フェンス
3か月前
個人
安心補助てすり
1か月前
個人
転落防止用手摺
2か月前
ニチハ株式会社
建築板
3か月前
個人
筋交自動設定装置
1か月前
積水樹脂株式会社
柵体
2か月前
個人
居住車両用駐車場
2か月前
個人
ベンリナアングル
1か月前
個人
熱抵抗多層断熱建材
2か月前
個人
柵
3か月前
個人
補強部材
2か月前
個人
身体用シェルター
1か月前
個人
身体用シェルター
1か月前
株式会社シンケン
住宅
1か月前
成友建設株式会社
建物
2か月前
鹿島建設株式会社
壁体
2か月前
個人
防災建築物
1か月前
三協立山株式会社
構造体
12日前
個人
可搬型供養墓
1か月前
株式会社熊谷組
床構成材
1か月前
株式会社熊谷組
木質材料
2か月前
インターマン株式会社
天井構造
3か月前
三協立山株式会社
構造体
1か月前
三協立山株式会社
構造体
1か月前
三協立山株式会社
構造体
1か月前
三協立山株式会社
構造体
1か月前
三協立山株式会社
構造体
17日前
株式会社大林組
接合構造
28日前
続きを見る
他の特許を見る