TOP
|
特許
|
意匠
|
商標
特許ウォッチ
Twitter
他の特許を見る
公開番号
2025173009
公報種別
公開特許公報(A)
公開日
2025-11-27
出願番号
2024078312
出願日
2024-05-14
発明の名称
アクアポニックスシステム
出願人
大和ハウス工業株式会社
代理人
個人
,
個人
主分類
A01K
63/06 20060101AFI20251119BHJP(農業;林業;畜産;狩猟;捕獲;漁業)
要約
【課題】飼育水の水温の調整にかかるエネルギーコストを削減することができるアクアポニックスシステムを提供する。
【解決手段】養殖場3及び栽培室4を有する建物2において、飼育水Wを用いて魚Fの養殖及び植物Pの栽培を行うアクアポニックスシステム1,1Aであって、養殖場3に設けられ魚Fを養殖する養殖槽10と、栽培室4に設けられ、植物Pに光を照射可能なLED照明21を有し、植物Pの栽培を行う栽培槽20と、LED照明21の排熱を回収可能な空調装置40と、空調装置40によって回収された排熱を養殖場3に供給可能な空気供給装置50と、を具備する。
【選択図】図1
特許請求の範囲
【請求項1】
養殖場及び栽培室を有する建物において、飼育水を用いて魚の養殖及び植物の栽培を行うアクアポニックスシステムであって、
前記養殖場に設けられ魚を養殖する養殖槽と、
前記栽培室に設けられ、前記植物に光を照射可能な人工光源を有し、前記植物の栽培を行う栽培槽と、
前記人工光源の排熱を回収可能な排熱回収部と、
前記排熱回収部によって回収された前記排熱を前記養殖場に供給可能な排熱供給部と、
を具備する、
アクアポニックスシステム。
続きを表示(約 1,400 文字)
【請求項2】
前記排熱供給部は、
前記排熱を貯留可能な排熱貯留部と、
前記排熱貯留部に貯留された前記排熱を含む空気を前記養殖場に供給可能なエアダクトと、
を具備する、
請求項1に記載のアクアポニックスシステム。
【請求項3】
前記エアダクトは、
前記排熱を含む前記空気を前記養殖場に供給可能な第一経路と、前記排熱を含む前記空気を前記建物の屋外に開放可能な第二経路とに分岐しており、
前記排熱供給部は、
前記排熱を含む空気を、前記第一経路を介して前記養殖場に供給する第一状態と、前記第二経路を介して前記屋外に開放する第二状態と、に切り替え可能な第一切替部を具備する、
請求項2に記載のアクアポニックスシステム。
【請求項4】
前記養殖場の空気温度を検知可能な第一温度検知部と、
前記養殖場の空気温度が所定の閾値未満である場合、前記第一切替部を前記第一状態に切り替え可能であり、前記養殖場の空気温度が所定の閾値以上である場合、前記第一切替部を前記第二状態に切り替え可能である制御部と、
を具備する、
請求項3に記載のアクアポニックスシステム。
【請求項5】
前記排熱貯留部の空気温度を検知可能な第二温度検知部を具備し、
前記制御部は、
前記養殖場の空気温度が所定の閾値未満である場合であっても、前記排熱貯留部の空気温度が前記養殖場の空気温度よりも高くない場合、前記第一切替部を前記第二状態に切り替え可能である、
請求項4に記載のアクアポニックスシステム。
【請求項6】
前記排熱回収部は、
前記人工光源の放熱部分に冷媒を流通させることにより、前記人工光源の前記排熱を回収可能であり、
前記排熱供給部は、
前記排熱を含む前記冷媒を循環させる冷媒配管と、
前記冷媒配管を循環する前記冷媒と前記養殖槽の前記飼育水又は前記養殖槽に供給する前記飼育水との間で熱交換を行うことにより、前記排熱を前記養殖槽の前記飼育水に供給可能な熱交換器と、
を具備する、
請求項1に記載のアクアポニックスシステム。
【請求項7】
前記排熱供給部は、
前記排熱を前記建物の屋外に放熱可能なラジエーターを具備し、
前記冷媒配管は、
前記排熱を含む前記冷媒を前記熱交換器に供給可能な第三経路と、前記冷媒を前記ラジエーターに供給可能な第四経路とに分岐しており、
前記排熱供給部は、
前記排熱を含む前記冷媒を、前記第三経路を介して前記熱交換器に供給する第三状態と、前記第四経路を介して前記ラジエーターに供給する第四状態と、に切り替え可能な第二切替部を具備する、
請求項6に記載のアクアポニックスシステム。
【請求項8】
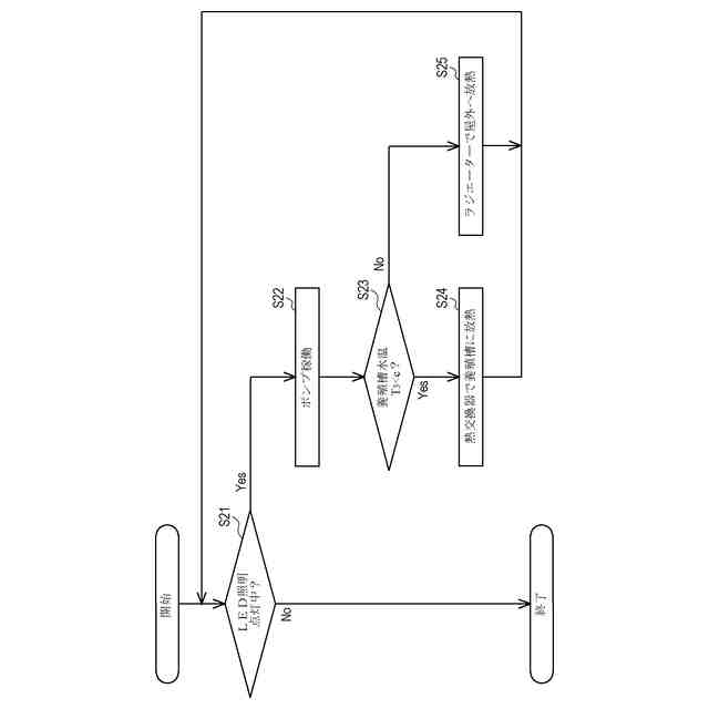
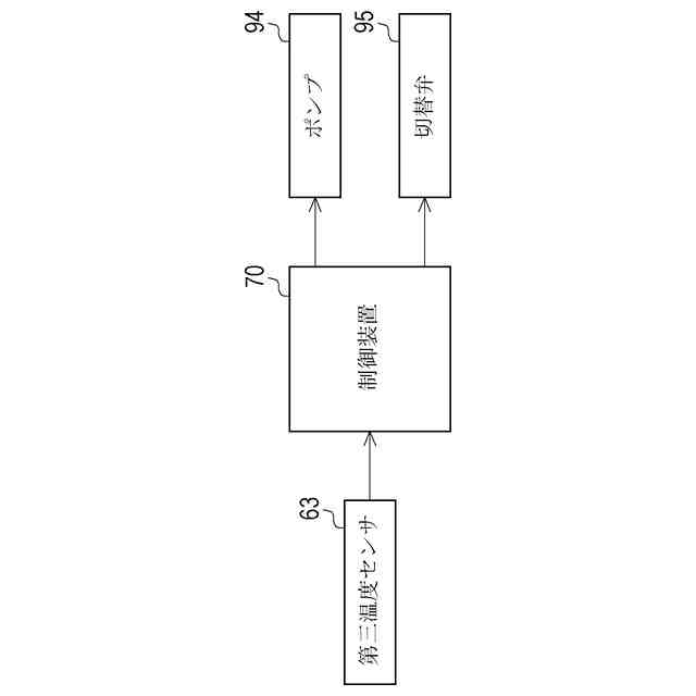
前記養殖槽の前記飼育水又は前記養殖槽に供給する前記飼育水の水温を検知可能な第三温度検知部と、
前記養殖槽の前記飼育水又は前記養殖槽に供給する前記飼育水の水温が所定の閾値よりも低い場合、前記第二切替部を前記第三状態に切り替え可能であり、前記養殖槽の前記飼育水又は前記養殖槽に供給する前記飼育水の水温が所定の閾値よりも低くない場合、前記第二切替部を前記第四状態に切り替え可能である制御部と、
を具備する、
請求項7に記載のアクアポニックスシステム。
発明の詳細な説明
【技術分野】
【0001】
本発明は、魚の養殖と植物の栽培とを組み合わせたアクアポニックスシステムの技術に関する。
続きを表示(約 1,200 文字)
【背景技術】
【0002】
従来、魚の養殖と植物の栽培とを組み合わせたアクアポニックスシステムの技術は公知となっている。例えば、特許文献1に記載の如くである。
【0003】
特許文献1には、陸上養殖により魚海類を飼育する飼育槽と、水耕栽培により植物を栽培する栽培ベッドと、を備えるアクアポニックスシステムが開示されている。上記アクアポニックスシステムでは、飼育槽及び栽培ベッドに液体(飼育水)を循環させることで、魚海類の飼育と植物の栽培とを同時に行うことができる。
【0004】
このようなアクアポニックスシステムの飼育槽では、一般的に電気エネルギーを用いて飼育水の水温調整を行っている。飼育水の水温調整の方式としては、例えば、飼育水を直接的に冷暖機へ循環させ水温調整を行う「循環方式」、クッションタンク内の水を冷却又は加温して熱交換器内を循環させることにより水温調整を行う「クッションタンク式」、水槽設備全体を建屋で覆い建屋内の空調装置で水温調整を行う「空調制御方式」等が用いられている。
【0005】
上記従来の陸上養殖の水温調整方式では、いずれの方式であっても水温調整のために多くのエネルギーを消費し電気代がかかることから、陸上養殖全体の生産コストを圧迫する要因となっている。そのため、養殖槽の水温の調整にかかるエネルギーコストを削減することが大きな課題となっている。
【先行技術文献】
【特許文献】
【0006】
特許6047749号公報
【発明の概要】
【発明が解決しようとする課題】
【0007】
本発明は以上の如き状況に鑑みてなされたものであり、その解決しようとする課題は、養殖槽の水温の調整にかかるエネルギーコストを削減することができるアクアポニックスシステムを提供することである。
【課題を解決するための手段】
【0008】
本発明の解決しようとする課題は以上の如くであり、次にこの課題を解決するための手段を説明する。
【0009】
即ち、請求項1においては、養殖場及び栽培室を有する建物において、飼育水を用いて魚の養殖及び植物の栽培を行うアクアポニックスシステムであって、前記養殖場に設けられ魚を養殖する養殖槽と、前記栽培室に設けられ、前記植物に光を照射可能な人工光源を有し、前記植物の栽培を行う栽培槽と、前記人工光源の排熱を回収可能な排熱回収部と、前記排熱回収部によって回収された前記排熱を前記養殖場に供給可能な排熱供給部と、を具備するものである。
【0010】
請求項2においては、前記排熱供給部は、前記排熱を貯留可能な排熱貯留部と、前記排熱貯留部に貯留された前記排熱を含む空気を前記養殖場に供給可能なエアダクトと、を具備するものである。
(【0011】以降は省略されています)
この特許をJ-PlatPat(特許庁公式サイト)で参照する
関連特許
個人
産卵床
今日
個人
草刈り鋏
1か月前
個人
釣り用錘
18日前
個人
蠅捕獲器
1か月前
個人
平板植栽
1日前
個人
果実袋
今日
個人
蜜蜂保護装置
29日前
個人
噴霧器ノズル
16日前
個人
養殖器具
今日
個人
草刈機用回転刃
1か月前
個人
種子の製造方法
1か月前
個人
移動体草刈り機
今日
個人
昆虫捕集器
1か月前
個人
水田排水量調整器具
今日
個人
可動リップ付きルアー
21日前
株式会社剛樹
釣り竿
14日前
個人
餌付き針の餌取り防止具
24日前
個人
ブルーカーボンシステム
21日前
株式会社ナベル
表示システム
24日前
井関農機株式会社
圃場作業機
21日前
個人
四足動物用装着具
1か月前
有限会社信英精密
括り罠
8日前
積水樹脂株式会社
シート止め具
今日
個人
網口高さのベクトル底引き網
今日
株式会社オーツボ
海苔箱船
1か月前
井関農機株式会社
作業車両
1か月前
井関農機株式会社
苗移植機
8日前
松山株式会社
収穫機
21日前
井関農機株式会社
作業車両
1か月前
みのる産業株式会社
除草機
24日前
松山株式会社
収穫機
21日前
みのる産業株式会社
除草機
24日前
個人
粘着板で挟むネズミ捕り装置
今日
三恵技研工業株式会社
ルアー
今日
株式会社アテックス
芝草の刈取装置
7日前
株式会社中村工務店
潅水装置
1日前
続きを見る
他の特許を見る