TOP
|
特許
|
意匠
|
商標
特許ウォッチ
Twitter
他の特許を見る
公開番号
2025152127
公報種別
公開特許公報(A)
公開日
2025-10-09
出願番号
2024053875
出願日
2024-03-28
発明の名称
全固体電池
出願人
FDK株式会社
代理人
個人
,
個人
,
個人
主分類
H01M
10/0585 20100101AFI20251002BHJP(基本的電気素子)
要約
【課題】高温環境であっても外装体の割れを抑制できる全固体電池を提供する。
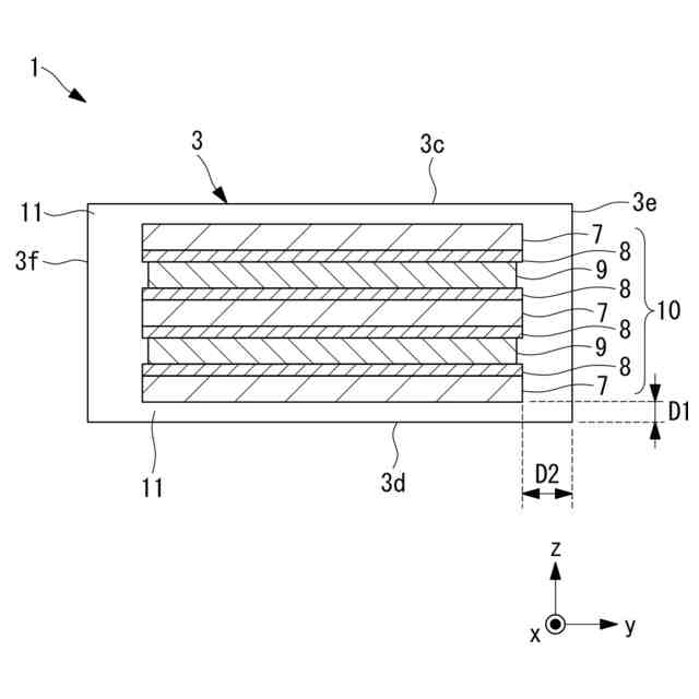
【解決手段】全固体電池1は、正極層7と、固体電解質層8と、負極層9とが積層方向に積層された内部電極層10と、内部電極層10の周囲を包囲する絶縁層11と、を備え積層方向に交差する一方の面を上面3c、他方の面を下面3dとし、かつ、上面を平面視した場合に第1端面の延在方向を幅方向であるy方向とし、かつ、幅方向に直交する方向をx方向とした場合に、本体部3は、幅方向における横断面において、絶縁層11の下面3d側の厚さである第1寸法D1に対して、絶縁層11の右側面3e側の厚さである第2寸法D2は、1.6倍以上とされている。
【選択図】図2
特許請求の範囲
【請求項1】
正極層と、固体電解質層と、負極層とが積層方向に積層された内部電極層、及び、該内部電極層の周囲を包囲する外装体を備えた本体部と、
前記積層方向に延在する前記本体部の第1端面に設けられた第1外部電極と、
前記第1端面の反対側の前記本体部の第2端面に設けられた第2外部電極と、
を備え
前記積層方向に交差する一方の面を上面、他方の面を下面とし、かつ、前記上面を平面視した場合に前記第1端面の延在方向を幅方向とし、かつ、該幅方向に直交する方向を直交方向とした場合に、
前記本体部は、前記幅方向における横断面において、前記外装体の上面側又は下面側の厚さである第1寸法に対して、前記外装体の幅方向における片側の側部の厚さである第2寸法は、1.6倍以上とされている全固体電池。
続きを表示(約 48 文字)
【請求項2】
前記外装体は、ガラス材料とされている請求項1に記載の全固体電池。
発明の詳細な説明
【技術分野】
【0001】
本発明は、全固体電池に関するものである。
続きを表示(約 1,100 文字)
【背景技術】
【0002】
電解質に酸化物系や硫化物系の固体電解質を用いた全固体電池が知られている(特許文献1乃至3)。全固体電池は、液系の電解質を用いた電池が利用できない高温環境で使用することができるという特徴を有している。
【先行技術文献】
【特許文献】
【0003】
特開2020-21551号公報
特開2020-161391号公報
国際公開第2019/176945号
【発明の概要】
【発明が解決しようとする課題】
【0004】
しかし、実際に高温環境でフロート充電を行うと外装体で覆われた内部電極層の膨張によって外装体が割れてしまうという問題があった。
【0005】
本発明者等が鋭意検討したところ、全固体電池の形状について最適化することによって、外装体の割れを抑制することができ、全固体電池の耐久性を向上させることができることを見出した。
【0006】
本発明は、このような事情に鑑みてなされたものであって、高温環境であっても外装体の割れを抑制できる全固体電池を提供することを目的とする。
【課題を解決するための手段】
【0007】
本発明の一態様に係る全固体電池は、正極層と、固体電解質層と、負極層とが積層方向に積層された内部電極層、及び、該内部電極層の周囲を包囲する外装体を備えた本体部と、前記積層方向に延在する前記本体部の第1端面に設けられた第1外部電極と、前記第1端面の反対側の前記本体部の第2端面に設けられた第2外部電極と、を備え前記積層方向に交差する一方の面を上面、他方の面を下面とし、かつ、前記上面を平面視した場合に前記第1端面の延在方向を幅方向とし、かつ、該幅方向に直交する方向を直交方向とした場合に、前記本体部は、前記幅方向における横断面において、前記外装体の上面側又は下面側の厚さである第1寸法に対して前記外装体の幅方向における側部の厚さである第2寸法は、1.6倍以上とされている。
【0008】
外装体の上面側又は下面側の厚さである第1寸法に対して、外装体の側部の厚さである第2寸法を1.6倍以上として幅方向の外装体の厚さを大きくすることとした。これにより、外装体の強度を確保することができ、内部電極層が高温となり膨張した場合であっても、外装体の割れを抑制し、全固体電池の耐久性を向上させることができる。
【0009】
前記外装体は、ガラス材料とされていることが好ましい。
【発明の効果】
【0010】
高温環境であっても外装体の割れを抑制できる。
【図面の簡単な説明】
(【0011】以降は省略されています)
この特許をJ-PlatPat(特許庁公式サイト)で参照する
関連特許
FDK株式会社
基板
9日前
FDK株式会社
圧着端子
8日前
FDK株式会社
駆動装置
22日前
FDK株式会社
全固体電池
2日前
FDK株式会社
リチウム電池
8日前
FDK株式会社
アルカリ電池
10日前
FDK株式会社
アルカリ電池
12日前
FDK株式会社
リチウムイオン電池
1か月前
FDK株式会社
リチウムイオン電池
1か月前
FDK株式会社
リチウムイオン電池
1か月前
FDK株式会社
挿入実装部品用台座
1か月前
FDK株式会社
固体電解質及び固体電池
1か月前
FDK株式会社
全固体電池及びその製造方法
2日前
FDK株式会社
全固体電池及びその製造方法
22日前
FDK株式会社
電極、電池及び電極の製造方法
22日前
FDK株式会社
ニッケル水素電池及びニッケル水素電池の製造方法
1か月前
日本発條株式会社
積層体
12日前
個人
フレキシブル電気化学素子
1日前
ローム株式会社
半導体装置
10日前
株式会社ユーシン
操作装置
1日前
ローム株式会社
半導体装置
3日前
ローム株式会社
半導体装置
10日前
ローム株式会社
半導体装置
8日前
ローム株式会社
半導体装置
10日前
個人
防雪防塵カバー
12日前
株式会社GSユアサ
蓄電装置
12日前
太陽誘電株式会社
全固体電池
8日前
個人
半導体パッケージ用ガラス基板
11日前
株式会社ホロン
冷陰極電子源
8日前
株式会社GSユアサ
蓄電装置
8日前
太陽誘電株式会社
コイル部品
1日前
株式会社GSユアサ
蓄電設備
1日前
株式会社GSユアサ
蓄電設備
1日前
オムロン株式会社
電磁継電器
2日前
TDK株式会社
電子部品
8日前
サクサ株式会社
電池の固定構造
1日前
続きを見る
他の特許を見る