TOP
|
特許
|
意匠
|
商標
特許ウォッチ
Twitter
他の特許を見る
10個以上の画像は省略されています。
公開番号
2025142970
公報種別
公開特許公報(A)
公開日
2025-10-01
出願番号
2024042626
出願日
2024-03-18
発明の名称
アルカリ電池
出願人
FDK株式会社
代理人
弁理士法人酒井国際特許事務所
主分類
H01M
50/188 20210101AFI20250924BHJP(基本的電気素子)
要約
【課題】負極合剤が漏れにくいアルカリ電池を提供すること
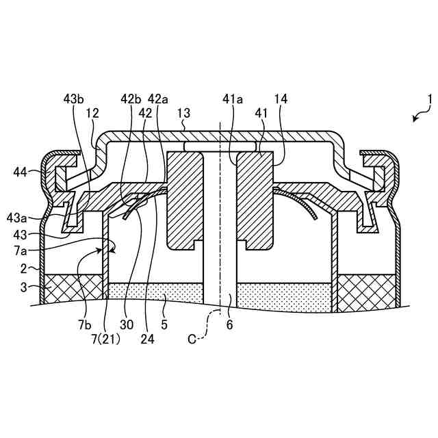
【解決手段】アルカリ電池1は、有底円筒状で底面に正極端子が形成された正極缶2と、正極缶2の内部に設けられた円筒状の正極合剤3と、正極合剤3の内周側に設けられた円筒状のセパレータ7と、セパレータ7の内周側に充填された負極合剤5と、集電棒6と、支持部41と環状の外周部42とを有して正極缶2の開口18を塞ぐガスケット14と、ガスケット14を挟んでセパレータ7の反対に設けられた負極端子板12と、負極端子板12側となる端部においてセパレータ7の内周面7aと対向する第1の対向部421と、負極端子板12側となる端部においてセパレータ7の外周面7bと対向する第2の対向部422と、を備える。外周部42には、緩衝部43が形成され、第1の対向部421と第2の対向部422とは、正極缶2の中心軸Cに沿って見て緩衝部43を避けた位置に設けられている。
【選択図】図2
特許請求の範囲
【請求項1】
有底円筒状で底面に正極端子が形成された正極缶と、
前記正極缶の内部に設けられて、前記正極缶と同軸に配置された円筒状の正極合剤と、
前記正極合剤の内周側に設けられた円筒状のセパレータと、
前記セパレータの内周側に充填されたゲル状の負極合剤と、
前記負極合剤に挿入された集電棒と、
前記集電棒が貫通される貫通孔が形成された支持部と、前記支持部の外周に設けられた環状の外周部と、を有して前記正極缶の開口を塞ぐガスケットと、
前記ガスケットを挟んで前記セパレータの反対に設けられた負極端子板と、
前記セパレータのうち前記負極端子板側となる端部において前記セパレータの内周面と対向する第1の対向部と、
前記セパレータのうち前記負極端子板側となる端部において前記セパレータの外周面と対向する第2の対向部と、を備え、
前記外周部には、径方向に加わる圧縮力を緩和させる緩衝部が形成され、
前記第1の対向部と前記第2の対向部とは、前記正極缶の中心軸に沿って見て前記緩衝部を避けた位置に設けられているアルカリ電池。
続きを表示(約 870 文字)
【請求項2】
前記第1の対向部および前記第2の対向部は、前記外周部のうち前記正極端子側を向く第1の面から突出し、前記外周部と一体に形成されている請求項1に記載のアルカリ電池。
【請求項3】
前記セパレータの前記負極端子板側となる端部が差し込まれる環状の溝が形成されたキャップをさらに備え、
前記溝の一方の壁面が前記第1の対向部となり、他方の壁面が前記第2の対向部となる請求項1に記載のアルカリ電池。
【請求項4】
前記セパレータは、前記負極端子板側となる端部から前記正極端子側となる一定の領域が内側に湾曲して前記外周部に当接する当接領域とされており、
前記外周部のうち前記正極端子側を向く第1の面と前記支持部の外周面との接続部の近傍から外側に向けて延びる環状の第1の環状部をさらに備え、
前記第1の環状部が前記第1の対向部となる請求項1に記載のアルカリ電池。
【請求項5】
前記外周部の前記第1の面が前記第2の対向部となる請求項4に記載のアルカリ電池。
【請求項6】
前記第1の環状部は、前記中心軸を含む平面で切断した断面形状が直線状に延びる請求項5に記載のアルカリ電池。
【請求項7】
前記第1の環状部は、前記中心軸を含む平面で切断した断面形状が、前記外周部に向けて凸となるように湾曲している請求項5に記載のアルカリ電池。
【請求項8】
前記第1の環状部は、前記中心軸を含む平面で切断した断面形状が、前記正極端子に向けて凸となるように湾曲している請求項5に記載のアルカリ電池。
【請求項9】
前記第1の環状部は、前記中心軸を含む平面で切断した断面形状が、段差形状となっている請求項5に記載のアルカリ電池。
【請求項10】
前記第1の環状部は、前記ガスケットと別体に形成されている請求項4から9のいずれか1つに記載のアルカリ電池。
(【請求項11】以降は省略されています)
発明の詳細な説明
【技術分野】
【0001】
本発明の実施の形態は、アルカリ電池に関する。
続きを表示(約 2,100 文字)
【背景技術】
【0002】
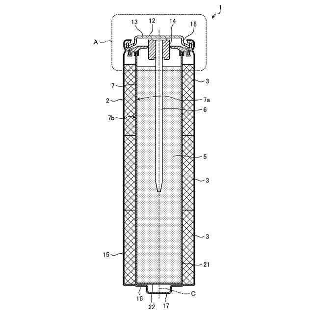
アルカリ電池では、有底筒状の正極缶を備える。正極缶の内部には、正極缶と同軸の筒状に形成されたセパレータが設けられている。正極缶の内部では、セパレータの外側に正極合剤が設けられ、セパレータの内側にゲル状の負極合剤が設けられている。アルカリ電池は、正極缶の開口を塞ぐガスケットを備える。
【0003】
アルカリ電池では、負極合剤がセパレータの外側に漏れてしまうとショートしてしまう。そこで、セパレータの端部をガスケットに当接させて、セパレータとガスケットの間から負極合剤がセパレータの外側に漏れてしまうことの防止が図られている(例えば、特許文献1を参照)。
【先行技術文献】
【特許文献】
【0004】
特開2009-158457号公報
【発明の概要】
【発明が解決しようとする課題】
【0005】
しかしながら、例えばガスケット側を下に向けてアルカリ電池が落下して床と衝突したときに、ガスケット側に流動した負極合剤がセパレータとガスケットとの間からセパレータの外側に漏れてしまう場合があった。
【0006】
開示の技術では、負極合剤が漏れにくいアルカリ電池を提供することを目的とする。
【課題を解決するための手段】
【0007】
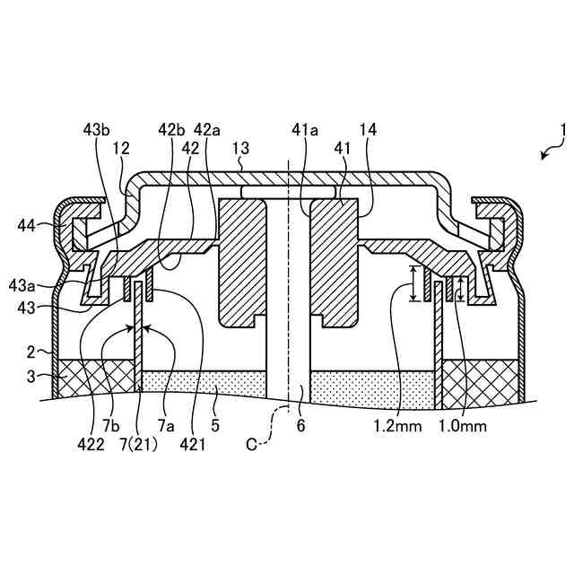
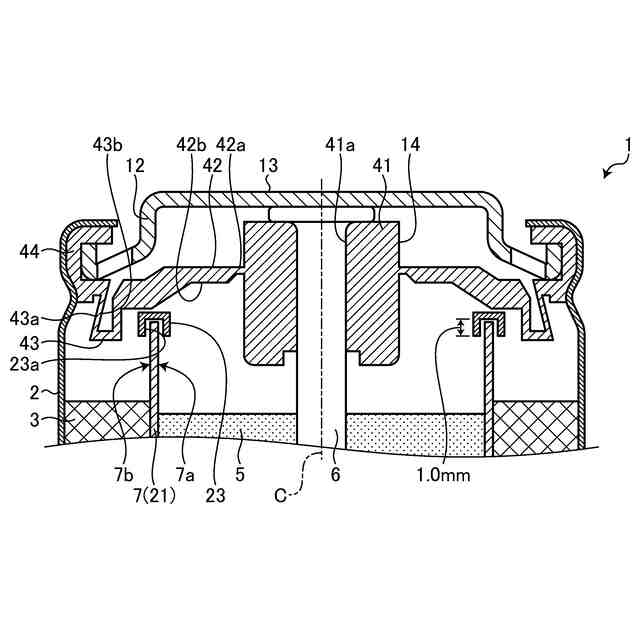
本開示の一態様によるアルカリ電池は、有底円筒状で底面に正極端子が形成された正極缶と、正極缶の内部に設けられて、正極缶と同軸に配置された円筒状の正極合剤と、正極合剤の内周側に設けられた円筒状のセパレータと、セパレータの内周側に充填されたゲル状の負極合剤と、負極合剤に挿入された集電棒と、集電棒が貫通される貫通孔が形成された支持部と、支持部の外周に設けられた環状の外周部と、を有して正極缶の開口を塞ぐガスケットと、ガスケットを挟んでセパレータの反対に設けられた負極端子板と、セパレータのうち負極端子板側となる端部においてセパレータの内周面と対向する第1の対向部と、セパレータのうち負極端子板側となる端部においてセパレータの外周面と対向する第2の対向部と、を備える。外周部には、径方向に加わる圧縮力を緩和させる緩衝部が形成され、第1の対向部と第2の対向部とは、正極缶の中心軸に沿って見て緩衝部を避けた位置に設けられている。
【発明の効果】
【0008】
本願の開示するアルカリ電池の一態様によれば、負極合剤が漏れにくいアルカリ電池を提供することができる。
【図面の簡単な説明】
【0009】
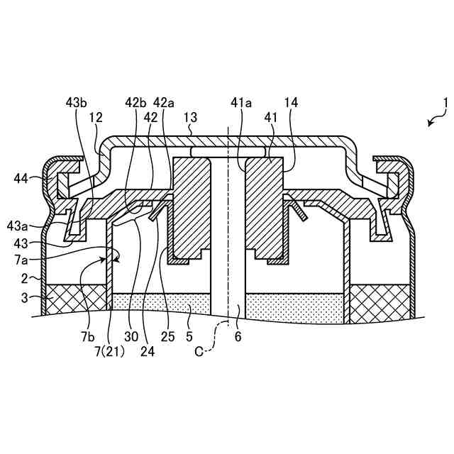
図1は、実施の形態1のアルカリ電池の断面図である。
図2は、図1に示したA部分を拡大した部分拡大断面図である。
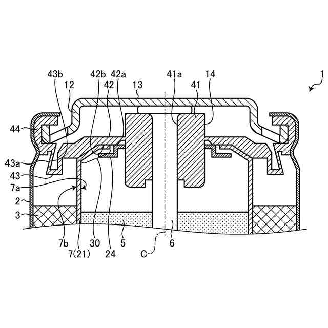
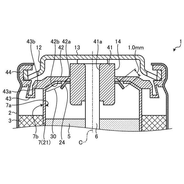
図3は、実施の形態1の第1の変形例にかかるアルカリ電池の断面図であって、図1に示すA部分に相当する部分を拡大した部分拡大断面図である。
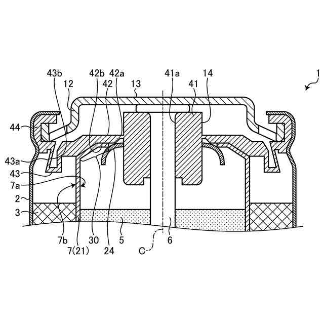
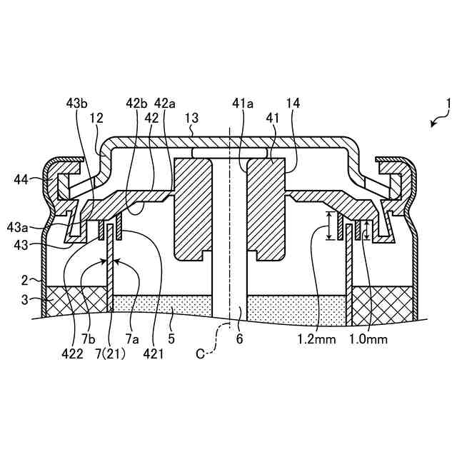
図4は、実施の形態2にかかるアルカリ電池の断面図であって、図1に示すA部分に相当する部分を拡大した部分拡大断面図である。
図5は、実施の形態2の第1の変形例にかかるアルカリ電池の断面図であって、図1に示すA部分に相当する部分を拡大した部分拡大断面図である。
図6は、実施の形態2の第2の変形例にかかるアルカリ電池の断面図であって、図1に示すA部分に相当する部分を拡大した部分拡大断面図である。
図7は、実施の形態2の第3の変形例にかかるアルカリ電池の断面図であって、図1に示すA部分に相当する部分を拡大した部分拡大断面図である。
図8は、実施の形態2の第4の変形例にかかるアルカリ電池の断面図であって、図1に示すA部分に相当する部分を拡大した部分拡大断面図である。
図9は、実施の形態2の第5の変形例にかかるアルカリ電池の断面図であって、図1に示すA部分に相当する部分を拡大した部分拡大断面図である。
図10は、実施の形態2の第6の変形例にかかるアルカリ電池の断面図であって、図1に示すA部分に相当する部分を拡大した部分拡大断面図である。
図11は、実施の形態3にかかるアルカリ電池の断面図であって、図1に示すA部分に相当する部分を拡大した部分拡大断面図である。
図12は、比較例1にかかるアルカリ電池の断面図であって、図1に示すA部分に相当する部分を拡大した部分拡大断面図である。
図13は、比較例2にかかるアルカリ電池の断面図であって、図1に示すA部分に相当する部分を拡大した部分拡大断面図である。
図14は、評価試験の結果を示す図である。
【発明を実施するための形態】
【0010】
以下に、本願の開示するアルカリ電池の実施の形態を図面に基づいて詳細に説明する。なお、以下の実施の形態によって、本願の開示するアルカリ電池が限定されるものではない。
(【0011】以降は省略されています)
この特許をJ-PlatPat(特許庁公式サイト)で参照する
関連特許
FDK株式会社
基板
1日前
FDK株式会社
圧着端子
今日
FDK株式会社
駆動装置
14日前
FDK株式会社
捲回型電池
1か月前
FDK株式会社
アルカリ電池
2日前
FDK株式会社
アルカリ電池
4日前
FDK株式会社
リチウム電池
1か月前
FDK株式会社
リチウム電池
今日
FDK株式会社
リチウムイオン電池
1か月前
FDK株式会社
挿入実装部品用台座
1か月前
FDK株式会社
リチウムイオン電池
23日前
FDK株式会社
リチウムイオン電池
1か月前
FDK株式会社
固体電解質及び固体電池
1か月前
FDK株式会社
全固体電池及びその製造方法
14日前
FDK株式会社
電極、電池及び電極の製造方法
14日前
FDK株式会社
無線通信ユニットおよび蓄電デバイス
2か月前
FDK株式会社
ニッケル水素電池及びニッケル水素電池の製造方法
23日前
個人
安全なNAS電池
28日前
東レ株式会社
多孔質炭素シート
23日前
日本発條株式会社
積層体
4日前
個人
フリー型プラグ安全カバー
1か月前
ローム株式会社
半導体装置
2日前
ローム株式会社
半導体装置
2日前
キヤノン株式会社
電子機器
23日前
個人
防雪防塵カバー
4日前
エイブリック株式会社
半導体装置
25日前
エイブリック株式会社
半導体装置
25日前
ローム株式会社
半導体装置
23日前
ローム株式会社
半導体装置
2日前
ローム株式会社
半導体装置
今日
個人
半導体パッケージ用ガラス基板
3日前
ニチコン株式会社
コンデンサ
16日前
ニチコン株式会社
コンデンサ
16日前
沖電気工業株式会社
アンテナ
1か月前
株式会社GSユアサ
蓄電装置
今日
株式会社GSユアサ
蓄電装置
1か月前
続きを見る
他の特許を見る