TOP
|
特許
|
意匠
|
商標
特許ウォッチ
Twitter
他の特許を見る
公開番号
2025140609
公報種別
公開特許公報(A)
公開日
2025-09-29
出願番号
2024040123
出願日
2024-03-14
発明の名称
アルカリ電池
出願人
FDK株式会社
代理人
弁理士法人酒井国際特許事務所
主分類
H01M
6/08 20060101AFI20250919BHJP(基本的電気素子)
要約
【課題】セパレータの内側への負極合剤の充填量を確保して放電性能の向上を図ることができるアルカリ電池を提供すること。
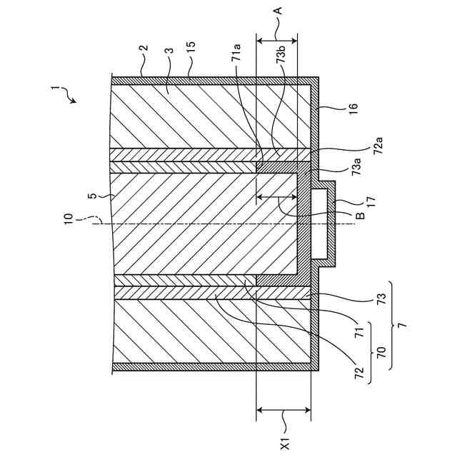
【解決手段】アルカリ電池1は、有底円筒状で底面16に正極端子17が形成された正極缶2と、正極缶2の内部に設けられた正極合剤3と、正極合剤3の内周側に設けられて円筒状の第1の筒部70と第1の筒部70の開口を塞ぐ底部73とを有するセパレータ7と、第1の筒部70の内周側に充填された負極合剤5と、を備え、第1の筒部70は、内周側に設けられた内層71と、外周側に設けられた外層72とを有し、底部73は、第1の筒部70の開口を覆う蓋部73aと、蓋部73aの外縁から延びる第2の筒部73bと、を有し、内層側端部71aと、外層側端部72aとで底面16との距離が異なることで、内層71と外層72とで段差が形成されており、段差部分に第2の筒部73bが嵌まっている。
【選択図】図1
特許請求の範囲
【請求項1】
有底円筒状で底面に正極端子が形成された正極缶と、
前記正極缶の内部に設けられて、前記正極缶の中心軸と同軸に設けられた円筒状の正極合剤と、
前記正極合剤の内周側に前記中心軸と同軸に設けられた円筒状の第1の筒部と、前記正極端子側となる前記第1の筒部の開口を塞ぐ底部とを有するセパレータと、
前記セパレータの前記第1の筒部の内周側に充填されたゲル状の負極合剤と、を備え、
前記第1の筒部は、内周側に設けられた内層と、前記内層の外周側に設けられた外層とを有し、
前記底部は、前記正極端子側となる前記第1の筒部の開口を覆う蓋部と、前記蓋部の外縁から前記正極端子側とは反対となる方向に向けて延びる第2の筒部と、を有し、
前記正極端子側となる前記内層の端部である内層側端部と、前記正極端子側となる前記外層の端部である外層側端部とで前記底面との距離が異なることで、前記内層と前記外層とで段差が形成されており、
前記段差部分に前記第2の筒部が嵌まっているアルカリ電池。
続きを表示(約 220 文字)
【請求項2】
前記内層側端部のほうが前記外層側端部よりも前記正極端子との距離が小さい請求項1に記載のアルカリ電池。
【請求項3】
前記外層側端部のほうが前記内層側端部よりも前記正極端子との距離が小さい請求項1に記載のアルカリ電池。
【請求項4】
前記内層側端部および前記外層側端部のうち前記正極端子側との距離が大きいほうと、前記蓋部との距離が3mm以上である請求項2または3に記載のアルカリ電池。
発明の詳細な説明
【技術分野】
【0001】
本発明の実施の形態は、アルカリ電池に関する。
続きを表示(約 1,600 文字)
【背景技術】
【0002】
アルカリ電池は、有底円筒状の正極缶を備える。正極缶の内部には、正極缶と同軸の円筒状に形成された正極合剤が設けられ、正極合剤の内周側にゲル状の負極合剤が充填されている。アルカリ電池は、正極合剤と負極合剤との間に設けられたセパレータを備える。
セパレータは、正極缶と同軸の円筒状に形成されて正極合剤の内周面と接する第1の筒部と、第1の筒部の一端側の開口を塞ぐ底部と、を有する。
【0003】
例えば、特許文献1に開示されているように、セパレータの第1の筒部は、円筒状の内層と外層とが重ねられて形成される。底部は、筒部の一端側の開口を覆う蓋部と、蓋部の外縁から第1の筒部側に向けて立ち上げられた第2の筒部と、を有して形成される。第1の筒部と第2の筒部とが重ねられることで、第1の筒部と底部との隙間からの負極合剤の漏れの防止が図られる。
【先行技術文献】
【特許文献】
【0004】
特開2018-120721号公報
【発明の概要】
【発明が解決しようとする課題】
【0005】
しかしながら、第1の筒部のうち第2の筒部と重なる部分では、内層と外層とに加えて第2の筒部も重なって層数が増す。第1の筒部の外周面は正極合剤の内周面に当接してそれより外側には移動できないため、層数が増した分だけ第1の筒部の内周面が内側に入り込んだ形となってしまう。これにより、セパレータの内側に充填できる負極合剤が減ってしまい、放電性能が低下してしまうという問題があった。
【0006】
開示の技術では、セパレータの内側への負極合剤の充填量を確保して放電性能の向上を図ることができるアルカリ電池を提供することを目的とする。
【課題を解決するための手段】
【0007】
本開示の一態様によるアルカリ電池は、有底円筒状で底面に正極端子が形成された正極缶と、正極缶の内部に設けられて、正極缶の中心軸と同軸に設けられた円筒状の正極合剤と、正極合剤の内周側に中心軸と同軸に設けられた円筒状の第1の筒部と、正極端子側となる第1の筒部の開口を塞ぐ底部とを有するセパレータと、セパレータの第1の筒部の内周側に充填されたゲル状の負極合剤と、を備え、第1の筒部は、内周側に設けられた内層と、内層の外周側に設けられた外層とを有し、底部は、正極端子側となる第1の筒部の開口を覆う蓋部と、蓋部の外縁から正極端子側とは反対となる方向に向けて延びる第2の筒部と、を有し、正極端子側となる内層の端部である内層側端部と、正極端子側となる外層の端部である外層側端部とで底面との距離が異なることで、内層と外層とで段差が形成されており、段差部分に第2の筒部が嵌まっている。
【発明の効果】
【0008】
本願の開示するアルカリ電池の一態様によれば、セパレータの内側への負極合剤の充填量を確保して放電性能の向上を図ることができるアルカリ電池を提供することができる。
【図面の簡単な説明】
【0009】
図1は、実施の形態1のアルカリ電池の正極端子側を拡大した部分拡大断面図である。
図2は、実施の形態1におけるセパレータの斜視図である。
図3は、実施の形態1における第1の筒部の材料を示す平面図である。
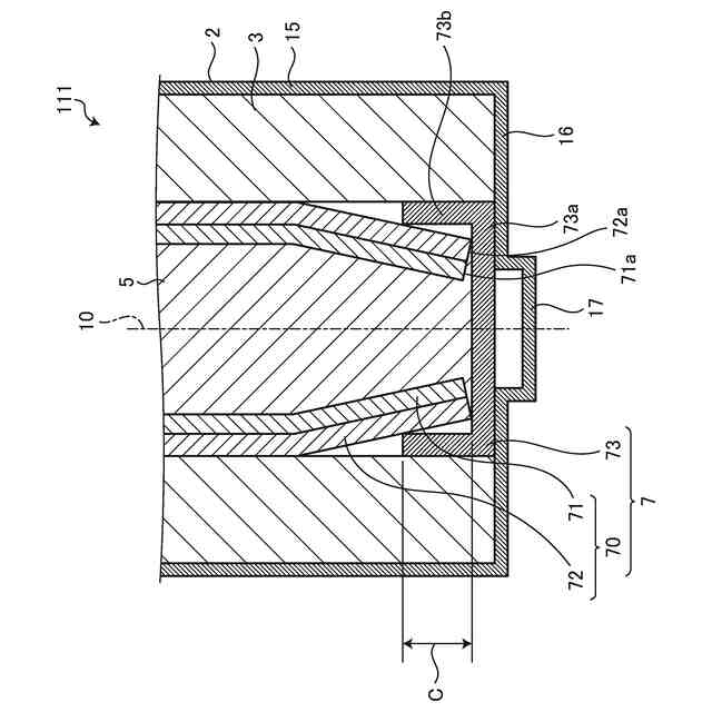
図4は、実施の形態2のアルカリ電池の正極端子側を拡大した部分拡大断面図である。
図5は、比較例のアルカリ電池の正極端子側を拡大した部分拡大断面図である。
図6は、評価試験の結果を示す図である。
【発明を実施するための形態】
【0010】
以下に、本願の開示するアルカリ電池の実施の形態を図面に基づいて詳細に説明する。なお、以下の実施の形態によって、本願の開示するアルカリ電池が限定されるものではない。
(【0011】以降は省略されています)
この特許をJ-PlatPat(特許庁公式サイト)で参照する
関連特許
FDK株式会社
基板
4日前
FDK株式会社
圧着端子
3日前
FDK株式会社
駆動装置
17日前
FDK株式会社
捲回型電池
1か月前
FDK株式会社
アルカリ電池
5日前
FDK株式会社
アルカリ電池
7日前
FDK株式会社
リチウム電池
1か月前
FDK株式会社
リチウム電池
3日前
FDK株式会社
リチウムイオン電池
1か月前
FDK株式会社
挿入実装部品用台座
1か月前
FDK株式会社
リチウムイオン電池
26日前
FDK株式会社
リチウムイオン電池
1か月前
FDK株式会社
固体電解質及び固体電池
1か月前
FDK株式会社
全固体電池及びその製造方法
17日前
FDK株式会社
電極、電池及び電極の製造方法
17日前
FDK株式会社
無線通信ユニットおよび蓄電デバイス
2か月前
FDK株式会社
ニッケル水素電池及びニッケル水素電池の製造方法
26日前
個人
安全なNAS電池
1か月前
東レ株式会社
多孔質炭素シート
26日前
日本発條株式会社
積層体
7日前
個人
フリー型プラグ安全カバー
1か月前
ローム株式会社
半導体装置
26日前
ローム株式会社
半導体装置
3日前
キヤノン株式会社
電子機器
26日前
エイブリック株式会社
半導体装置
28日前
個人
防雪防塵カバー
7日前
ローム株式会社
半導体装置
5日前
ローム株式会社
半導体装置
5日前
ローム株式会社
半導体装置
5日前
エイブリック株式会社
半導体装置
28日前
株式会社ティラド
面接触型熱交換器
18日前
ニチコン株式会社
コンデンサ
19日前
ニチコン株式会社
コンデンサ
19日前
株式会社GSユアサ
蓄電装置
7日前
東レ株式会社
ガス拡散層の製造方法
26日前
沖電気工業株式会社
アンテナ
1か月前
続きを見る
他の特許を見る