TOP
|
特許
|
意匠
|
商標
特許ウォッチ
Twitter
他の特許を見る
公開番号
2025145592
公報種別
公開特許公報(A)
公開日
2025-10-03
出願番号
2024045862
出願日
2024-03-22
発明の名称
リチウム電池
出願人
FDK株式会社
代理人
弁理士法人扶桑国際特許事務所
主分類
H01M
6/16 20060101AFI20250926BHJP(基本的電気素子)
要約
【課題】高性能のリチウム電池を実現する。
【解決手段】リチウム電池は、円筒状の外装缶に収容される電池要素20を含む。電池要素20は、正極22と、リチウムを含む負極21とが、セパレータ23を介して巻回される。電池要素20において、その中心部C1からの巻回方向D1における負極21の第1終端21aは、巻回方向D1における正極22の第2終端22aよりも、巻回方向D1とは反対方向D2側に位置する。負極21の第1終端21aと正極22の第2終端22aとの距離L1は、2×円周率×負極21の厚さ×正極22の巻き数×αで表され、0<α<0.5の範囲に設定される。
【選択図】図2
特許請求の範囲
【請求項1】
円筒状の外装缶と、
前記外装缶に収容され、正極とリチウムを含む負極とがセパレータを介して巻回された電池要素と、
を含み、
前記電池要素の中心部からの巻回方向における前記負極の第1終端は、前記巻回方向における前記正極の第2終端よりも、前記巻回方向とは反対方向側に位置し、
前記第1終端と前記第2終端との距離が、2×円周率×前記負極の厚さ×前記正極の巻き数×αで表され、0<α<0.5の範囲である、リチウム電池。
続きを表示(約 570 文字)
【請求項2】
前記正極の、前記第2終端を含む端部の内周面を覆う絶縁テープを含み、
前記内周面を覆う前記絶縁テープの、前記第2終端からの幅が、2×円周率×前記負極の厚さ×前記正極の巻き数×βで表され、0.5<β≦1の範囲である、請求項1に記載のリチウム電池。
【請求項3】
前記中心部から巻回される前記負極の第1始端は、前記中心部から巻回される前記正極の第2始端よりも、前記巻回方向側に位置する、請求項1に記載のリチウム電池。
【請求項4】
前記中心部から巻回される前記正極の第2始端の位置を0度とした時、前記第2始端からの前記巻回方向の角度が90度以下の範囲内に、前記第2終端が位置する、請求項1に記載のリチウム電池。
【請求項5】
前記負極に接続された第1タブと、
前記正極に接続された第2タブと、
を含み、
前記中心部から巻回される前記正極の第2始端の位置を0度とした時、前記第2始端からの前記巻回方向の角度が90度超360度未満の範囲内に、前記第1タブと前記第2タブとが位置する、請求項1に記載のリチウム電池。
【請求項6】
前記正極の最外周よりも前記負極の最外周が外側に配置される、請求項1から5のいずれか一項に記載のリチウム電池。
発明の詳細な説明
【技術分野】
【0001】
本発明は、リチウム電池に関する。
続きを表示(約 1,400 文字)
【背景技術】
【0002】
電池の1種として、リチウムを含む負極を用いたリチウム電池(「リチウム一次電池」等とも称される)が知られている。例えば、帯状の正極板と負極板とがセパレータを介して渦巻状に巻回された電極巻取品を外装缶内に収納した、渦巻式リチウム電池が知られている(特許文献1)。
【先行技術文献】
【特許文献】
【0003】
特開平5-325989号公報
【発明の概要】
【発明が解決しようとする課題】
【0004】
正極と負極とがセパレータを介して巻回された電池要素が円筒状の外装缶に収容されるリチウム電池では、その電池要素の負極と正極との巻回状態又は配置関係に起因して、負極の不均一な消耗、放電容量の劣化、正負極の短絡等が生じ、電池性能の低下が引き起こされる場合があった。
【0005】
1つの側面では、本発明は、高性能のリチウム電池を実現することを目的とする。
【課題を解決するための手段】
【0006】
1つの態様では、円筒状の外装缶と、前記外装缶に収容され、正極とリチウムを含む負極とがセパレータを介して巻回された電池要素と、を含み、前記電池要素の中心部からの巻回方向における前記負極の第1終端は、前記巻回方向における前記正極の第2終端よりも、前記巻回方向とは反対方向側に位置し、前記第1終端と前記第2終端との距離が、2×円周率×前記負極の厚さ×前記正極の巻き数×αで表され、0<α<0.5の範囲である、リチウム電池が提供される。
【発明の効果】
【0007】
1つの側面では、高性能のリチウム電池を実現することが可能になる。
【図面の簡単な説明】
【0008】
リチウム電池の構成例について説明する図(その1)である。
リチウム電池の構成例について説明する図(その2)である。
負極と正極の終端の距離について説明する図である。
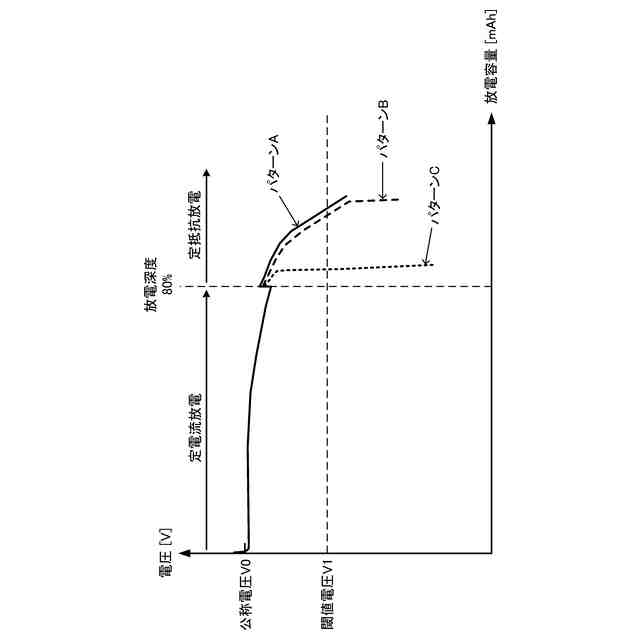
放電容量と電圧との関係の例について説明する図である。
【発明を実施するための形態】
【0009】
図1及び図2はリチウム電池の構成例について説明する図である。図1には、リチウム電池の一例の要部断面図を模式的に示している。図2には、リチウム電池が備える電池要素の一例の要部断面図を模式的に示している。図2は、図1に示すような構成を有するリチウム電池をそのI-I線の位置で切断した時の電池要素の要部断面模式図である。尚、図2では、図1に示すような外装缶の図示を省略している。
【0010】
一例として、図1に示すリチウム電池1は、外装缶10、電池要素20、絶縁板30、絶縁板40、電解液50、封口板60及びガスケット70を備える。
外装缶10は、図1に示すように、一方の端部が開口された有底円筒状の導電性の容器である。外装缶10には、ステンレス、鋼、ニッケルめっきが施された鋼等の材料が用いられる。例えば、外装缶10の開口端側には、図1に示すように、絞り加工及びかしめ加工が施され、ガスケット70を介して、正極端子61が設けられた導電性の封口板60が固定される。封口板60には、ステンレス、鋼、ニッケルめっきが施された鋼等の材料が用いられる。外装缶10は、ガスケット70及び封口板60によって密閉される。
(【0011】以降は省略されています)
この特許をJ-PlatPat(特許庁公式サイト)で参照する
関連特許
FDK株式会社
電池
9日前
FDK株式会社
基板
1か月前
FDK株式会社
圧着端子
1か月前
FDK株式会社
駆動装置
1か月前
FDK株式会社
全固体電池
1か月前
FDK株式会社
容量計測装置
15日前
FDK株式会社
リチウム電池
1か月前
FDK株式会社
アルカリ電池
1か月前
FDK株式会社
アルカリ電池
1か月前
FDK株式会社
リチウムイオン電池
1か月前
FDK株式会社
全固体電池及びその製造方法
1か月前
FDK株式会社
全固体電池及びその製造方法
1か月前
FDK株式会社
故障判定装置およびプログラム
17日前
FDK株式会社
電極、電池及び電極の製造方法
1か月前
FDK株式会社
ニッケル水素電池及びニッケル水素電池の製造方法
1か月前
APB株式会社
蓄電セル
15日前
東ソー株式会社
絶縁電線
17日前
個人
フレキシブル電気化学素子
29日前
ローム株式会社
半導体装置
1か月前
ローム株式会社
半導体装置
16日前
株式会社東芝
端子台
9日前
日新イオン機器株式会社
イオン源
25日前
マクセル株式会社
電源装置
9日前
株式会社ユーシン
操作装置
29日前
株式会社GSユアサ
蓄電設備
29日前
オムロン株式会社
電磁継電器
1か月前
株式会社GSユアサ
蓄電装置
10日前
株式会社GSユアサ
蓄電装置
10日前
株式会社ホロン
冷陰極電子源
23日前
株式会社GSユアサ
蓄電設備
29日前
株式会社GSユアサ
蓄電装置
2日前
太陽誘電株式会社
コイル部品
29日前
北道電設株式会社
配電具カバー
15日前
トヨタ自動車株式会社
バッテリ
15日前
日本特殊陶業株式会社
保持装置
1日前
日本特殊陶業株式会社
保持装置
18日前
続きを見る
他の特許を見る