TOP
|
特許
|
意匠
|
商標
特許ウォッチ
Twitter
他の特許を見る
10個以上の画像は省略されています。
公開番号
2025171757
公報種別
公開特許公報(A)
公開日
2025-11-20
出願番号
2024077404
出願日
2024-05-10
発明の名称
液体分離モジュール及びその設計方法
出願人
株式会社デンソー
代理人
弁理士法人あいち国際特許事務所
主分類
B01D
61/36 20060101AFI20251113BHJP(物理的または化学的方法または装置一般)
要約
【課題】長期間にわたって被処理液から被分離液体を効率的に分離することができる液体分離モジュール及びその設計方法を提供すること。
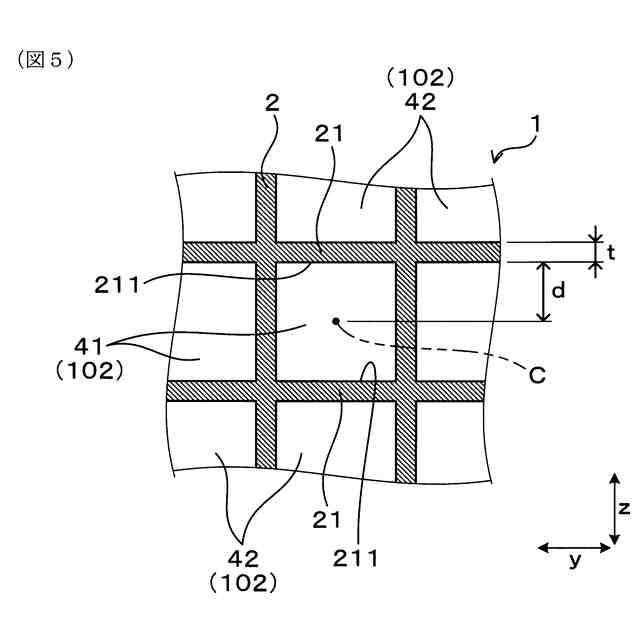
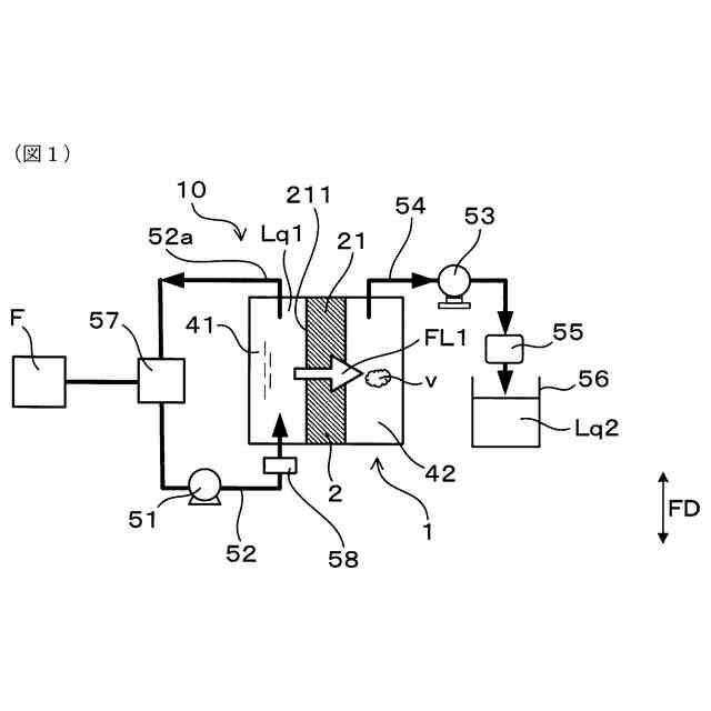
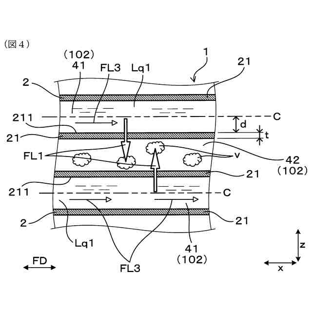
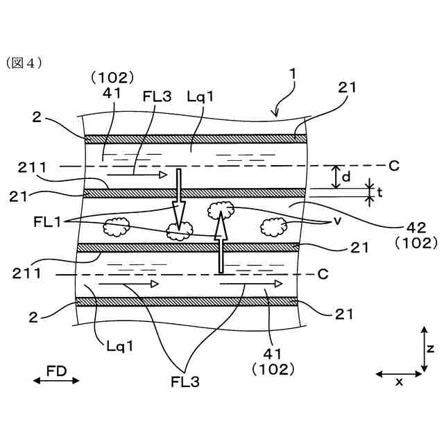
【解決手段】液体分離モジュール1は、被処理液Lq1から被分離液体を分離するために用いられる。液体分離モジュール1は、多数の細孔を有する分離部21と、被処理液Lq1が流通する処理液流路41と、を備える。分離部21は、被処理液Lq1に含まれる被分離液体を蒸気vの状態で透過させることにより、被処理液Lq1から被分離液体を分離するよう構成されている。分離部21は、処理液流路41に面する面であって、蒸気vを透過させる透過面211を有する。処理液流路41の中心軸Cから透過面211までの距離をdとし、分離部21の厚みをtとする。このとき、液体分離モジュール1は、d/t≦7を満たす。
【選択図】図4
特許請求の範囲
【請求項1】
被処理液(Lq1)から被分離液体(Lq2)を分離するために用いられる液体分離モジュール(1)であって、
前記液体分離モジュールは、
多数の細孔(20)を有し、前記被処理液に含まれる前記被分離液体を蒸気(v)の状態で透過させることにより、前記被処理液から前記被分離液体を分離するよう構成された分離部(21)と、
前記被処理液が流通する処理液流路(41)と、を備え、
前記分離部は、前記処理液流路に面する面であって、前記蒸気を透過させる透過面(211)を有し、
前記処理液流路の中心軸(C)から前記透過面までの距離をdとし、前記分離部の厚みをtとしたとき、d/t≦7を満たす、液体分離モジュール。
続きを表示(約 700 文字)
【請求項2】
d/t≦6を更に満たす、請求項1に記載の液体分離モジュール。
【請求項3】
4≦d/tを更に満たす、請求項1又は2に記載の液体分離モジュール。
【請求項4】
多数の前記処理液流路を有し、かつ、ハニカム構造体である、請求項1又は2に記載の液体分離モジュール。
【請求項5】
前記分離部は、前記多数の細孔を有するセラミック基材(22)と、前記セラミック基材の表面に形成された被覆層(221)とを有し、前記被覆層の表面に対する前記被処理液の接触角は、90°よりも大きい、請求項1又は2に記載の液体分離モジュール。
【請求項6】
前記分離部の厚みtは、150μm以下である、請求項1又は2に記載の液体分離モジュール。
【請求項7】
被処理液(Lq1)から被分離液体(Lq2)を分離するために用いられる液体分離モジュール(1)の設計方法であって、
前記液体分離モジュールは、
多数の細孔(20)を有し、前記被処理液に含まれる前記被分離液体を蒸気(v)の状態で透過させることにより、前記被処理液から前記被分離液体を分離するよう構成された分離部(21)と、
前記被処理液が流通する処理液流路(41)と、を備え、
前記分離部は、前記処理液流路に面する面であって、前記蒸気を透過させる透過面(211)を有し、
前記処理液流路の中心軸(C)から前記透過面までの距離をdとし、前記分離部の厚みをtとしたとき、d/t≦7を満たすように設計する、液体分離モジュールの設計方法。
発明の詳細な説明
【技術分野】
【0001】
本発明は、液体分離モジュール及びその設計方法に関する。
続きを表示(約 1,900 文字)
【背景技術】
【0002】
例えば、特許文献1に開示されているように、被処理液を膜蒸留用膜である中空糸膜の内側に流通させて膜蒸留を行う膜蒸留装置が知られている。特許文献1に記載の膜蒸留装置の運転方法は、膜蒸留用膜の内側を流通する被処理液のレイノルズ数を1,100以上とし、かつ、膜蒸留用膜の内側を流通する被処理液の線速を3.5m/s以下としている。これにより、膜蒸留用膜表面へのスケールの析出の抑制と圧力損失の抑制を図り、膜蒸留を高い効率で長期間安定して行おうとしている。
【先行技術文献】
【特許文献】
【0003】
特開2023-092086号公報
【発明の概要】
【発明が解決しようとする課題】
【0004】
しかしながら、特許文献1に記載の膜蒸留装置は、被処理液が流通する流路と、膜蒸留用膜の厚みとの関係については、充分に考慮されていない。そのため、被処理液のレイノルズ数及び線速を上記のように制御したとしても、膜蒸留用膜表面へのスケールの析出を充分に抑制できないおそれがある。それゆえ、長期間にわたって被処理液から被分離液体を効率的に分離する観点から、さらなる改善の余地があるといえる。
【0005】
本発明は、かかる課題に鑑みてなされたものであり、長期間にわたって被処理液から被分離液体を効率的に分離することができる液体分離モジュール及びその設計方法を提供しようとするものである。
【課題を解決するための手段】
【0006】
本発明の一態様は、被処理液(Lq1)から被分離液体(Lq2)を分離するために用いられる液体分離モジュール(1)であって、
前記液体分離モジュールは、
多数の細孔(20)を有し、前記被処理液に含まれる前記被分離液体を蒸気(v)の状態で透過させることにより、前記被処理液から前記被分離液体を分離するよう構成された分離部(21)と、
前記被処理液が流通する処理液流路(41)と、を備え、
前記分離部は、前記処理液流路に面する面であって、前記蒸気を透過させる透過面(211)を有し、
前記処理液流路の中心軸(C)から前記透過面までの距離をdとし、前記分離部の厚みをtとしたとき、d/t≦7を満たす、液体分離モジュールにある。
【0007】
本発明の他の態様は、被処理液(Lq1)から被分離液体(Lq2)を分離するために用いられる液体分離モジュール(1)の設計方法であって、
前記液体分離モジュールは、
多数の細孔(20)を有し、前記被処理液に含まれる前記被分離液体を蒸気(v)の状態で透過させることにより、前記被処理液から前記被分離液体を分離するよう構成された分離部(21)と、
前記被処理液が流通する処理液流路(41)と、を備え、
前記分離部は、前記処理液流路に面する面であって、前記蒸気を透過させる透過面(211)を有し、
前記処理液流路の中心軸(C)から前記透過面までの距離をdとし、前記分離部の厚みをtとしたとき、d/t≦7を満たすように設計する、液体分離モジュールの設計方法にある。
【発明の効果】
【0008】
上記液体分離モジュールは、d/t≦7を満たす。それゆえ、処理液流路内における透過面近傍の被処理液の流速を充分に高く保つことができる。それゆえ、被処理液から被分離液体を効率的に分離するため、分離部の厚みdを薄くしたとしても、被処理液に含まれる物質が、透過面に析出したり、固着したりすることを防ぐことができる。その結果、長期間にわたって被処理液から被分離液体を効率的に分離することができる。
【0009】
上記液体分離モジュールの設計方法は、d/t≦7を満たすように設計する。それゆえ、処理液流路内における透過面近傍の被処理液の流速を充分に高く保つことができる。その結果、長期間にわたって被処理液から被分離液体を効率的に分離することができる。
【0010】
以上のごとく、上記態様によれば、長期間にわたって被処理液から被分離液体を効率的に分離することができる液体分離モジュール及びその設計方法を提供することができる。
なお、特許請求の範囲及び課題を解決する手段に記載した括弧内の符号は、後述する実施形態に記載の具体的手段との対応関係を示すものであり、本発明の技術的範囲を限定するものではない。
【図面の簡単な説明】
(【0011】以降は省略されています)
この特許をJ-PlatPat(特許庁公式サイト)で参照する
関連特許
株式会社デンソーウェーブ
筐体
1か月前
株式会社デンソー
回転機
1か月前
株式会社デンソー
電動弁
15日前
株式会社デンソー
分離体
1日前
株式会社デンソー
摺動機構
14日前
株式会社デンソー
電子装置
1か月前
株式会社デンソー
検出装置
1か月前
株式会社デンソー
制御装置
17日前
株式会社デンソー
撮像装置
14日前
株式会社デンソー
撮像装置
14日前
株式会社デンソー
反力装置
1か月前
株式会社デンソー
摺動機構
14日前
株式会社デンソー
電子装置
1か月前
株式会社デンソー
電子装置
25日前
株式会社デンソー
電子装置
15日前
株式会社デンソー
ステータ
1か月前
株式会社デンソー
電解装置
16日前
株式会社デンソー
ステータ
1か月前
株式会社デンソー
熱交換器
14日前
株式会社デンソー
電気回路
9日前
株式会社デンソー
光学部材
1日前
株式会社デンソー
光学部材
1日前
株式会社デンソー
レーダ装置
1か月前
株式会社デンソートリム
鞍乗り車両
23日前
株式会社デンソー
半導体装置
1日前
株式会社デンソー
半導体装置
24日前
株式会社デンソー
熱交換装置
29日前
株式会社デンソー
半導体装置
1か月前
株式会社デンソー
ヒータ装置
23日前
株式会社デンソーテン
インバータ
1か月前
株式会社デンソー
センサ装置
22日前
株式会社デンソー
半導体装置
1か月前
株式会社デンソー
半導体装置
16日前
株式会社デンソー
熱交換部材
16日前
株式会社デンソー
電流センサ
1か月前
株式会社デンソー
センサ装置
22日前
続きを見る
他の特許を見る