TOP
|
特許
|
意匠
|
商標
特許ウォッチ
Twitter
他の特許を見る
10個以上の画像は省略されています。
公開番号
2025170205
公報種別
公開特許公報(A)
公開日
2025-11-18
出願番号
2024075026
出願日
2024-05-06
発明の名称
制御装置、荷台監視システムおよび通知方法
出願人
株式会社デンソー
代理人
個人
,
個人
主分類
H04N
7/18 20060101AFI20251111BHJP(電気通信技術)
要約
【課題】ユーザが荷台内の検知対象の変化を認識しやすい制御装置を提供すること。
【解決手段】制御装置は、車両で用いられる制御装置であって、車両の荷台を撮影する撮像装置5で撮像された荷台画像Gbを取得する画像取得部10と、荷台画像Gbから荷台内の検知対象の変化を検知する荷台検知部12と、荷台検知部12が検知対象の変化を検知した場合に、音声出力部4による音出力またはおよび画像出力部3による通知画像の表示の少なくとも一方により、検知対象の変化を車両のユーザに通知する通知処理部13と、を備える。
【選択図】図1
特許請求の範囲
【請求項1】
車両(6)で用いられる制御装置であって、
前記車両の荷台(6b)を撮影する撮像装置(5)で撮像された荷台画像(Gb)を取得する画像取得部(10)と、
前記荷台画像から前記荷台内の検知対象(Ob)の変化を検知する荷台検知部(12)と、
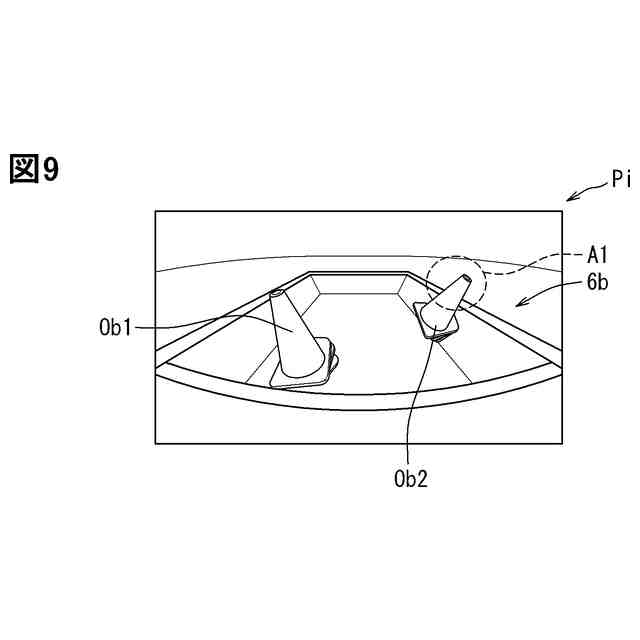
前記荷台検知部が前記検知対象の変化を検知した場合に、音声出力部(4)による音出力および画像出力部(3)による通知画像(Pi)の表示の少なくとも一方により、前記検知対象の変化を前記車両のユーザに通知する通知処理部(13)と、を備える制御装置。
続きを表示(約 1,400 文字)
【請求項2】
前記荷台内の領域である荷台領域(E)を設定する領域設定部(11)を備え、
前記荷台検知部は、前記検知対象の変化として、前記検知対象の前記荷台領域からのはみだし判定値以上のはみだしを検知し、
前記通知処理部は、前記荷台検知部が前記はみだし判定値以上のはみだしを検知した場合に、前記ユーザに通知する、請求項1に記載の制御装置。
【請求項3】
前記領域設定部は、前記ユーザによる操作の操作情報に基づき前記荷台領域を設定する、請求項2に記載の制御装置。
【請求項4】
前記荷台検知部は、前記検知対象の変化として、前記荷台内に人が存在することを検知し、
前記通知処理部は、前記荷台検知部が前記荷台内に人が存在することを検知した場合に、前記ユーザに通知する、請求項1に記載の制御装置。
【請求項5】
前記荷台検知部は、前記検知対象の変化として、前記検知対象のふらつき判定値以上のふらつきを検知し、
前記通知処理部は、前記荷台検知部がふらつき判定値以上のふらつきを検知した場合に、前記ユーザに通知する、請求項1に記載の制御装置。
【請求項6】
前記画像取得部は、
前記車両が停車したときの前記荷台画像である停車画像(Gs)を取得し、
前記車両が再発進したときの前記荷台画像である再発進画像(Gr)を取得し、
前記荷台検知部は、前記停車画像と前記再発進画像との間で前記検知対象に変化が生じたかを検知し、
前記通知処理部は、前記荷台検知部が前記停車画像と前記再発進画像との間で前記検知対象に変化が生じたことを検知した場合に、前記ユーザに通知する、請求項1に記載の制御装置。
【請求項7】
前記画像取得部は、前記車両が停車したときの前記荷台画像である停車画像(Gs)を複数取得し、
前記通知処理部は、前記荷台検知部が複数の前記停車画像間で前記検知対象に変化が生じたことを検知した場合に、前記ユーザに通知する、請求項1に記載の制御装置。
【請求項8】
車両(6)で用いられる荷台監視システムであって、
前記車両の荷台(6b)を撮影する撮像装置(5)と制御装置(1)と、を備え、
前記制御装置は、
前記撮像装置で撮像された荷台画像(Gb)を取得する画像取得部(10)と、
前記荷台画像から前記荷台内の検知対象(Ob)の変化を検知する荷台検知部(12)と、
前記荷台検知部が前記検知対象の変化を検知した場合に、音声出力部(4)による音出力および画像出力部(3)による通知画像(Pi)の表示の少なくとも一方により、前記検知対象の変化を前記車両のユーザに通知する通知処理部(13)と、を有する荷台監視システム。
【請求項9】
車両(6)で用いられる通知方法であって、
前記車両の荷台(6b)を撮影する撮像装置(5)で撮像された荷台画像(Gb)を取得し(S11)、
前記荷台画像から前記荷台内の検知対象(Ob)の変化を検知し(S12)、
前記検知対象の変化を検知した場合に、音声出力部(4)による音出力および画像出力部(3)による通知画像(Pi)の表示の少なくとも一方により、前記検知対象の変化を前記車両のユーザに通知する(S13)、というステップを、少なくとも1つのプロセッサ(14)により実行される処理に含む通知方法。
発明の詳細な説明
【技術分野】
【0001】
この明細書における開示は、制御装置、荷台監視システムおよび通知方法に関する。
続きを表示(約 1,800 文字)
【背景技術】
【0002】
特許文献1は、荷崩れ監視装置を開示している。荷崩れ監視装置は、荷台内部を撮影し、撮影した画像を運転席の表示装置に表示する。
【先行技術文献】
【特許文献】
【0003】
特開平7-18684号公報
【発明の概要】
【発明が解決しようとする課題】
【0004】
特許文献1は、撮影した画像を運転席の表示装置に単に表示し続けるだけであって、荷台の変化を検知して知らせることをしないため、運転者が荷台の変化に気づきにくい。
【0005】
開示されるひとつの目的は、ユーザが荷台内の検知対象の変化を認識しやすい制御装置を提供することにある。
【課題を解決するための手段】
【0006】
ここに開示された制御装置は、車両(6)で用いられる制御装置であって、車両の荷台(6b)を撮影する撮像装置(5)で撮像された荷台画像(Gb)を取得する画像取得部(10)と、
荷台画像から荷台内の検知対象(Ob)の変化を検知する荷台検知部(12)と、
荷台検知部が検知対象の変化を検知した場合に、音声出力部(4)による音出力および画像出力部(3)による通知画像(Pi)の表示の少なくとも一方により、検知対象の変化を車両のユーザに通知する通知処理部(13)と、を備える。
【0007】
また開示された荷台監視システムは、車両(6)で用いられる荷台監視システムであって、
車両の荷台(6b)を撮影する撮像装置(5)と制御装置(1)と、を備え、
制御装置は、
撮像装置で撮像された荷台画像(Gb)を取得する画像取得部(10)と、
荷台画像から荷台内の検知対象(Ob)の変化を検知する荷台検知部(12)と、
荷台検知部が検知対象の変化を検知した場合に、音声出力部(4)による音出力および画像出力部(3)による通知画像(Pi)の表示の少なくとも一方により、検知対象の変化を車両のユーザに通知する通知処理部(13)と、を有する。
【0008】
また開示された通知方法は、車両(6)で用いられる通知方法であって、
車両の荷台(6b)を撮影する撮像装置(5)で撮像された荷台画像(Gb)を取得し(S11)、
荷台画像から荷台内の検知対象(Ob)の変化を検知し(S12)、
検知対象の変化を検知した場合に、音声出力部(4)による音出力および画像出力部(3)による通知画像(Pi)の表示の少なくとも一方により、検知対象の変化を車両のユーザに通知する(S13)、というステップを、少なくとも1つのプロセッサ(14)により実行される処理に含む通知方法。
【0009】
これらによれば、荷台を撮影した荷台画像から荷台内の検知対象の変化を検知した場合に、この検知対象の変化が、音出力および通知画像の表示の少なくとも一方によりユーザに通知される。このように、検知対象の変化をトリガとしてユーザへの通知が行われることにより、ユーザが荷台内の検知対象の変化を認識しやすくなる。
【図面の簡単な説明】
【0010】
荷台監視システムを示す図である。
車両の側面図である。
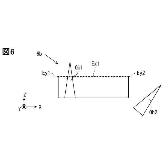
荷台領域を説明する図である。
はみだし検知を説明する図である。
はみだし検知を説明する図である。
はみだし検知を説明する図である。
人検知を説明する図である。
ふらつき検知を説明する図である。
通知画像の一例を示す図である。
通知画像の一例を示す図である。
通知画像の一例を示す図である。
通知画像の一例を示す図である。
通知画像の一例を示す図である。
通知画像の一例を示す図である。
周辺監視ECUでの処理を示すフローチャートである。
周辺監視ECUでの処理を示すフローチャートである。
周辺監視ECUでの処理を示すフローチャートである。
周辺監視ECUでの処理を示すフローチャートである。
周辺監視ECUでの処理を示すフローチャートである。
周辺監視ECUでの処理を示すフローチャートである。
【発明を実施するための形態】
(【0011】以降は省略されています)
この特許をJ-PlatPat(特許庁公式サイト)で参照する
関連特許
株式会社デンソー
回転機
1か月前
株式会社デンソー
電動弁
13日前
株式会社デンソー
撮像装置
12日前
株式会社デンソー
検出装置
1か月前
株式会社デンソー
撮像装置
12日前
株式会社デンソー
摺動機構
12日前
株式会社デンソー
熱交換器
12日前
株式会社デンソー
電気回路
7日前
株式会社デンソー
電子装置
13日前
株式会社デンソー
電解装置
14日前
株式会社デンソー
摺動機構
12日前
株式会社デンソー
制御装置
15日前
株式会社デンソー
電子装置
23日前
株式会社デンソー
センサ装置
20日前
株式会社デンソー
センサ装置
20日前
株式会社デンソー
ヒータ装置
21日前
株式会社デンソートリム
鞍乗り車両
21日前
株式会社デンソー
半導体装置
14日前
株式会社デンソー
半導体装置
22日前
株式会社デンソー
半導体装置
12日前
株式会社デンソー
電流センサ
1か月前
株式会社デンソー
半導体装置
29日前
株式会社デンソー
熱交換装置
27日前
株式会社デンソー
熱交換部材
14日前
株式会社デンソー
圧電デバイス
20日前
株式会社デンソー
電圧検出回路
27日前
株式会社デンソーテン
車載表示装置
12日前
株式会社デンソー
電子制御装置
12日前
株式会社デンソー
電力変換装置
27日前
株式会社デンソー
電気化学セル
12日前
株式会社デンソー
電気化学セル
12日前
株式会社デンソー
ワーク投入装置
12日前
株式会社デンソー
巻線界磁ロータ
20日前
株式会社デンソー
非接触受電装置
29日前
株式会社デンソー
電波透過カバー
12日前
株式会社デンソー
端末及び基地局
今日
続きを見る
他の特許を見る