TOP
|
特許
|
意匠
|
商標
特許ウォッチ
Twitter
他の特許を見る
10個以上の画像は省略されています。
公開番号
2025171843
公報種別
公開特許公報(A)
公開日
2025-11-20
出願番号
2024077567
出願日
2024-05-10
発明の名称
通信装置、通信方法、及び通信プログラム
出願人
株式会社デンソー
代理人
個人
,
個人
主分類
H04L
45/121 20220101AFI20251113BHJP(電気通信技術)
要約
【課題】突発遅延の影響を踏まえてマルチキャリア通信機の送信制御を行う通信装置を提供する。
【解決手段】通信装置100は、複数の通信回線を用いて相手方装置200にパケットを送信する送信部102と、パケットを受信したことを示す確認応答を相手方装置から受信する受信部103と、確認応答に基づき、複数の通信回線の各通信回線の観測遅延を求める観測遅延演算部104と、確認応答を受信していない場合、各通信回線のパケットの送信時刻から現在時刻までの経過時間を用いた予測遅延を求める予測遅延演算部105と、観測遅延及び予測遅延のうち大きい方を各通信回線の回線遅延とする回線遅延演算部106と、回線遅延に基づき、複数の通信回線の中からパケットを送信する通信回線を決定する送信制御部107と、を備える。
【選択図】図3
特許請求の範囲
【請求項1】
複数の通信回線を用いて相手方装置(200)にパケットを送信する送信部(102)と、
前記パケットを受信したことを示す確認応答を前記相手方装置から受信する受信部(103)と、
前記確認応答に基づき、前記複数の通信回線の各通信回線の観測遅延を求める観測遅延演算部(104)と、
前記確認応答を受信していない場合、前記各通信回線の前記パケットの送信時刻から現在時刻までの経過時間を用いた予測遅延を求める予測遅延演算部(105)と、
前記観測遅延及び前記予測遅延のうち大きい方を前記各通信回線の回線遅延とする回線遅延演算部(106)と、
前記回線遅延に基づき、前記複数の通信回線の中からパケットを送信する通信回線を決定する送信制御部(107)と、を有する、
通信装置(100)。
続きを表示(約 1,600 文字)
【請求項2】
前記送信制御部は、複数の前記パケットに格納されたアプリケーションデータが前記相手方装置に到達するまでの時間が最短となるように、複数の前記パケットのそれぞれを送信する通信回線を決定する、
請求項1記載の通信装置。
【請求項3】
前記送信制御部は、前記観測遅延よりも前記予測遅延の方が大きい通信回線を除いた前記複数の通信回線の中から前記パケットを送信する通信回線を決定する、
請求項1記載の通信装置。
【請求項4】
前記送信制御部は、前記観測遅延よりも前記予測遅延の方が大きい通信回線を含めた前記複数の通信回線の中から前記パケットを送信する通信回線を決定する、
請求項1記載の通信装置。
【請求項5】
さらに、前記確認応答に基づきパケットロスを検出した場合、又は前記パケット送信から所定の時間が経過しても前記パケットに対する前記確認応答を受信しなかった場合、前記パケットを再送することを決定する再送決定部(108)を有し、
前記送信制御部は、前記回線遅延及び前記再送決定部の判定に基づき、前記パケットを再送する通信回線を決定する、
請求項1記載の通信装置。
【請求項6】
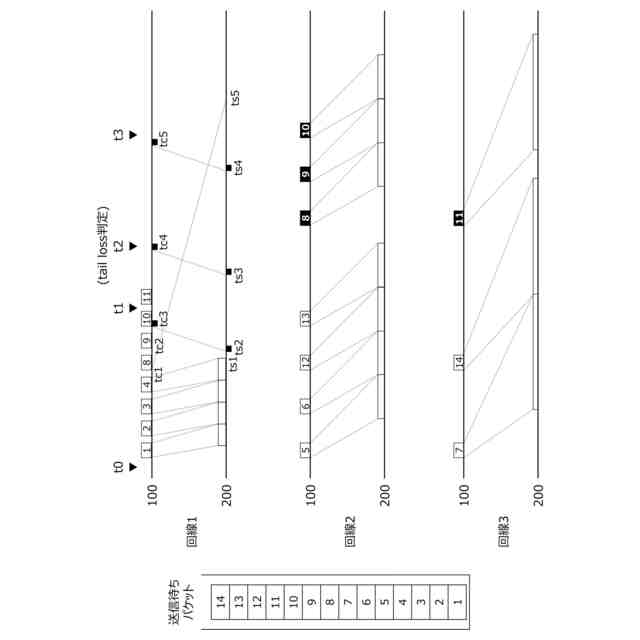
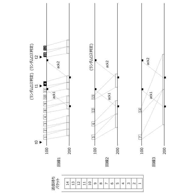
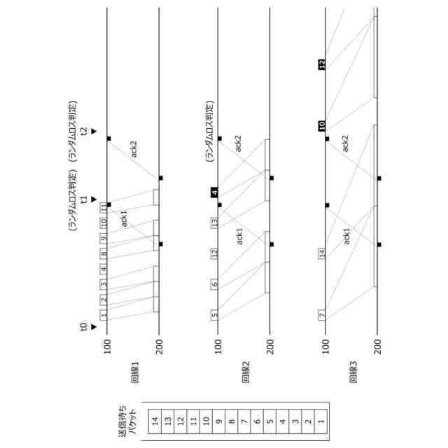
前記受信部が前記確認応答を受信していない場合、前記再送決定部はテールロスと判定し、
前記送信制御部は、前記テールロスが発生した通信回線を除いた前記複数の通信回線の中から前記パケットを再送する通信回線を決定する、
請求項5記載の通信装置。
【請求項7】
前記確認応答で前記パケットロスを検出した場合、前記再送決定部はランダムロスと判定し、
前記送信制御部は、前記ランダムロスが発生した通信回線を含めた前記複数の通信回線の中から前記パケットを再送する通信回線を決定する、
請求項5記載の通信装置。
【請求項8】
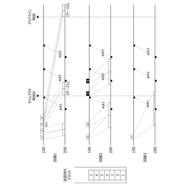
前記送信制御部は、前記パケットに許容遅延時刻がある場合、前記回線遅延に基づき前記許容遅延時刻に前記相手方装置に到達できない前記パケットの送信を停止する、
請求項1記載の通信装置。
【請求項9】
当該通信装置は移動体に搭載されている、
請求項1~8いずれかに記載の通信装置。
【請求項10】
通信装置(100)、及び前記通信装置と通信を行う相手方装置(200)とからなる通信システムであって、
前記通信装置は、
複数の通信回線を用いて前記相手方装置にパケットを送信する送信部(102)と、
前記パケットを受信したことを示す確認応答を前記相手方装置から受信する受信部(103)と、
前記確認応答に基づき、前記複数の通信回線の各通信回線の観測遅延を求める観測遅延演算部(104)と、
前記確認応答を受信していない場合、前記各通信回線の前記パケットの送信時刻から現在時刻までの経過時間を用いた予測遅延を求める予測遅延演算部(105)と、
前記観測遅延及び前記予測遅延のうち大きい方を前記各通信回線の回線遅延とする回線遅延演算部(106)と、
前記回線遅延に基づき、前記複数の通信回線の中からパケットを送信する通信回線を決定する送信制御部(107)と、を有し、
前記相手方装置は、
前記パケットを受信する受信部(201)と、
前記パケットを受信したことを示す前記確認応答を生成する確認応答生成部(202)と、
前記確認応答を前記通信装置に送信する第1の送信部(203)と、
前記パケットを宛先端末装置に送信する第2の送信部(205)と、を有する、
通信システム(1)。
(【請求項11】以降は省略されています)
発明の詳細な説明
【技術分野】
【0001】
本発明は、複数の通信回線を用いてデータを送信する通信装置等に関し、例えば自動車をはじめとする移動体に搭載された通信装置から、複数の通信回線を用いてアプリケーションデータをサーバに送信する通信装置等に関する。
続きを表示(約 1,400 文字)
【背景技術】
【0002】
通信装置からデータを送信する場合、複数の回線が使用可能なマルチキャリア通信機を用いることにより、データの送信時間を短くすることができる、また、一部の回線で通信障害や通信遅延が発生した場合も、他の回線で通信を継続することができる。このようなマルチキャリア通信機の迅速性及び冗長性は、運転支援や自動運転制御を行う車両において特に有効である。
【0003】
このような迅速性及び冗長性を向上させることを目的として、例えば、特許文献1には、通信時間を極力短縮する技術が記載されている。
【先行技術文献】
【特許文献】
【0004】
特開2017-73689号公報
【発明の概要】
【発明が解決しようとする課題】
【0005】
ここで、本発明者は、以下の課題を見出した。
通信回線の遅延を計測する場合、データの送信時刻及び相手方装置から受信した確認応答の受信時刻から遅延時間、すなわち観測遅延を求めることが一般的である。しかし、この方法では、突発的に発生する突発遅延を予測することができない。特に通信装置が移動する場合、建物等の遮蔽物やハンドオーバにより通信環境は変化する。また、自装置や周囲の装置が大量のデータを送信することにより輻輳が生じる。
【0006】
そのような状況において、突発遅延により通信品質が劣化した通信回線を通信品質のよい通信回線と誤認してデータを送信し続けると、ますます通信遅延が増大してしまう。
また、パケットロスが発生した時にパケットロスが発生した通信回線とは別の通信回線で再送する制御をしている場合、別の通信回線に突発遅延が発生していれば再送したパケットの到達がかえって遅くなってしまう。
【0007】
本発明は、観測遅延に加えて予測遅延を用いることにより、通信装置の迅速性及び冗長性を向上させることを目的とする。
【課題を解決するための手段】
【0008】
本開示の通信装置(100)は、
複数の通信回線を用いて相手方装置(200)にパケットを送信する送信部(102)と、
前記パケットを受信したことを示す確認応答を前記相手方装置から受信する受信部(103)と、
前記確認応答に基づき、前記複数の通信回線の各通信回線の観測遅延を求める観測遅延演算部(104)と、
前記確認応答を受信していない場合、前記各通信回線の前記パケットの送信時刻から現在時刻までの経過時間を用いた予測遅延を求める予測遅延演算部(105)と、
前記観測遅延及び前記予測遅延のうち大きい方を前記各通信回線の回線遅延とする回線遅延演算部(106)と、
前記回線遅延に基づき、前記複数の通信回線の中からパケットを送信する通信回線を決定する送信制御部(107)と、
を備える。
【0009】
なお、特許請求の範囲、及び本項に記載した発明の構成要件に付した括弧内の番号は、本発明と後述の実施形態との対応関係を示すものであり、本発明を限定する趣旨ではない。
【発明の効果】
【0010】
上述のような構成により、本開示の通信装置等は、観測遅延に加えて予測遅延を用いることにより、通信装置の迅速性及び冗長性を向上させることができる。
【図面の簡単な説明】
(【0011】以降は省略されています)
この特許をJ-PlatPat(特許庁公式サイト)で参照する
関連特許
株式会社デンソーウェーブ
筐体
1か月前
株式会社デンソー
分離体
今日
株式会社デンソー
回転機
1か月前
株式会社デンソー
電動弁
14日前
株式会社デンソー
電解装置
15日前
株式会社デンソー
光学部材
今日
株式会社デンソー
電気回路
8日前
株式会社デンソー
摺動機構
13日前
株式会社デンソー
摺動機構
13日前
株式会社デンソー
熱交換器
13日前
株式会社デンソー
電子装置
1か月前
株式会社デンソー
電子装置
14日前
株式会社デンソー
制御装置
16日前
株式会社デンソー
撮像装置
13日前
株式会社デンソー
反力装置
1か月前
株式会社デンソー
撮像装置
13日前
株式会社デンソー
光学部材
今日
株式会社デンソー
検出装置
1か月前
株式会社デンソー
電子装置
24日前
株式会社デンソー
電子装置
1か月前
株式会社デンソー
半導体装置
15日前
株式会社デンソー
電流センサ
1か月前
株式会社デンソー
レーダ装置
1か月前
株式会社デンソー
半導体装置
1か月前
株式会社デンソー
半導体装置
13日前
株式会社デンソー
熱交換装置
28日前
株式会社デンソー
半導体装置
23日前
株式会社デンソー
熱交換部材
15日前
株式会社デンソー
センサ装置
21日前
株式会社デンソーテン
インバータ
1か月前
株式会社デンソー
センサ装置
21日前
株式会社デンソー
半導体装置
今日
株式会社デンソートリム
鞍乗り車両
22日前
株式会社デンソー
ヒータ装置
22日前
株式会社デンソー
電圧検出回路
28日前
株式会社デンソー
電気化学セル
13日前
続きを見る
他の特許を見る