TOP
|
特許
|
意匠
|
商標
特許ウォッチ
Twitter
他の特許を見る
10個以上の画像は省略されています。
公開番号
2025171196
公報種別
公開特許公報(A)
公開日
2025-11-20
出願番号
2024076276
出願日
2024-05-09
発明の名称
無線通信装置、無線通信方法、及びプログラム
出願人
株式会社デンソー
代理人
個人
主分類
H04W
8/00 20090101AFI20251113BHJP(電気通信技術)
要約
【課題】広範囲のNANクラスタを形成する。
【解決手段】第1の無線通信装置10は、制御部110及び通信部120を含む。複数の無線通信装置を含むクラスタに第2の無線通信装置を参加させるために、通信部120は、第2の無線通信装置に、第1の周波数帯域よりも低い第2の周波数帯域を使用して、第2の無線通信装置を発見するための無線フレームを送信するように構成され、第2の無線通信装置から応答フレームを受信したことに応答して、制御部110は、第1の周波数帯域及び第2の周波数帯域のいずれかを選択するように構成され、通信部120は、第2の無線通信装置に、選択した周波数帯域を使用して、第2の無線通信装置と同期するための無線フレームを送信するように構成されている。
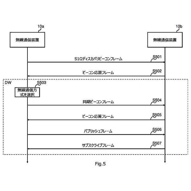
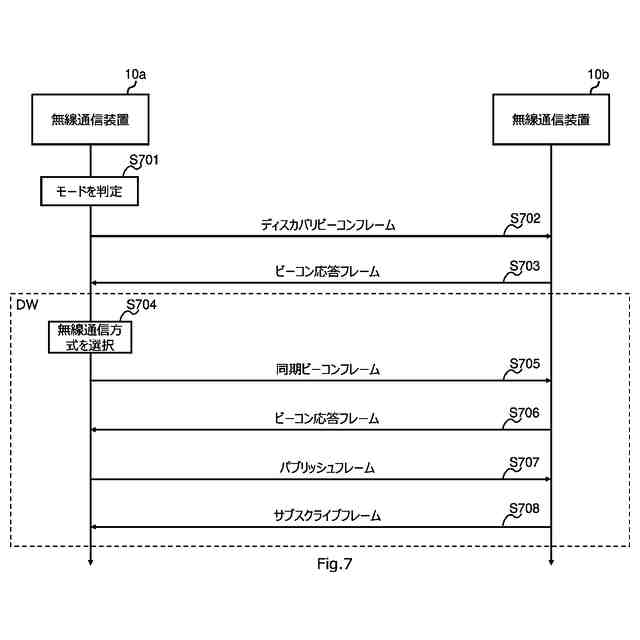
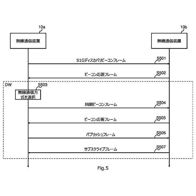
【選択図】図5
特許請求の範囲
【請求項1】
第1の無線通信装置(10)であって、前記第1の無線通信装置は、制御部(110)及び通信部(120)を含み、
複数の無線通信装置を含むクラスタに第2の無線通信装置を参加させるために、
前記通信部は、前記第2の無線通信装置に、第1の周波数帯域よりも低い第2の周波数帯域を使用して、前記第2の無線通信装置を発見するための無線フレームを送信するように構成され、
前記第2の無線通信装置から応答フレームを受信したことに応答して、前記制御部は、前記第1の周波数帯域及び前記第2の周波数帯域のいずれかを選択するように構成され、
前記通信部は、前記第2の無線通信装置に、前記選択した周波数帯域を使用して、前記第2の無線通信装置と同期するための無線フレームを送信するように構成されている、
第1の無線通信装置。
続きを表示(約 1,000 文字)
【請求項2】
前記制御部は、前記第2の無線通信装置との距離に基づいて、前記第1の周波数帯域及び前記第2の周波数帯域のいずれかを選択するように更に構成されている、請求項1に記載の第1の無線通信装置。
【請求項3】
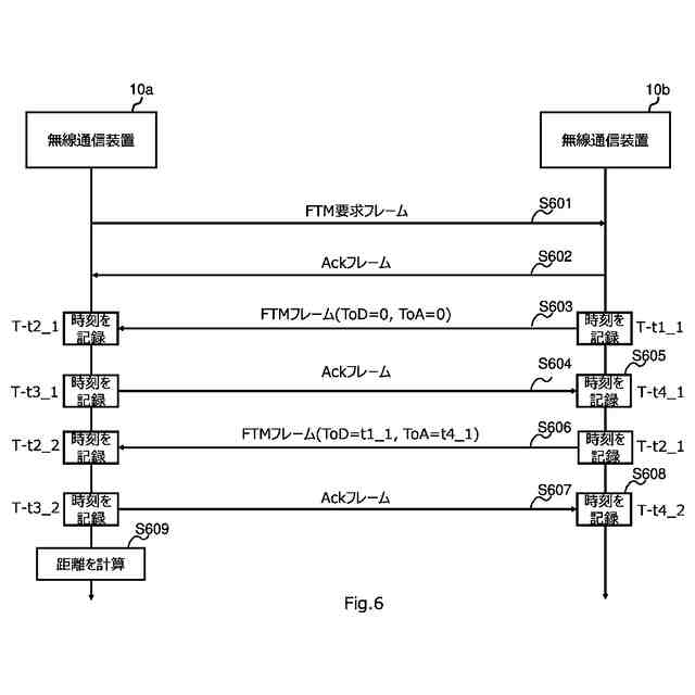
前記制御部は、前記通信部が前記第2の無線通信装置と交換した無線フレームの出発時間及び到達時間に基づいて、前記距離を測定するように更に構成されている、請求項2に記載の第1の無線通信装置。
【請求項4】
前記制御部は、前記第2の無線通信装置から受信した位置情報に基づいて、前記距離を測定するように更に構成されている、請求項2に記載の第1の無線通信装置。
【請求項5】
前記制御部は、前記第2の無線通信装置から受信した無線フレームの信号強度に基づいて、前記第1の周波数帯域及び前記第2の周波数帯域のいずれかを選択するように更に構成されている、請求項1に記載の第1の無線通信装置。
【請求項6】
前記制御部は、前記第2の無線通信装置によって示される要件に基づいて、前記第1の周波数帯域及び前記第2の周波数帯域のいずれかを選択するように更に構成されている、請求項1に記載の第1の無線通信装置。
【請求項7】
前記制御部は、前記第2の無線通信装置によって示される優先度に基づいて、前記第1の周波数帯域及び前記第2の周波数帯域のいずれかを選択するように更に構成されている、請求項1に記載の第1の無線通信装置。
【請求項8】
前記第1の周波数帯域は、2.4GHz、5GHz、又は6GHzであり、前記第2の周波数帯域は、1GHz未満である、請求項1に記載の第1の無線通信装置。
【請求項9】
前記第1の周波数帯域は、NANプロトコルにおいて規定され、前記第2の周波数帯域は、IEEE802.11ahにおいて規定されている、請求項1に記載の第1の無線通信装置。
【請求項10】
前記制御部は、前記第1の無線通信装置が、第1のモード及び第2のモードのいずれかにあるかを判定するように更に構成され、
前記第1の無線通信装置が前記第2のモードにあると判定した場合、前記通信部は、前記第2の無線通信装置に、前記第2の周波数帯域を使用して、前記第2の無線通信装置を発見するための前記無線フレームを送信するように更に構成されている、
請求項1乃至9のいずれか一項に記載の第1の無線通信装置。
(【請求項11】以降は省略されています)
発明の詳細な説明
【技術分野】
【0001】
本発明は、無線通信装置、無線通信方法、及びプログラムに関する。
続きを表示(約 1,700 文字)
【背景技術】
【0002】
「Wi-Fi」(登録商標)と称される無線通信技術が広く知られている。Wi-Fiは、無線LAN(WLAN:Wireless Local area network)の規格であるIEEE802.11を利用する。Wi-Fiは、業界団体「Wi-Fi Alliance」(登録商標)によって認証されている。
【0003】
Wi-Fi Allianceは、無線通信装置の間で情報を送受信するために、複数の無線通信装置がクラスタを形成する技術である「Wi-Fi Aware」(登録商標)を発表している。Wi-Fi Awareは、近傍範囲にある無線通信装置の間でビーコンフレームを交換して無線通信装置を発見し、無線通信装置の間で通信を確立することを繰り返すことによって、複数の無線通信装置がクラスタを形成する。
【先行技術文献】
【非特許文献】
【0004】
Wi-Fi Aware Specification Version 4.0
【発明の概要】
【発明が解決しようとする課題】
【0005】
非特許文献1は、Wi-Fi Awareの仕様を記載している。Wi-Fi Awareは、「NAN:Neighbor Awareness Networking」プロトコルによって具体化される。NANプロトコルでは、近傍範囲にある無線通信装置の間でNANビーコンフレームを交換することによって無線通信装置を発見する。
【0006】
非特許文献1に記載の技術によれば、NANビーコンフレームを交換することによって無線通信装置を発見するので、無線通信装置が位置情報を交換する必要なく、無線通信装置を発見することができる。また、NANプロトコルでは、無線通信装置を発見し、無線通信装置間で通信を確立することを繰り返すので、無線通信装置の大規模なクラスタを形成することができる。
【0007】
非特許文献1は、無線通信装置を発見するための無線フレームが到達する範囲を拡張する技術を記載していない。本発明は、無線通信装置を発見するための無線フレームが到達する範囲を拡張する技術を提供する。
【課題を解決するための手段】
【0008】
上記目的を達成するために、本発明は、第1の無線通信装置(10)を提供し、前記第1の無線通信装置は、制御部(110)及び通信部(120)を含み、複数の無線通信装置を含むクラスタに第2の無線通信装置を参加させるために、前記通信部は、前記第2の無線通信装置に、第1の周波数帯域よりも低い第2の周波数帯域を使用して、前記第2の無線通信装置を発見するための無線フレームを送信するように構成され、前記第2の無線通信装置から応答フレームを受信したことに応答して、前記制御部は、前記第1の周波数帯域及び前記第2の周波数帯域のいずれかを選択するように構成され、前記通信部は、前記第2の無線通信装置に、前記選択した周波数帯域を使用して、前記第2の無線通信装置と同期するための無線フレームを送信するように構成されている。
【0009】
また、本発明は、第1の無線通信装置(10)によって実行される方法を提供し、前記方法は、複数の無線通信装置を含むクラスタに第2の無線通信装置を参加させるために、前記第2の無線通信装置に、第1の周波数帯域よりも低い第2の周波数帯域を使用して、前記第2の無線通信装置を発見するための無線フレームを送信することと、前記第2の無線通信装置から応答フレームを受信したことに応答して、前記第1の周波数帯域及び前記第2の周波数帯域のいずれかを選択することと、前記第2の無線通信装置に、前記選択した周波数帯域を使用して、前記第2の無線通信装置と同期するための無線フレームを送信することと、を含む。
【0010】
以上の構成によれば、より広範囲に到達する無線フレームを送信するので、より広範囲で無線通信装置を発見することができ、その結果、より広範囲で無線通信装置のクラスタを形成することができる。
【図面の簡単な説明】
(【0011】以降は省略されています)
この特許をJ-PlatPat(特許庁公式サイト)で参照する
関連特許
株式会社デンソー
分離体
5日前
株式会社デンソー
電動弁
19日前
株式会社デンソー
電子装置
19日前
株式会社デンソー
光学部材
5日前
株式会社デンソー
光学部材
5日前
株式会社デンソー
電解装置
20日前
株式会社デンソー
電気回路
13日前
株式会社デンソー
電子装置
29日前
株式会社デンソー
熱交換器
18日前
株式会社デンソー
撮像装置
18日前
株式会社デンソー
撮像装置
18日前
株式会社デンソー
制御装置
21日前
株式会社デンソー
摺動機構
18日前
株式会社デンソー
摺動機構
18日前
株式会社デンソー
センサ装置
26日前
株式会社デンソー
半導体装置
20日前
株式会社デンソー
熱交換部材
20日前
株式会社デンソー
ヒータ装置
27日前
株式会社デンソー
半導体装置
5日前
株式会社デンソートリム
鞍乗り車両
27日前
株式会社デンソー
センサ装置
26日前
株式会社デンソー
半導体装置
28日前
株式会社デンソー
半導体装置
18日前
株式会社デンソーテン
車載表示装置
18日前
株式会社デンソー
電気化学セル
18日前
株式会社デンソー
電気化学セル
18日前
株式会社デンソー
圧電デバイス
26日前
株式会社デンソー
電力変換装置
1か月前
株式会社デンソー
電子制御装置
18日前
株式会社デンソー
給電システム
5日前
株式会社デンソー
電圧検出回路
1か月前
株式会社デンソー
端末及び基地局
6日前
株式会社デンソー
ガスセンサ装置
27日前
株式会社デンソー
巻線界磁ロータ
1か月前
株式会社デンソー
巻線界磁ロータ
1か月前
株式会社デンソー
電波透過カバー
18日前
続きを見る
他の特許を見る