TOP
|
特許
|
意匠
|
商標
特許ウォッチ
Twitter
他の特許を見る
10個以上の画像は省略されています。
公開番号
2025170203
公報種別
公開特許公報(A)
公開日
2025-11-18
出願番号
2024075024
出願日
2024-05-06
発明の名称
非接触型給電路の送電電極
出願人
株式会社デンソー
,
トヨタ自動車株式会社
,
株式会社ミライズテクノロジーズ
代理人
弁理士法人ゆうあい特許事務所
主分類
H02J
50/05 20160101AFI20251111BHJP(電力の発電,変換,配電)
要約
【課題】誘電正接の増大を抑制する非接触型給電路の送電電極を提供する。
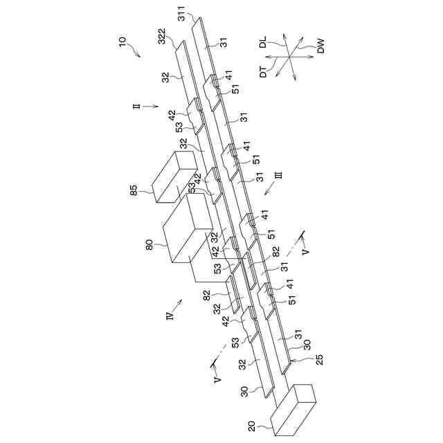
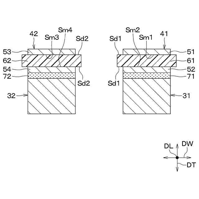
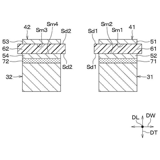
【解決手段】非接触型給電路の送電電極は、複数の第1導電部31と、互いに隣り合う第1導電部31と接続されている第1接続部41と、複数の第2導電部32と、互いに隣り合う第2導電部32と接続されている第2接続部42と、を備え、第1接続部41は、第1導電部に接続されている第1金属部51と、第1金属部に接続されている第1誘電部61と、第1金属部とで第1誘電部を挟んでいる第2金属部52と、隣の第1導電部と第2金属部とに貼り付けられている第1粘着部71と、を有し、第2接続部42は、第2導電部に接続されている第3金属部53と、第3金属部に接続されている第2誘電部62と、第3金属部とで第2誘電部を挟んでいる第4金属部54と、隣の第2導電部と第4金属部とに貼り付けられている第2粘着部72と、を有する。
【選択図】図5
特許請求の範囲
【請求項1】
送電電源(20)から移動体に備えられた受電回路(80)に非接触にて給電する非接触型給電路の送電電極であって、
一方向(DL)に間隔を空けて複数並んでいる第1導電部(31)と、
互いに隣り合う前記第1導電部と接続されている第1接続部(41)と、
前記一方向と直交する方向に前記第1導電部と間隔を空けて並んでいるとともに、前記一方向に間隔を空けて複数並んでいる第2導電部(32)と、
互いに隣り合う前記第2導電部と接続されている第2接続部(42)と、
を備え、
前記第1接続部は、
前記第1導電部に接続されている第1金属部(51)と、
前記第1金属部に接続されているとともに、電界内に置かれると誘電分極を発生させる第1誘電部(61)と、
前記第1金属部とで前記第1誘電部を挟んでいる第2金属部(52)と、
前記第1金属部と接続された前記第1導電部と隣り合う前記第1導電部と、前記第2金属部とに貼り付けられているとともに、導電性を有する第1粘着部(71)と、
を有し、
前記第2接続部は、
前記第2導電部に接続されている第3金属部(53)と、
前記第3金属部に接続されているとともに、電界内に置かれると誘電分極を発生させる第2誘電部(62)と、
前記第3金属部とで前記第2誘電部を挟んでいる第4金属部(54)と、
前記第3金属部と接続された前記第2導電部と隣り合う前記第2導電部と、前記第4金属部とに貼り付けられているとともに、導電性を有する第2粘着部(72)と、
を有する非接触型給電路の送電電極。
続きを表示(約 800 文字)
【請求項2】
前記第1導電部および前記第2導電部が並ぶ方向(DW)と前記一方向とに直交する方向を直交方向(DT)とすると、
前記第1誘電部のうち前記第1金属部と前記直交方向に対向する面の面積(Sd1)および前記第1誘電部のうち前記第2金属部と前記直交方向に対応する面の面積(Sd1)は、前記第1金属部のうち前記第1誘電部と前記直交方向に対向する面の面積(Sm1)および前記第1金属部のうち前記第2誘電部と前記直交方向に対向する面の面積(Sm2)よりも大きくなっており、
前記第2誘電部のうち前記第3金属部と前記直交方向に対向する面の面積(Sd2)および前記第2誘電部のうち前記第4金属部と前記直交方向に対応する面の面積(Sd2)は、前記第3金属部のうち前記第2誘電部と前記直交方向に対向する面の面積(Sm3)および前記第4金属部のうち前記第2誘電部と前記直交方向に対向する面の面積(Sm4)よりも大きくなっている請求項1に記載の非接触型給電路の送電電極。
【請求項3】
前記第1金属部および前記第3金属部は、前記送電電源から前記受電回路に給電されるとき、前記受電回路と接続された受電電極(82)と対向し、
前記第1接続部は、前記一方向に互いに向かい合う前記第1導電部の端部に接続されており、
前記第2接続部は、前記一方向に互いに向かい合う前記第2導電部の端部に接続されており、
前記送電電源からの電流は、
前記第1導電部を経由して前記第1接続部を流れるとき、前記第1金属部、前記第1誘電部、前記第2金属部および前記第1粘着部の順に流れ、
前記第2導電部を経由して前記第2接続部を流れるとき、前記第3金属部、前記第2誘電部、前記第4金属部および前記第2粘着部の順に流れる請求項1または2に記載の非接触型給電路の送電電極。
発明の詳細な説明
【技術分野】
【0001】
本開示は、非接触型給電路の送電電極に関するものである。
続きを表示(約 2,200 文字)
【背景技術】
【0002】
従来、特許文献1に記載されているように、路上空間を移動し、一対の電極部を有する受電回路部を備える移動体に対して給電可能に構成された非接触型給電路が知られている。この非接触型給電路は、一対の送電導体部および接続回路等を含む。また、この接続回路は、送電導体部間に接続されており、例えば、コンデンサとされている。
【先行技術文献】
【特許文献】
【0003】
特開2021-180597号公報
【発明の概要】
【発明が解決しようとする課題】
【0004】
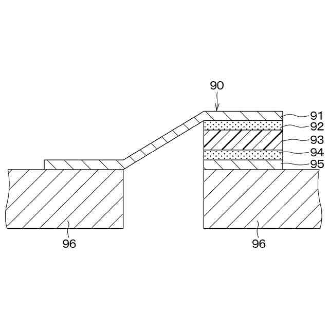
特許文献1に記載された非接触型給電路の接続回路のコンデンサとして、入手および施工等が比較的容易なテープが用いられることがある。また、このテープには、導電性粘着剤および非導電性粘着剤が含まれることがある。さらに、導電性粘着剤には、導電性を有するためにフィラーが含まれることから、導電性粘着剤の誘電正接は、比較的大きい。また、非導電性粘着剤には、誘電正接が大きいシリコンやアクリル等が含まれることから、非導電性粘着剤の誘電正接は、比較的大きい。したがって、接続回路のコンデンサとして用いられるテープの誘電正接は、大きい。接続回路のコンデンサとして用いられるテープの誘電正接が大きいと、移動体に対して給電するときの損失が大きくなるため、給電効率が低下する。
【0005】
本開示は、誘電正接の増大を抑制する非接触型給電路の送電電極を提供することを目的とする。
【課題を解決するための手段】
【0006】
請求項1に記載の発明は、送電電源(20)から移動体に備えられた受電回路(80)に非接触にて給電する非接触型給電路の送電電極であって、一方向(DL)に間隔を空けて複数並んでいる第1導電部(31)と、互いに隣り合う第1導電部と接続されている第1接続部(41)と、一方向と直交する方向に第1導電部と間隔を空けて並んでいるとともに、一方向に間隔を空けて複数並んでいる第2導電部(32)と、互いに隣り合う第2導電部と接続されている第2接続部(42)と、を備え、第1接続部は、第1導電部に接続されている第1金属部(51)と、第1金属部に接続されているとともに、電界内に置かれると誘電分極を発生させる第1誘電部(61)と、第1金属部とで第1誘電部を挟んでいる第2金属部(52)と、第1金属部と接続された第1導電部と隣り合う第1導電部と、第2金属部とに貼り付けられているとともに、導電性を有する第1粘着部(71)と、を有し、第2接続部は、第2導電部に接続されている第3金属部(53)と、第3金属部に接続されているとともに、電界内に置かれると誘電分極を発生させる第2誘電部(62)と、第3金属部とで第2誘電部を挟んでいる第4金属部(54)と、第3金属部と接続された第2導電部と隣り合う第2導電部と、第4金属部とに貼り付けられているとともに、導電性を有する第2粘着部(72)と、を有する非接触型給電路の送電電極である。
【0007】
第1誘電部は、第1金属部および第2金属部にて挟まれている。これにより、第1金属部および第2金属部の間に位置する第1誘電部のみに電界がかかるとともに、第1金属部および第2金属部の間には、誘電正接が大きい部材がない。さらに、第2誘電部は、第3金属部および第4金属部にて挟まれている。このため、第3金属部および第4金属部の間に位置する第2誘電部のみに電界がかかるとともに、第3金属部および第4金属部の間には、誘電正接が大きい部材がない。したがって、電界がかかる範囲に誘電正接が大きい部材がないことから、非接触型給電路の送電電極における誘電正接の増大が抑制される。
【0008】
なお、各構成要素等に付された括弧付きの参照符号は、その構成要素等と後述する実施形態に記載の具体的な構成要素等との対応関係の一例を示すものである。
【図面の簡単な説明】
【0009】
一実施形態の非接触型給電路の送電電極が用いられる電界結合方式非接触型給電システムの斜視図。
図1のIIから見た非接触型給電路の図。
図1および図2のIIIから見た非接触型給電路の図。
図1および図2のIVから見た非接触型給電路の図。
図1および図2のV-V線拡大断面図。
比較用テープの断面図。
一実施形態の非接触型給電路の送電電極を用いた場合の送電電源からの距離に対する給電効率を示す図。
比較例における非接触型給電路の送電電極の断面図。
時刻に対する長手方向に互いに向かい合う第1導電部の端部の電圧を示す図。
一実施形態の非接触型給電路の送電電極の断面図。
一実施形態の非接触型給電路の送電電極を用いた場合の第1接続部における給電効率を示す図。
【発明を実施するための形態】
【0010】
以下、実施形態について図面を参照しつつ説明する。なお、以下の各実施形態相互において、互いに同一もしくは均等である部分には、同一符号を付し、その説明を省略する。
(【0011】以降は省略されています)
この特許をJ-PlatPat(特許庁公式サイト)で参照する
関連特許
株式会社デンソー
電動弁
13日前
株式会社デンソー
電気回路
7日前
株式会社デンソー
撮像装置
12日前
株式会社デンソー
摺動機構
12日前
株式会社デンソー
摺動機構
12日前
株式会社デンソー
熱交換器
12日前
株式会社デンソー
電子装置
23日前
株式会社デンソー
電子装置
13日前
株式会社デンソー
電解装置
14日前
株式会社デンソー
撮像装置
12日前
株式会社デンソー
制御装置
15日前
株式会社デンソー
熱交換部材
14日前
株式会社デンソー
半導体装置
14日前
株式会社デンソー
半導体装置
22日前
株式会社デンソートリム
鞍乗り車両
21日前
株式会社デンソー
センサ装置
20日前
株式会社デンソー
センサ装置
20日前
株式会社デンソー
ヒータ装置
21日前
株式会社デンソー
半導体装置
12日前
株式会社デンソー
熱交換装置
27日前
株式会社デンソー
半導体装置
29日前
株式会社デンソーテン
車載表示装置
12日前
株式会社デンソー
電子制御装置
12日前
株式会社デンソー
圧電デバイス
20日前
株式会社デンソー
電気化学セル
12日前
株式会社デンソー
電気化学セル
12日前
株式会社デンソー
電圧検出回路
27日前
株式会社デンソー
電力変換装置
27日前
株式会社デンソー
端末及び基地局
今日
株式会社デンソーエレクトロニクス
ワイパ制御装置
15日前
株式会社デンソー
ガスセンサ装置
21日前
株式会社デンソー
部品の当接構造
28日前
株式会社デンソー
非接触受電装置
29日前
株式会社デンソー
ワーク投入装置
12日前
株式会社デンソー
電波透過カバー
12日前
株式会社デンソー
巻線界磁ロータ
20日前
続きを見る
他の特許を見る