TOP
|
特許
|
意匠
|
商標
特許ウォッチ
Twitter
他の特許を見る
10個以上の画像は省略されています。
公開番号
2025169996
公報種別
公開特許公報(A)
公開日
2025-11-14
出願番号
2025140760,2022026064
出願日
2025-08-26,2022-02-22
発明の名称
半導体装置
出願人
株式会社デンソー
代理人
個人
,
個人
主分類
H01L
21/60 20060101AFI20251107BHJP(基本的電気素子)
要約
【課題】ワイヤ流れを抑制し、体格の増大を抑制できる半導体装置を提供すること
【解決手段】封止体30は樹脂成形体であり、半導体素子40L、基板50の少なくとも一部、信号端子93Lの一部、ボンディングワイヤ110、中継基板150Lを封止している。ボンディングワイヤ110は、半導体素子40Lのパッド40Pと中継基板150Lのランド152aとを電気的に接続している。基板50の表面金属体52のうち、配線部である中継配線55に半導体素子40Lが配置され、配線部とは電気的分離されたアイランド58Lに中継基板150Lが配置されている。
【選択図】図125
特許請求の範囲
【請求項1】
絶縁基材(51)と、前記絶縁基材の表面に配置された表面金属体(52)と、前記絶縁基材において前記表面とは反対の面に配置された裏面金属体(53)と、を有する配線部材(50)と、
一面に設けられ、前記表面金属体に電気的に接続された第1主電極(40D)と、前記一面とは板厚方向において反対の裏面に設けられた第2主電極(40S)と、前記裏面において前記第2主電極とは異なる位置に設けられた信号用の複数のパッド(40P)と、を有し、前記配線部材に配置された半導体素子(40)と、
複数の信号端子(93)と、
前記配線部材に配置され、前記配線部材との対向面とは反対の面に設けられた複数の表面ランド(152a)を有し、前記半導体素子と前記信号端子との通電経路の中間に位置する中継基板(150)と、
前記パッドと対応する前記表面ランドとを電気的に接続するボンディングワイヤ(110)と、
樹脂成形体であり、前記半導体素子、前記配線部材の少なくとも一部、前記信号端子の一部、前記中継基板、および前記ボンディングワイヤを封止する封止体(30)と、を備え、
前記表面金属体は、前記半導体素子が配置され、前記第1主電極が電気的に接続された配線部(54、55)と、前記中継基板が配置され、前記配線部とは電気的に分離されたアイランド部(58)と、を有し、
前記中継基板は、複数の前記表面ランドと、前記アイランド部との対向面に設けられ、前記アイランド部に電気的に接続された裏面ランド(152e)と、複数の前記表面ランドのうちの一部と前記裏面ランドとを電気的に接続する接続部(152c、152d、152f)と、を有し、
前記アイランド部は、前記裏面ランド、前記接続部、前記表面ランドの一部を介して所定電位に固定される、半導体装置。
続きを表示(約 1,900 文字)
【請求項2】
前記半導体素子を複数備え、
複数の前記半導体素子は、共通の前記配線部に配置されて互いに電気的に並列接続されており、
複数の前記半導体素子のそれぞれの前記パッドは、共通の前記中継基板における前記表面ランドに電気的に接続されている、請求項1に記載の半導体装置。
【請求項3】
複数の前記半導体素子は、前記板厚方向に直交する第1方向に並んでおり、
前記中継基板は、前記板厚方向および前記第1方向に直交する第2方向において、前記半導体素子と並ぶように配置され、
各半導体素子において、複数の前記パッドは、前記中継基板側の辺に沿って前記第1方向に並んで設けられ、
複数の前記表面ランドは、複数の前記半導体素子の前記パッドに一対一で対応するように設けられ、
複数の前記表面ランドにおける前記ボンディングワイヤの接続位置が、前記第1方向において対応する前記パッドに近いほど、前記第2方向において対応する前記パッドから離れた位置とされている、請求項2に記載の半導体装置。
【請求項4】
複数の前記表面ランドは、前記板厚方向の平面視において前記第2方向を長手とする形状をそれぞれ有するとともに前記第1方向に沿って一列で並んでおり、
複数の前記表面ランドにおける前記ボンディングワイヤの接続位置が、前記第1方向において対応する前記パッドに近いほど、前記第2方向において対応する前記パッドから離れた位置とされている、請求項3に記載の半導体装置。
【請求項5】
複数の前記表面ランドは、前記第1方向において対応する前記パッドに近いほど、前記第2方向において対応する前記パッドから離れた位置に設けられている、請求項3に記載の半導体装置。
【請求項6】
複数の前記半導体素子は、前記板厚方向に直交する第1方向に並んでおり、
複数の前記パッドは、隣り合う前記半導体素子において互いの対向辺に沿い、前記板厚方向および前記第1方向に直交する第2方向に並んで設けられ、
前記中継基板は、複数の前記表面ランドであり、複数の前記半導体素子の前記パッドに一対一で対応するように設けられた複数の第1ランドと、前記配線部材との対向面とは反対の面において前記第1ランドとは別に設けられ、対応する前記第1ランドと電気的に接続された複数の第2ランド(152b)と、前記第2方向において前記半導体素子と並ぶように配置され、前記第2ランドが設けられた基部(151h)と、前記基部から前記第2方向に延びて隣り合う前記半導体素子の間に配置され、前記第1ランドが設けられた延設部(151i)と、を有し、
前記信号端子は、前記第2ランドに電気的に接続されている、請求項2に記載の半導体装置。
【請求項7】
複数の前記半導体素子と共通の前記中継基板とにおいて、複数の前記ボンディングワイヤの長さが互いに等しい、請求項4~6いずれか1項に記載の半導体装置。
【請求項8】
複数の前記半導体素子は、前記板厚方向に直交する第1方向に並んでおり、
前記中継基板は、前記板厚方向および前記第1方向に直交する第2方向において、前記半導体素子と並ぶように配置され、
各半導体素子において、複数の前記パッドは、前記中継基板側の辺に沿って前記第1方向に並んで設けられ、
前記中継基板は、複数の前記半導体素子が有する前記パッドの種類と同数である複数の前記表面ランドを有し、
複数の前記表面ランドのそれぞれは前記第1方向に延設され、複数の前記表面ランドが前記第2方向に並んでおり、
複数の前記半導体素子において同じ種類の前記パッドは、それぞれ前記ボンディングワイヤを介して、共通の前記表面ランドに接続されている、請求項2に記載の半導体装置。
【請求項9】
前記中継基板は、接合材(154)を介して前記アイランド部に接続され、
前記裏面ランドは、スリット(152s)を有する、請求項1~8いずれか1項に記載の半導体装置。
【請求項10】
前記半導体素子と前記中継基板とを電気的に接続する前記ボンディングワイヤである第1ボンディングワイヤとは別に、前記中継基板と前記信号端子とを電気的に接続し、前記封止体に封止された第2ボンディングワイヤ(114)を備え、
前記第2ボンディングワイヤは、前記第1ボンディングワイヤよりも太い、請求項1~9いずれか1項に記載の半導体装置。
発明の詳細な説明
【技術分野】
【0001】
この明細書における開示は、半導体装置に関する。
続きを表示(約 4,800 文字)
【背景技術】
【0002】
特許文献1は、半導体装置を開示している。この半導体装置は、絶縁基板(配線部材)、両面に主電極を有する半導体素子、制御用端子(信号端子)、封止樹脂(封止体)を備える。半導体素子は絶縁基板に配置され、主電極のひとつが絶縁基板の金属箔(金属体)に電気的に接続されている。半導体素子の制御用電極(パッド)は、金属ワイヤ(ボンディングワイヤ)を介して信号端子に接続されている。封止体は、絶縁基板の一部、半導体素子、制御用端子の一部、および金属ワイヤを封止している。先行技術文献の記載内容は、この明細書における技術的要素の説明として、参照により援用される。
【先行技術文献】
【特許文献】
【0003】
特開2014-60410号公報
【発明の概要】
【発明が解決しようとする課題】
【0004】
特許文献1に開示された半導体装置のひとつは、金属ワイヤにより、制御用電極と制御用端子とを電気的に接続している。このような構成では、金属ワイヤが長くなり、封止樹脂の成形時にワイヤ流れが生じる虞がある。開示された半導体装置の他のひとつは、絶縁基板において半導体素子側の金属箔を、主電極が接続される金属箔と、制御用端子が接続される金属箔とに分けている。そして、金属ワイヤおよび金属箔を介して、制御用端子と制御用電極とを電気的に接続している。このように、絶縁基板の導体の一部として、金属ワイヤおよび制御用端子が接続される金属箔、所謂ランドを設ける場合、導体が厚いためにランドサイズが大きくなる。サイズの大きいランドを複数設ける必要があるため、半導体装置の体格が増大してしまう。上記した観点において、または言及されていない他の観点において、半導体装置にはさらなる改良が求められている。
【0005】
開示されるひとつの目的は、ワイヤ流れを抑制し、体格の増大を抑制できる半導体装置を提供することにある。
【課題を解決するための手段】
【0006】
ここに開示された半導体装置は、
絶縁基材(51)と、絶縁基材の表面に配置された表面金属体(52)と、絶縁基材において表面とは反対の面に配置された裏面金属体(53)と、を有する配線部材(50)と、
一面に設けられ、表面金属体に電気的に接続された第1主電極(40D)と、一面とは板厚方向において反対の裏面に設けられた第2主電極(40S)と、裏面において第2主電極とは異なる位置に設けられた信号用の複数のパッド(40P)と、を有し、配線部材に配置された半導体素子(40)と、
複数の信号端子(93)と、
配線部材に配置され、配線部材との対向面とは反対の面に設けられた複数の表面ランド(152a)を有し、半導体素子と信号端子との通電経路の中間に位置する中継基板(150)と、
パッドと対応する表面ランドとを電気的に接続するボンディングワイヤ(110)と、
樹脂成形体であり、半導体素子、配線部材の少なくとも一部、信号端子の一部、中継基板、およびボンディングワイヤを封止する封止体(30)と、を備え、
表面金属体は、半導体素子が配置され、第1主電極が電気的に接続された配線部(54、55)と、中継基板が配置され、配線部とは電気的に分離されたアイランド部(58)と、を有し、
中継基板は、複数の表面ランドと、アイランド部との対向面に設けられ、アイランド部に電気的に接続された裏面ランド(152e)と、複数の表面ランドのうちの一部と裏面ランドとを電気的に接続する接続部(152c、152d、152f)と、を有し、
アイランド部は、裏面ランド、接続部、表面ランドの一部を介して所定電位に固定される。
【0007】
開示された半導体装置によれば、半導体素子のパッドと信号端子とを中継基板を介して電気的に接続している。ボンディングワイヤは、パッドと中継基板の表面ランドとを電気的に接続している。これにより、ボンディングワイヤの長さを短くし、ひいては封止体の成形時におけるワイヤ流れを抑制することができる。また、中継基板の表面ランドは、所謂プリント基板の微細配線技術を用いて形成される。よって、中継基板に代えて、表面金属体の一部として複数の中継用ランドを設ける構成に較べて、体格の増大を抑制することができる。この結果、ワイヤ流れを抑制し、体格の増大を抑制することができる。
【0008】
さらに、中継基板は、配線部とは電気的に分離されたアイランド部に配置される。これにより、絶縁信頼性を向上することもできる。
【0009】
この明細書における開示された複数の態様は、それぞれの目的を達成するために、互いに異なる技術的手段を採用する。請求の範囲およびこの項に記載した括弧内の符号は、後述する実施形態の部分との対応関係を例示的に示すものであって、技術的範囲を限定することを意図するものではない。この明細書に開示される目的、特徴、および効果は、後続の詳細な説明、および添付の図面を参照することによってより明確になる。
【図面の簡単な説明】
【0010】
第1実施形態に係る半導体装置が適用される電力変換装置の回路構成を示す図である。
半導体装置を示す斜視図である。
半導体装置を示す斜視図である。
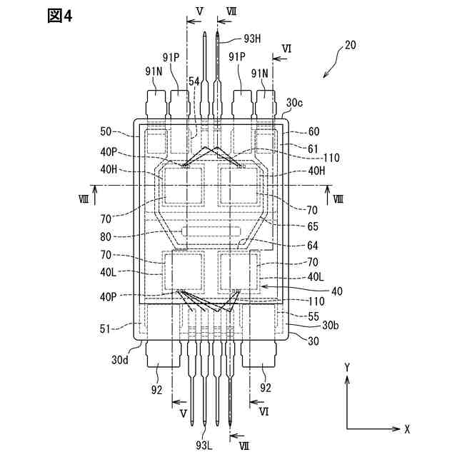
半導体装置を示す平面図である。
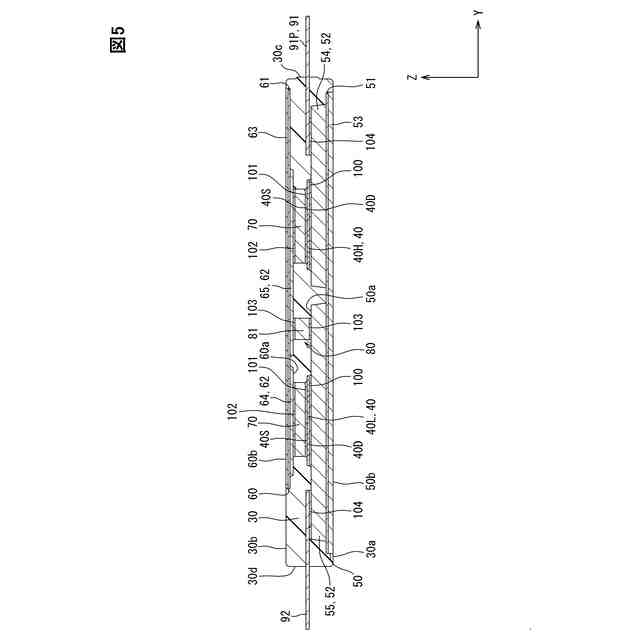
図4のV-V線に沿う断面図である。
図4のVI-VI線に沿う断面図である。
図4のVII-VII線に沿う断面図である。
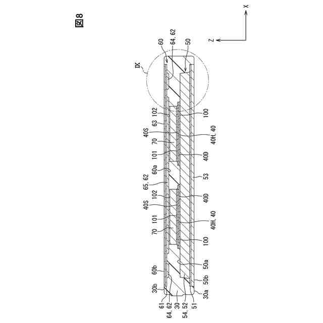
図4のVIII-VIII線に沿う断面図である。
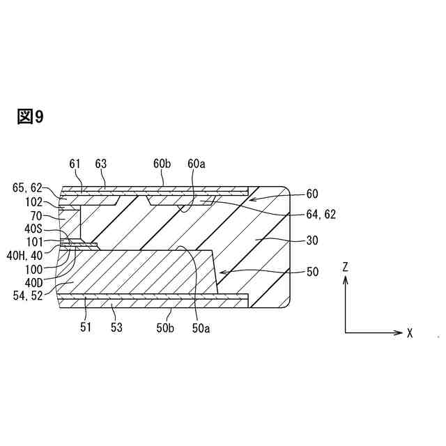
図8に示す領域IXを拡大した図である。
半導体装置を説明するための分解斜視図である。
ドレイン電極側の基板に半導体素子が実装された状態を示す平面図である。
ドレイン電極側の基板の回路パターンを示す平面図である。
ソース電極側の基板の回路パターンを示す平面図である。
ドレイン電極側の回路パターン、半導体素子、および端子の配置を示す図である。
ソース電極側の回路パターン、半導体素子、および端子の配置を示す図である。
参考例の電流ループを示す平面図である。
電流ループを示す平面図である。
電流ループを示す側面図である。
参考例について電流密度を示す図である。
本実施形態について電流密度を示す図である。
変形例を示す平面図である。
変形例を示す平面図である。
変形例において、ドレイン電極側の基板の回路パターンを示す平面図である。
変形例において、ソース電極側の基板の回路パターンを示す平面図である。
第2実施形態に係る半導体装置を示す断面図である。
インダクタンスLsの効果を説明するための図である。
インダクタンスLsの効果を説明するための図である。
ソース電極側の基板の回路パターンを示す平面図である。
電流経路を示す図である。
アーム接続部を示す断面図である。
ソース電極側の基板の変形例を示す平面図である。
ドレイン電極側の基板に半導体素子が実装された状態を示す平面図である。
電流経路を示す図である。
ドレイン電極側の基板の変形例を示す平面図である
電流経路を示す図である。
アーム接続部の変形例を示す断面図である。
アーム接続部の変形例を示す断面図である。
変形例において、ソース電極側の基板の回路パターンを示す平面図である。
高温時の反りを示す断面図である。
第3実施形態に係る半導体装置を示す断面図である。
室温時の半導体装置を示す断面図である。
高温時の半導体装置を示す断面図である。
厚みT1、T2の比と反り量との関係を示す図である。
変形例を示す断面図である。
変形例を示す断面図である。
第4実施形態に係る半導体装置において、信号端子周辺を拡大した平面図である。
図46のXLVII-XLVII線に沿う断面図である。
ワイヤボンディングを説明する図である。
変形例を示す断面図である。
変形例を示す断面図である。
変形例を示す断面図である。
変形例を示す断面図である。
変形例を示す平面図である。
中継基板を示す断面図である。
図53のLV-LV線に沿う断面図である。
変形例を示す断面図である。
第5実施形態に係る半導体装置を示す断面図である。
図57に示すLVIII方向から見た平面図である。
図57に示す領域LVIXを拡大した図である。
図59に対して、接合材を省略した図である。
変形例を示す平面図である。
図61に示すLXII方向から見た平面図である。
変形例を示す平面図である。
変形例を示す断面図である。
図64に示す領域LXVを拡大した図である。
変形例を示す断面図である。
図66に示す領域LXVIIを拡大した図である。
変形例を示す断面図である。
第6実施形態に係る半導体装置を示す断面図である。
封止体および絶縁基材について、ガラス転移点および線膨張係数の関係を示す図である。
参考例の反りを示す図である。
高温時の反りを示す図である。
第7実施形態に係る半導体装置を示す断面図である。
図73の領域LXXIVを拡大した図である。
粗化部の形成方法を示す図である。
変形例を示す断面図である。
変形例を示す断面図である。
変形例を示す断面図である。
第8実施形態に係る半導体装置を示す断面図である。
図79の領域LXXXを拡大した図である。
間隔、厚みとインダクタンスとの関係を示す図である。
間隔<厚みの場合のシミュレーション結果を示す図である。
間隔>厚みの場合のシミュレーション結果を示す図である。
第9実施形態に係る半導体装置を示す断面図である。
基板中心を示す平面図である。
図84の領域LXXXVIを拡大した図である。
寸法および角度を示す図である。
積層体の側面図である。
第10実施形態に係る半導体装置を示す断面図である。
半導体素子を示す平面図である。
図89の領域XCIを拡大した図である。
焼結部材の配置を示す断面図である。
接合方法を示す断面図である。
保護膜の内周面と焼結部材との距離と下地電極の歪振幅との関係を示す図である。
接合材であるはんだの配置を示す断面図である。
第11実施形態に係る半導体装置を示す断面図である。
図96の領域XCVIIを拡大した図である。
半導体素子、焼結部材、凹凸酸化膜の配置を示す平面図である。
図97の領域XCIXを拡大した図である。
変形例を示す断面図である。
【発明を実施するための形態】
(【0011】以降は省略されています)
この特許をJ-PlatPat(特許庁公式サイト)で参照する
関連特許
株式会社デンソー
電動機
11日前
株式会社デンソー
端子台
13日前
株式会社デンソー
ロータ
6日前
株式会社デンソー
ロータ
6日前
株式会社デンソー
整流回路
4日前
株式会社デンソー
トランス
11日前
株式会社デンソー
回転電機
4日前
株式会社デンソー
光学部材
11日前
株式会社デンソー
電子装置
11日前
株式会社デンソー
半導体装置
19日前
株式会社デンソー
音低減装置
4日前
株式会社デンソー
電磁継電器
11日前
株式会社デンソーエレクトロニクス
電磁継電器
5日前
株式会社デンソー
レーダ装置
5日前
株式会社デンソー
形状検査方法
13日前
株式会社デンソー
電気化学セル
12日前
株式会社デンソー
表面加工方法
12日前
株式会社デンソー
燃料噴射装置
12日前
株式会社デンソー
電力変換装置
11日前
株式会社デンソー
電子制御装置
11日前
株式会社デンソー
衝突判定装置
今日
株式会社デンソー
電子制御装置
4日前
株式会社デンソー
電磁弁駆動装置
11日前
株式会社デンソー
セル制御システム
4日前
株式会社デンソーウェーブ
投入品管理用装置
4日前
株式会社デンソー
運転評価支援装置
11日前
株式会社デンソー
電気化学反応装置
13日前
株式会社デンソー
冷凍サイクル装置
4日前
株式会社デンソー
ダクトおよび電池装置
13日前
株式会社デンソー
ロータ及びコンプレッサ
6日前
株式会社デンソー
車両制御装置、車両制御方法
4日前
株式会社デンソー
電圧検出回路の異常検出装置
11日前
株式会社デンソー
MOSトランジスタの製造方法
13日前
株式会社デンソー
スイッチトキャパシタ電源回路
11日前
トヨタ自動車株式会社
判定装置
19日前
株式会社デンソー
車両制御方法、車両制御システム
11日前
続きを見る
他の特許を見る