TOP
|
特許
|
意匠
|
商標
特許ウォッチ
Twitter
他の特許を見る
10個以上の画像は省略されています。
公開番号
2025170140
公報種別
公開特許公報(A)
公開日
2025-11-14
出願番号
2025153173,2021154356
出願日
2025-09-16,2021-09-22
発明の名称
変換回路
出願人
株式会社デンソー
代理人
弁理士法人サトー
主分類
H03M
1/60 20060101AFI20251107BHJP(基本電子回路)
要約
【課題】ラッチ回路のレイアウト占有面積を縮小化できるようにした変換回路を提供する。
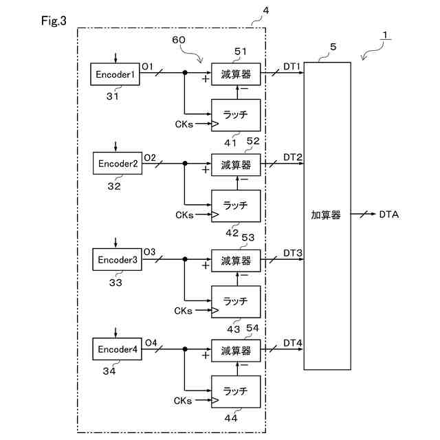
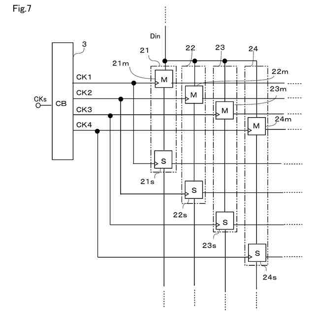
【解決手段】A/D変換回路1は、パルス信号を反転遅延して出力する遅延ユニットDUを複数個直列に接続してなるパルス遅延回路2を用いて、アナログ入力信号Vinを数値データに変換する。マスタラッチ回路21m…24mは、パルス遅延回路2から出力される遅延パルス群の出力P1、P2、P3、…、Pnの状態を互いに異なるクロックCK1…CK4により保持する。スレーブラッチ回路21s…24sは、マスタラッチ回路21m…24mの出力をクロックCK1により保持する。
【選択図】図1
特許請求の範囲
【請求項1】
パルス信号を遅延出力する複数の遅延ユニット(DU)を直列接続して構成され、前記複数の遅延ユニットから遅延パルス群を出力するパルス遅延回路(2)を用いて電圧(Vin)を数値データ(DTA)に変換する変換回路であって、
前記パルス遅延回路から出力される前記遅延パルス群の出力(P1、P2、P3、…、Pn)の状態を互いに異なる第1クロック(CK1…CK4)により保持するマスタラッチ回路(21m…24m)、及び、前記マスタラッチ回路の出力を第2クロック(CK1)により保持するスレーブラッチ回路(21s…24s)、をそれぞれ備える複数のラッチ回路(21、22、23、24)と、
複数の前記スレーブラッチ回路の後段にエンコーダを備え、前記複数のスレーブラッチ回路の出力データに基づいて前記数値データに変換する変換部(60;360)と、を備え、
前記複数のうち少なくとも2つ以上の前記スレーブラッチ回路は、前記第1クロックに基づく前記第2クロックを共通入力して前記出力データを保持し、
前記複数のラッチ回路は、前記マスタラッチ回路の後段に前記スレーブラッチ回路が直ぐに縦続接続されている変換回路。
続きを表示(約 500 文字)
【請求項2】
前記マスタラッチ回路は、帰還回路を備えて出力を保持するスタティック型に構成されると共に、前記スレーブラッチ回路は、前記帰還回路を備えることなく前記出力データを保持するダイナミック型に構成されている請求項1記載の変換回路。
【請求項3】
前記パルス遅延回路は、リング状に前記複数の遅延ユニットを配置したリングディレイラインにより構成されている請求項1又は2に記載の変換回路。
【請求項4】
前記パルス遅延回路は、非リング状に前記複数の遅延ユニットを配置したオープンディレイラインにより構成されている請求項1又は2に記載の変換回路。
【請求項5】
前記第2クロックは、前記複数のラッチ回路を構成する全ての前記スレーブラッチ回路に共通入力して供給される請求項1から4の何れか一項に記載の変換回路。
【請求項6】
前記エンコーダが前記出力データを読込むクロックとして、前記第1クロック(CK1、CK2、…、CKm)又は前記第2クロック(CK1)の元となるマスタクロック(CKs)を用いる請求項1から5の何れか一項に記載の変換回路。
発明の詳細な説明
【技術分野】
【0001】
本開示は、パルス信号を遅延して出力するパルス遅延ユニットを複数個接続してなるパルス遅延回路を用いて、アナログ入力信号を数値データに変換する変換回路に関する。
続きを表示(約 1,500 文字)
【背景技術】
【0002】
従来、A/D変換回路は、その構成を簡単化しながら高分解能のデジタル値、数値データを取得できるように開発が進められている(例えば、特許文献1参照)。特許文献1記載のA/D変換装置は、各種ゲート回路からなる遅延ユニットを複数個従属接続してなるパルス遅延回路を構成し、この遅延ユニットに電源電圧としてA/D変換対象となるアナログ入力信号を供給しており、これにより時間領域処理型のA/D変換回路として構成している。
【0003】
この特許文献1にて採用しているA/D変換方式では、リング状に遅延ユニットを配置したパルス遅延回路がパルス信号を伝送しているが、このときパルス信号は各遅延ユニットの電源電圧に依存するパルス信号遅延時間に対応した速度にて伝搬する。そして、パルス信号が所定のサンプリング時間内に通過した遅延ユニットの個数をカウントすることでアナログ入力信号を数値データに変換している。この特許文献1記載のA/D変換回路は、クロックエッジシフト(CKES)型TAD(Time-A/D converter)方式のA/D変換回路と称されCKES-TADと略されることもある。
【先行技術文献】
【特許文献】
【0004】
特開2004-007385号公報
【発明の概要】
【発明が解決しようとする課題】
【0005】
特許文献1記載のA/D変換回路は、複数のm個(例えば4個)のサンプリングクロックで動作する複数のラッチ回路をパルス位置読込み保持部として備え、それぞれパルス位置を数値化するエンコーダのアドレスを制御する構成である。
【0006】
このA/D変換回路は、複数個のサンプリングクロックによりそれぞれ独立して動作するマスタスレーブ型のDフリップフロップをラッチ回路として用いているが、それぞれ独立した個別のクロック信号で動作している。そのため、クロック配線数が多くなり、ラッチ回路のレイアウト占有面積が増してしまう。その結果、ICチップを占有する回路面積が大きくなる。
【0007】
すなわち、ラッチ回路のレイアウト占有面積が大きいことで、遅延パルス群の読取り配線が長くなり、それに起因する寄生容量、寄生抵抗による寄生成分が大きくなる。その結果、ラッチ入力信号の立上り時間が増大して、遅延パルス出力波形が鈍ることになり、ラッチ回路が不安定動作する。CMOSプロセス製造技術の微細化によりA/D変換回路の性能向上効果が阻害されることがある。
【0008】
本発明の目的は、ラッチ回路のレイアウト占有面積を縮小化できるようにした変換回路を提供することにある。
【課題を解決するための手段】
【0009】
請求項1記載の発明は、パルス信号を遅延出力する複数の遅延ユニットを直列接続して構成され遅延ユニットから遅延パルス群を出力するパルス遅延回路を用いてアナログ入力信号を数値データに変換する変換回路である。
【0010】
複数のラッチ回路は、マスタラッチ回路及びスレーブラッチ回路をそれぞれ備える。
マスタラッチ回路は、パルス遅延回路から出力される遅延パルス群の出力の状態を互いに異なる第1クロックにより保持する。スレーブラッチ回路は、マスタラッチ回路の出力を第2クロックにより保持する。変換部は、複数のスレーブラッチ回路の出力データに基づいて数値データに変換する。
(【0011】以降は省略されています)
この特許をJ-PlatPat(特許庁公式サイト)で参照する
関連特許
株式会社デンソーウェーブ
筐体
1か月前
株式会社デンソー
回転機
1か月前
株式会社デンソー
車載器
1か月前
株式会社デンソー
電動弁
13日前
株式会社デンソー
電子装置
23日前
株式会社デンソー
摺動機構
12日前
株式会社デンソー
摺動機構
12日前
株式会社デンソー
熱交換器
12日前
株式会社デンソー
電子装置
13日前
株式会社デンソー
電解装置
14日前
株式会社デンソー
制御装置
15日前
株式会社デンソー
電子装置
1か月前
株式会社デンソー
検出装置
1か月前
株式会社デンソー
撮像装置
12日前
株式会社デンソー
反力装置
1か月前
株式会社デンソーエレクトロニクス
発音装置
1か月前
株式会社デンソー
電子装置
1か月前
株式会社デンソー
電子装置
1か月前
株式会社デンソー
ステータ
1か月前
株式会社デンソー
ステータ
1か月前
株式会社デンソー
撮像装置
12日前
株式会社デンソー
ねじ部材
1か月前
株式会社デンソー
電気回路
7日前
株式会社デンソー
半導体装置
12日前
株式会社デンソー
レーダ装置
1か月前
株式会社デンソー
電流センサ
1か月前
株式会社デンソーテン
インバータ
1か月前
株式会社デンソー
半導体装置
29日前
株式会社デンソー
熱交換装置
27日前
株式会社デンソー
レーダ装置
1か月前
株式会社デンソートリム
鞍乗り車両
21日前
株式会社デンソー
農業用装置
1か月前
株式会社デンソー
ヒータ装置
21日前
株式会社デンソー
センサ装置
20日前
株式会社デンソー
センサ装置
20日前
株式会社デンソー
半導体装置
14日前
続きを見る
他の特許を見る