TOP
|
特許
|
意匠
|
商標
特許ウォッチ
Twitter
他の特許を見る
公開番号
2025172114
公報種別
公開特許公報(A)
公開日
2025-11-20
出願番号
2025144535,2023564815
出願日
2025-09-01,2022-10-28
発明の名称
分析方法
出願人
株式会社デンソー
代理人
名古屋国際弁理士法人
主分類
C12Q
1/6811 20180101AFI20251113BHJP(生化学;ビール;酒精;ぶどう酒;酢;微生物学;酵素学;突然変異または遺伝子工学)
要約
【課題】試料に含まれる複数の種類の目的物質をそれぞれ検出することができる分析方法を提供すること。
【解決手段】分析方法では、目的物質(7A、7B、7C)と結合する活性を有する第1の結合物質(3A、3B、3C)、及び、標識物(5A、5B、5C)を備える融合体(1A、1B、1C)と、試料とを混合して混合物(21)を生成する。土台(12)に固定された第2の結合物質(19、19A、19B、19C)と、混合物とを接触させる。第2の結合物質と結合している目的物質に結合している融合体が生じる現象を検出する。第1の結合物質は、核酸から成る物質、又はアミノ酸から成る物質である。土台は複数の領域(17A、17B、17C)のそれぞれに設けられている。第2の結合物質が結合する目的物質は、領域ごとに異なる。
【選択図】図1
特許請求の範囲
【請求項1】
目的物質(7A、7B、7C)と結合する活性を有する第1の結合物質(3A、3B、3C)、及び、標識物(5A、5B、5C)を備える融合体(1A、1B、1C)と、前記目的物質を含む試料とを混合して混合物(21)を生成し、
土台に固定されており、前記目的物質と結合する活性を有する第2の結合物質(19、19A、19B、19C)と、前記混合物とを接触させ、
前記第2の結合物質に結合していない前記目的物質、及び、前記第2の結合物質と結合している前記目的物質に結合していない前記融合体を除去し、
前記第2の結合物質と結合している前記目的物質に結合している前記融合体が備える前記標識物が生じる現象を検出する前記目的物質の分析方法であって、
前記第1の結合物質は、核酸から成る物質、又はアミノ酸から成る物質であり、
前記土台は複数の領域(17A、17B、17C)のそれぞれに設けられ、
前記第2の結合物質が結合する前記目的物質は、前記領域ごとに異なり、
前記領域は、容器(11)の内面により構成され、
前記土台は、前記容器の内面、又は、粒状物(13)の表面であり、
複数の前記領域は、隔壁により区切られており、
前記隔壁の先端は、前記容器の外壁の先端よりも、前記容器の底面側に位置している、
分析方法。
続きを表示(約 900 文字)
【請求項2】
請求項1に記載の分析方法であって、
前記第1の結合物質は、核酸アプタマー、又は低分子タンパク質製剤である、
分析方法。
【請求項3】
請求項1又は2に記載の分析方法であって、
前記第2の結合物質は、タンパク質、糖、核酸、低分子化合物、又は脂質である、
分析方法。
【請求項4】
請求項1又は2に記載の分析方法であって、
前記目的物質の少なくとも一部は、タンパク質、糖、核酸、低分子化合物、又は脂質である、
分析方法。
【請求項5】
請求項1又は2に記載の分析方法であって、
前記標識物は、酵素、DNAザイム、RNAザイム、磁気標識、蛍光標識、化学発光プローブ、及びナノ粒子のうちの少なくとも1つを有する、
分析方法。
【請求項6】
請求項5に記載の分析方法であって、
前記現象は、水素イオン、カリウムイオン、ナトリウムイオン、カルシウムイオン、リチウムイオン、アンモニウムイオン、又は塩化物イオンの生産、消費、又は吸収、若しくは、発色、蛍光、発光、燐光、吸熱、発熱、酸化還元、又は沈殿である、
分析方法。
【請求項7】
請求項1又は2に記載の分析方法であって、
前記現象が水素イオン、カリウムイオン、ナトリウムイオン、カルシウムイオン、リチウムイオン、アンモニウムイオン、又は塩化物イオンの生産、消費、又は吸収である場合、pH計測機、又はイオン感応性電界効果トランジスタを用いて前記現象を検出し、
前記現象が発色、発光、蛍光、又は燐光である場合、受光デバイスを用いて前記現象を検出し、
前記現象が吸熱、又は発熱である場合、熱分析機を用いて前記現象を検出し、
前記現象が酸化還元である場合、電位計測機、又はイオン感応性電界効果トランジスタを用いて前記現象を検出し、
前記現象が沈殿である場合、質量分析機、吸光光度計、又は分光光度計を用いて前記現象を検出する、
分析方法。
発明の詳細な説明
【技術分野】
【0001】
本開示は分析方法に関する。
続きを表示(約 1,500 文字)
【背景技術】
【0002】
特許文献1に、融合体を用いた目的物質の分析方法が開示されている。融合体は、結合物質及び標識物を備える。結合物質は、目的物質と結合する活性を有する。標識物は、観測可能な現象を生じる。
【0003】
目的物質の分析方法では、目的物質を含む試料と、融合体とを混合する。次に、目的物質と結合していない融合体を除去する。次に、目的物質と結合した融合体が生じる現象を検出する。
【先行技術文献】
【特許文献】
【0004】
特開2019-33750号公報
【発明の概要】
【0005】
発明者の詳細な検討の結果、以下の課題が見出された。試料に複数の種類の目的物質が含まれることがある。この場合、複数の種類の目的物質をそれぞれ検出する必要がある。
【0006】
本開示の1つの局面では、試料に含まれる複数の種類の目的物質をそれぞれ検出することができる分析方法を提供することが好ましい。
【0007】
本開示の1つの局面は、目的物質の分析方法である。分析方法では、前記目的物質と結合する活性を有する第1の結合物質、及び、標識物を備える融合体と、前記目的物質を含む試料とを混合して混合物を生成する。土台に固定されており、前記目的物質と結合する活性を有する第2の結合物質と、前記混合物とを接触させる。前記第2の結合物質に結合していない前記目的物質、及び、前記第2の結合物質と結合している前記目的物質に結合していない前記融合体を除去する。前記第2の結合物質と結合している前記目的物質に結合している前記融合体が備える前記標識物が生じる現象を検出する。前記第1の結合物質は、核酸から成る物質、又はアミノ酸から成る物質である。前記土台は複数の領域のそれぞれに設けられている。前記第2の結合物質が結合する前記目的物質は、前記領域ごとに異なる。
【0008】
本開示の1つの局面である分析方法によれば、試料に含まれる複数の目的物質をそれぞれ検出することができる。
【図面の簡単な説明】
【0009】
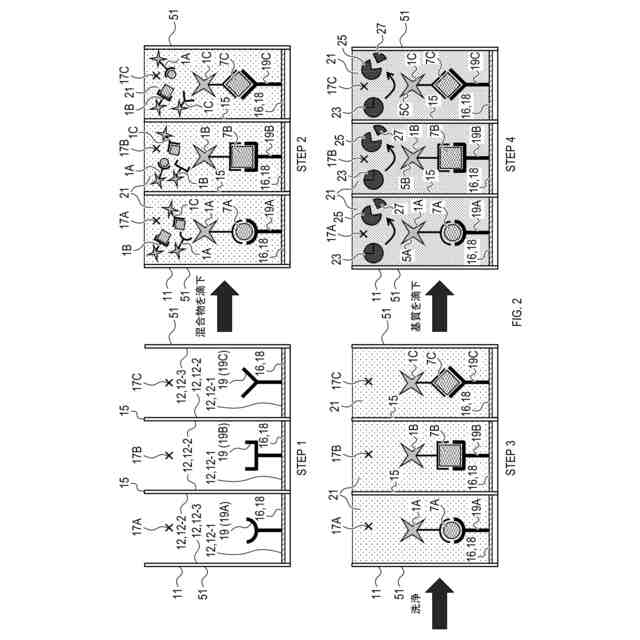
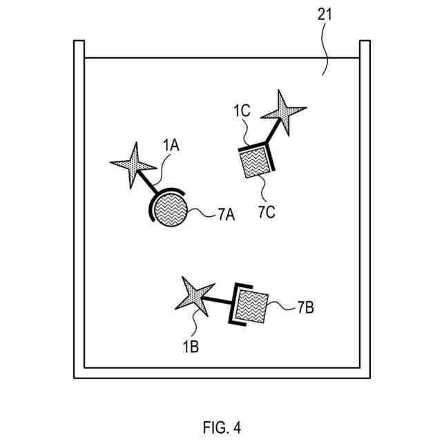
複数の種類の融合体の構成、及び、融合体と目的物質との結合を表す説明図である。
分析方法の工程を表す説明図である。
粒状物に固定された第2の結合物質の構成を表す説明図である。
3種類の融合体と試料とを混合して得られた混合物を表す説明図である。
融合体の合成方法を表すフローチャートである。
第2の結合物質をプレートへ結合する方法を表すフローチャートである。
アビジンプレートの構成を表す説明図である。
目的物質の分析方法を表すフローチャートである。
融合体と目的物質とを含む混合物において、2種類の結合体が形成されている状態を表す説明図である。
融合体と目的物質とを含む混合物において、1種類の結合体が形成されている状態を表す説明図である。
融合体と目的物質とを含む混合物において、1種類の結合体が形成されている状態を表す説明図である。
各ウェルにおける結合体の状態を表す説明図である。
pNPPを基質とする代謝を表す説明図である。
吸光度の測定結果を表す説明図である。
別形態の分析方法の工程を表す説明図である。
【発明を実施するための形態】
【0010】
本開示の例示的な実施形態について図面を参照しながら説明する。
(【0011】以降は省略されています)
この特許をJ-PlatPat(特許庁公式サイト)で参照する
関連特許
株式会社デンソーウェーブ
筐体
1か月前
株式会社デンソー
分離体
2日前
株式会社デンソー
回転機
1か月前
株式会社デンソー
電動弁
16日前
株式会社デンソー
検出装置
1か月前
株式会社デンソー
摺動機構
15日前
株式会社デンソー
撮像装置
15日前
株式会社デンソー
撮像装置
15日前
株式会社デンソー
制御装置
18日前
株式会社デンソー
電子装置
26日前
株式会社デンソー
摺動機構
15日前
株式会社デンソー
光学部材
2日前
株式会社デンソー
光学部材
2日前
株式会社デンソー
熱交換器
15日前
株式会社デンソー
電気回路
10日前
株式会社デンソー
電子装置
16日前
株式会社デンソー
電解装置
17日前
株式会社デンソー
電流センサ
1か月前
株式会社デンソー
熱交換部材
17日前
株式会社デンソー
センサ装置
23日前
株式会社デンソー
半導体装置
17日前
株式会社デンソー
ヒータ装置
24日前
株式会社デンソー
半導体装置
2日前
株式会社デンソー
熱交換装置
1か月前
株式会社デンソー
半導体装置
15日前
株式会社デンソー
センサ装置
23日前
株式会社デンソー
レーダ装置
1か月前
株式会社デンソートリム
鞍乗り車両
24日前
株式会社デンソー
半導体装置
25日前
株式会社デンソー
半導体装置
1か月前
株式会社デンソー
電子制御装置
15日前
株式会社デンソー
電力変換装置
1か月前
株式会社デンソー
画像処理装置
1か月前
株式会社デンソー
電力変換装置
1か月前
株式会社デンソー
圧電デバイス
23日前
株式会社デンソー
電気化学セル
15日前
続きを見る
他の特許を見る