TOP
|
特許
|
意匠
|
商標
特許ウォッチ
Twitter
他の特許を見る
公開番号
2025170565
公報種別
公開特許公報(A)
公開日
2025-11-19
出願番号
2024075239
出願日
2024-05-07
発明の名称
コネクタピン検査装置、コネクタピン検査方法
出願人
株式会社デンソー
代理人
弁理士法人サトー
主分類
G01B
11/02 20060101AFI20251112BHJP(測定;試験)
要約
【課題】コネクタに設けられている複数のコネクタピンを一層精度良く検査できるようにしたコネクタピン検査装置およびコネクタピン検査方法を提供する。
【解決手段】本開示に係るコネクタピン検査装置10は、コネクタ100に設けられている複数のコネクタピン101を検査する検査装置であって、前記コネクタピンが存在する可能性があることを示す第1画像を取得する第1取得部21と、前記コネクタピンの高さを示す画像であって、前記第1画像よりもノイズが大きい第2画像を取得する第2取得部22と、前記第1取得部により取得された前記第1画像のうち前記コネクタピンが存在する可能性がある位置を仮存在位置として特定する仮存在位置特定部23と、前記第2取得部により取得された前記第2画像のうち前記仮存在位置に示されている高さを、前記コネクタピンの高さとして特定する高さ特定部24と、を備える。
【選択図】図4
特許請求の範囲
【請求項1】
コネクタ(100)に設けられている複数のコネクタピン(101)を検査する検査装置(10)であって、
前記コネクタピンが存在する可能性があることを示す第1画像を取得する第1取得部(21)と、
前記コネクタピンの高さを示す画像であって、前記第1画像よりもノイズが大きい第2画像を取得する第2取得部(22)と、
前記第1取得部により取得された前記第1画像のうち前記コネクタピンが存在する可能性がある位置を仮存在位置として特定する仮存在位置特定部(23)と、
前記第2取得部により取得された前記第2画像のうち前記仮存在位置に示されている高さを、前記コネクタピンの高さとして特定する高さ特定部(24)と、
を備えるコネクタピン検査装置。
続きを表示(約 1,300 文字)
【請求項2】
前記仮存在位置特定部は、前記第1画像のうち、前記コネクタピンが存在する可能性がある所定の存在エリア内の位置を前記仮存在位置として特定する請求項1に記載のコネクタピン検査装置。
【請求項3】
前記仮存在位置特定部は、前記第1画像のうち、前記存在エリア内において輝度が所定値以上であって且つ面積が所定値以上である位置を前記仮存在位置として特定する請求項2に記載のコネクタピン検査装置。
【請求項4】
前記コネクタピンが正規の状態で設けられているマスタコネクタ(100M)について取得された前記第2画像のうち前記コネクタピンの高さが示されている位置を仮位置として特定し、前記マスタコネクタについて取得された前記第1画像のうち前記仮位置を含む所定範囲のエリアを前記存在エリアとして登録する存在エリア登録部(25)をさらに備える請求項2に記載のコネクタピン検査装置。
【請求項5】
前記存在エリアは、前記第1画像のうち所定の基準位置を基準として設定されている請求項2に記載のコネクタピン検査装置。
【請求項6】
前記コネクタピンが正規の状態で設けられているマスタコネクタ(100M)について取得された前記第1画像のうち前記コネクタピンが存在する可能性がある位置とは異なる位置を前記基準位置として登録する基準位置登録部(26)をさらに備える請求項5に記載のコネクタピン検査装置。
【請求項7】
前記高さ特定部は、前記第2画像のうち前記仮存在位置に示されている高さ、および、前記第2画像のうち前記仮存在位置の周辺に示されている高さを平均した高さを前記コネクタピンの高さとして特定する請求項1に記載のコネクタピン検査装置。
【請求項8】
コネクタ(100)に設けられている複数のコネクタピン(101)を検査する検査方法であって、
前記コネクタピンが存在する可能性があることを示す第1画像を取得する第1取得処理と、
前記コネクタピンの高さを示す画像であって、前記第1画像よりもノイズが大きい第2画像を取得する第2取得処理と、
前記第1取得処理により取得された前記第1画像のうち前記コネクタピンが存在する可能性がある位置を仮存在位置として特定する仮存在位置特定処理と、
前記第2取得処理により取得された前記第2画像のうち前記仮存在位置に示されている高さを、前記コネクタピンの高さとして特定する高さ特定処理と、
を含むコネクタピン検査方法。
【請求項9】
前記仮存在位置特定処理では、前記第1画像のうち、前記コネクタピンが存在する可能性がある所定の存在エリア内の位置を前記仮存在位置として特定する請求項8に記載のコネクタピン検査方法。
【請求項10】
前記仮存在位置特定処理では、前記第1画像のうち、前記存在エリア内において輝度が所定値以上であって且つ面積が所定値以上である位置を前記仮存在位置として特定する請求項9に記載のコネクタピン検査方法。
(【請求項11】以降は省略されています)
発明の詳細な説明
【技術分野】
【0001】
本開示は、コネクタに設けられる複数のコネクタピンを検査するコネクタピン検査装置およびコネクタピン検査方法に関する。
続きを表示(約 2,900 文字)
【背景技術】
【0002】
コネクタに設けられる複数のコネクタピンを検査するための様々な技術が考えられている。例えば特許文献1に開示されているピン曲がり検出装置は、照明装置によりコネクタピンの先端を照明した状態でラインセンサカメラによりコネクタピンを撮像し、その撮像結果から得られるコネクタピンの間隔に基づいて、コネクタピンの曲がりを判定する構成となっている。
【先行技術文献】
【特許文献】
【0003】
特開2012-52966号公報
【発明の概要】
【発明が解決しようとする課題】
【0004】
例えば自動車は、近年、電動化の流れが進んでおり、これに伴い、自動車に搭載される電気部品や電子部品が多種多様化している。コネクタは、電気部品や電子部品を接続するために重要な部品である。従って、例えばコネクタピンの曲がりなどといった不具合がコネクタに発生していないか否かを検査する技術について、その検査精度の向上がますます重要な課題となっている。
【0005】
本開示は、コネクタに設けられている複数のコネクタピンを一層精度良く検査できるようにしたコネクタピン検査装置およびコネクタピン検査方法を提供する。
【課題を解決するための手段】
【0006】
本開示に係るコネクタピン検査装置10は、コネクタ100に設けられている複数のコネクタピン101を検査する検査装置であって、前記コネクタピンが存在する可能性があることを示す第1画像を取得する第1取得部21と、前記コネクタピンの高さを示す画像であって、前記第1画像よりもノイズが大きい第2画像を取得する第2取得部22と、前記第1取得部により取得された前記第1画像のうち前記コネクタピンが存在する可能性がある位置を仮存在位置として特定する仮存在位置特定部23と、前記第2取得部により取得された前記第2画像のうち前記仮存在位置に示されている高さを、前記コネクタピンの高さとして特定する高さ特定部24と、を備える。
【0007】
本開示に係るコネクタピン検査方法は、コネクタ100に設けられている複数のコネクタピン101を検査する検査方法であって、前記コネクタピンが存在する可能性があることを示す第1画像を取得する第1取得処理と、前記コネクタピンの高さを示す画像であって、前記第1画像よりもノイズが大きい第2画像を取得する第2取得処理と、前記第1取得処理により取得された前記第1画像のうち前記コネクタピンが存在する可能性がある位置を仮存在位置として特定する仮存在位置特定処理と、前記第2取得処理により取得された前記第2画像のうち前記仮存在位置に示されている高さを、前記コネクタピンの高さとして特定する高さ特定処理と、を含む。
【0008】
本開示に係るコネクタピン検査装置10およびコネクタピン検査方法によれば、第2画像に比べノイズの影響が小さい第1画像に基づいてコネクタピンが存在する可能性がある位置を仮存在位置として絞り込む。そして、コネクタピン検査装置10は、第1画像に比べノイズの影響が大きい第2画像において仮存在位置に対応する位置に示されている高さをコネクタピンの高さとして特定する。これにより、ノイズの影響が大きい第2画像であっても、その第2画像のうちコネクタピンが存在する可能性が高い部分に示されている高さ情報に基づいて、コネクタピンの高さを特定することができる。つまり、ノイズの影響を極力排除してコネクタピンの高さを特定することができる。そのため、コネクタに設けられている複数のコネクタピンが正規の態様で設けられているか否かを一層精度良く検査することができる。
【図面の簡単な説明】
【0009】
本開示に係るコネクタピン検査装置の構成例を概略的に示す図
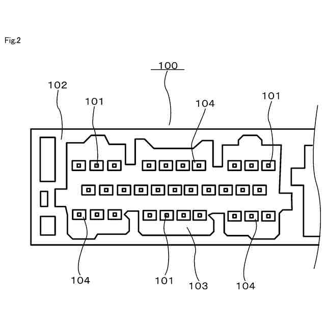
本開示に係るコネクタの構成例を概略的に示す平面図
本開示に係る撮像ユニットの構成例を概略的に示す図
本開示に係るコネクタピン検査装置の制御系の構成例を概略的に示すブロック図
本開示に係る撮像ユニットを第1撮像モードで機能させる場合を概略的に示す図
本開示に係る撮像ユニットを第2撮像モードで機能させる場合を概略的に示す図
本開示に係る輝度画像の一例を概略的に示す図
本開示に係る高さ画像の一例を概略的に示す図
本開示に係るコネクタピンの高さ画像がノイズの影響を受けることを説明する図
本開示に係るコネクタピン検査装置による自動登録制御の一例を概略的に示すフローチャート
本開示に係るコネクタピン検査装置による自動登録制御においてマスタコネクタの輝度画像および高さ画像を取得した状態を例示する図
本開示に係るコネクタピン検査装置による自動登録制御において仮位置を特定した状態を例示する図
本開示に係るコネクタピン検査装置による自動登録制御において存在エリアを設定した状態を例示する図
本開示に係るコネクタピン検査装置による自動登録制御において正規位置を特定した状態を例示する図
本開示に係るコネクタピン検査装置による検査制御の一例を概略的に示すフローチャート
本開示に係るコネクタピン検査装置による検査制御において検査対象コネクタの輝度画像および高さ画像を取得した状態を例示する図
本開示に係るコネクタピン検査装置による検査制御において基準位置を基準として存在エリアを配置した状態を例示する図
本開示に係るコネクタピン検査装置による検査制御において仮存在位置を特定した状態を例示する図
本開示に係るコネクタピン検査装置による検査制御においてコネクタピンの高さを特定した状態を例示する図
【発明を実施するための形態】
【0010】
以下、本開示のコネクタピン検査装置およびコネクタピン検査方法に係る一実施形態について図面を参照しながら説明する。図1に例示するコネクタピン検査装置10は、コネクタ100に設けられている複数のコネクタピン101を検査するための装置、つまり、コネクタ100に複数のコネクタピン101が正規の態様で設けられているか否かを判定可能な装置である。正規の態様は、具体的には、複数のコネクタピン101が、予め定められた所定の位置に、予め定められた所定の間隔で、曲がったり折れたりすることなく設けられた態様と定義することができる。コネクタ100は、例えば自動車などに搭載される電気部品や電子部品などの基板に設けられるものであり、当該コネクタ100には図示しない接続ケーブルが接続される。コネクタ100に複数のコネクタピン101が正規の態様で配置されていれば、図示しない接続ケーブルをコネクタ100に接続することが可能である。コネクタ100に複数のコネクタピン101が正規の態様で配置されていなければ、図示しない接続ケーブルをコネクタ100に接続することが不能あるいは困難となる。
(【0011】以降は省略されています)
この特許をJ-PlatPat(特許庁公式サイト)で参照する
関連特許
株式会社デンソーウェーブ
筐体
1か月前
株式会社デンソー
分離体
1日前
株式会社デンソー
車載器
1か月前
株式会社デンソー
回転機
1か月前
株式会社デンソー
電動弁
15日前
株式会社デンソー
ステータ
1か月前
株式会社デンソー
光学部材
1日前
株式会社デンソー
ねじ部材
1か月前
株式会社デンソー
電子装置
1か月前
株式会社デンソーエレクトロニクス
発音装置
1か月前
株式会社デンソー
電子装置
25日前
株式会社デンソー
制御装置
17日前
株式会社デンソー
電解装置
16日前
株式会社デンソー
電子装置
1か月前
株式会社デンソー
検出装置
1か月前
株式会社デンソー
光学部材
1日前
株式会社デンソー
電子装置
1か月前
株式会社デンソー
電気回路
9日前
株式会社デンソー
電子装置
15日前
株式会社デンソー
撮像装置
14日前
株式会社デンソー
撮像装置
14日前
株式会社デンソー
摺動機構
14日前
株式会社デンソー
摺動機構
14日前
株式会社デンソー
熱交換器
14日前
株式会社デンソー
反力装置
1か月前
株式会社デンソー
ステータ
1か月前
株式会社デンソー
農業用装置
1か月前
株式会社デンソー
熱交換部材
16日前
株式会社デンソー
半導体装置
16日前
株式会社デンソー
センサ装置
22日前
株式会社デンソー
センサ装置
22日前
株式会社デンソー
半導体装置
14日前
株式会社デンソー
ヒータ装置
23日前
株式会社デンソー
半導体装置
1か月前
株式会社デンソー
レーダ装置
1か月前
株式会社デンソー
半導体装置
1か月前
続きを見る
他の特許を見る