TOP
|
特許
|
意匠
|
商標
特許ウォッチ
Twitter
他の特許を見る
10個以上の画像は省略されています。
公開番号
2025062319
公報種別
公開特許公報(A)
公開日
2025-04-14
出願番号
2023171294
出願日
2023-10-02
発明の名称
積層コンクリート集合体の養生方法
出願人
株式会社奥村組
代理人
個人
主分類
B28B
11/24 20060101AFI20250407BHJP(セメント,粘土,または石材の加工)
要約
【課題】積層コンクリート集合体に養生袋を被せる作業を簡単化する。
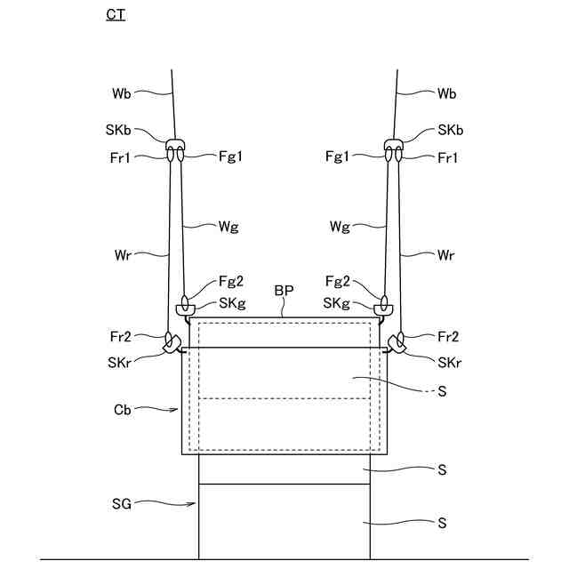
【解決手段】枠体FBの下方に吊りワイヤWb,Wr,Wgを介して吊られた養生袋Cbを積層セグメント集合体SGに被せる。吊りワイヤWbの一端は枠体FBに接続され、他端にはシャックルSKbが接続されている。このシャックルSKbには、2本の吊りワイヤWr,Wgの一端が着脱自在の状態で接続されている。一方の吊りワイヤWrの他端は、養生袋Cbの裾部に着脱自在の状態で接続され、他方の吊りワイヤWgの他端は養生袋Cbの底面部BPの外周に接続されている。
【選択図】図3
特許請求の範囲
【請求項1】
(a)複数個のコンクリートを高さ方向に積み重ねることにより構成された積層コンクリート集合体の全体を覆う深さを有し、直方体形状で開口部および該開口部の反対側に位置する底面部を有する養生袋と、前記養生袋より平面視での寸法が大きい枠体と、前記枠体の下方に前記養生袋を吊った状態で支持する複数本の吊り部材とを有する養生用具を前記積層コンクリート集合体の仮設置場に運び込む過程と、
(b)前記枠体をクレーンによって吊り上げることにより、前記養生袋の開口部を下に向けた状態で前記枠体の下方に前記複数本の吊り部材を介して前記養生袋を吊り上げる過程と、
(c)前記クレーンによって前記積層コンクリート集合体の直上に前記養生袋を移動する過程と、
(d)前記クレーンによって前記枠体を下降させることにより、前記積層コンクリート集合体に前記養生袋を被せる過程と、
を有し、
前記(a)~(c)過程において複数本の前記吊り部材の各々は、前記枠体に第1の取付金具を介して一端が接続されている第1の吊りワイヤと、前記第1の吊りワイヤの他端に接続されている連結部と、前記連結部に第2の取付金具を介して着脱自在の状態で一端が接続されているとともに、前記養生袋の前記底面部の角部に他端が接続されている第2の吊りワイヤと、前記連結部に一端が接続されているとともに、前記第2の吊りワイヤの他端が接続された前記底面部の角部の延長線上に位置する前記裾部の角部に第3の取付金具を介して着脱自在の状態で他端が接続されている第3の吊りワイヤとを備えており、
前記(b)および前記(c)過程において前記養生袋は、該養生袋の裾部が外側に折り曲げられ、該裾部の高さが前記養生袋の前記底面部の高さより下に位置するように捲れ上げられており、
前記(d)過程においては、前記第2の吊りワイヤの一端の前記第2の取付金具が下がりきったら前記枠体の下降を止め、前記第2の吊りワイヤの一端の前記第2の取付金具を前記連結部から外すとともに、前記第3の吊りワイヤの他端の前記第3の取付金具を前記養生袋の前記裾部の角部から外すことにより、前記養生袋を前記積層コンクリート集合体に被せることを特徴とする積層コンクリート集合体の養生方法。
続きを表示(約 580 文字)
【請求項2】
前記(d)過程において、前記第2の取付金具が下がりきったときの前記連結部から前記養生袋の底面部までの長さが、地面から予め決められた高さに位置する作業高さを前記養生袋の深さから引いたときの長さと同等またはそれより長くなるように、前記第2の吊りワイヤの長さを設定したことを特徴とする請求項1記載の積層コンクリート集合体の養生方法。
【請求項3】
前記作業高さは、1m以上、2m未満であることを特徴とする請求項2記載の積層コンクリート集合体の養生方法。
【請求項4】
前記第1の吊りワイヤの長さは、前記第2の吊りワイヤの長さより長いことを特徴とする請求項2記載の積層コンクリート集合体の養生方法。
【請求項5】
前記第3の吊りワイヤの長さは、前記第2の吊りワイヤの長さと同等またはそれより長いことを特徴とする請求項2記載の積層コンクリート集合体の養生方法。
【請求項6】
前記養生袋の前記底面部の外周に、該養生袋の形状を維持するためのエアチューブを設けたことを特徴とする請求項1記載の積層コンクリート集合体の養生方法。
【請求項7】
前記コンクリートがトンネル覆工用のセグメントであることを特徴とする請求項1~6のいずれか一項に記載の積層コンクリート集合体の養生方法。
発明の詳細な説明
【技術分野】
【0001】
本発明は、積層コンクリート集合体の養生方法に関し、例えば、シールド工事におけるトンネル覆工部材であるセグメント等のようなプレキャストコンクリートを山積みにした状態で養生するときの養生方法に関するものである。
続きを表示(約 2,100 文字)
【背景技術】
【0002】
セグメントは、型枠へのコンクリートの打設後、養生しながら数日経過後に型枠から取り外し、水中養生を行い、その後、仮設置場に運搬して保管する。仮設置場においては気中養生を行うが、気中養生を行うとコンクリート面が乾燥して、ひび割れの発生原因となってしまうので、乾燥を防止する観点から養生袋をセグメントに被せてコンクリート面の湿潤を確保した状態で養生を行う場合がある。
【0003】
このようなコンクリートの養生方法については、例えば、特許文献1に記載があり、型枠から取り出した後の湿潤状態にあるコンクリート打設面にラップフィルムを装着し、所定期間養生するコンクリートの養生方法が開示されている。
【先行技術文献】
【特許文献】
【0004】
特開2003-335587号公報
【発明の概要】
【発明が解決しようとする課題】
【0005】
ところで、大型のセグメントに既成の養生袋を被せる場合、既成の養生袋が小さいので、1つのセグメント毎に養生袋を被せなければならず、手間と時間とがかかる面倒な作業となっている。一方、複数個の大型のセグメントを山積みにし、その山積みにされた大型のセグメントの集合体に大きな養生袋を被せる場合は、1つのセグメント毎に養生袋を被せる場合よりは手間と時間とを削減することができるものの、複数個の大型のセグメントを山積みにしているので高所での作業が必要となり、安全性を考慮して作業を進める関係上、手間と時間とがかかる困難な作業になってしまう、という課題がある。
【0006】
本発明は、上述の技術的背景からなされたものであって、積層コンクリート集合体に養生袋を被せる作業を簡単化することができる技術を提供することを目的とする。
【課題を解決するための手段】
【0007】
上記課題を解決するため、請求項1に記載の本発明の積層コンクリート集合体の養生方法は、(a)複数個のコンクリートを高さ方向に積み重ねることにより構成された積層コンクリート集合体の全体を覆う深さを有し、直方体形状で開口部および該開口部の反対側に位置する底面部を有する養生袋と、前記養生袋より平面視での寸法が大きい枠体と、前記枠体の下方に前記養生袋を吊った状態で支持する複数本の吊り部材とを有する養生用具を前記積層コンクリート集合体の仮設置場に運び込む過程と、(b)前記枠体をクレーンによって吊り上げることにより、前記養生袋の開口部を下に向けた状態で前記枠体の下方に前記複数本の吊り部材を介して前記養生袋を吊り上げる過程と、(c)前記クレーンによって前記積層コンクリート集合体の直上に前記養生袋を移動する過程と、(d)前記クレーンによって前記枠体を下降させることにより、前記積層コンクリート集合体に前記養生袋を被せる過程と、を有し、前記(a)~(c)過程において複数本の前記吊り部材の各々は、前記枠体に第1の取付金具を介して一端が接続されている第1の吊りワイヤと、前記第1の吊りワイヤの他端に接続されている連結部と、前記連結部に第2の取付金具を介して着脱自在の状態で一端が接続されているとともに、前記養生袋の前記底面部の角部に他端が接続されている第2の吊りワイヤと、前記連結部に一端が接続されているとともに、前記第2の吊りワイヤの他端が接続された前記底面部の角部の延長線上に位置する前記裾部の角部に第3の取付金具を介して着脱自在の状態で他端が接続されている第3の吊りワイヤとを備えており、前記(b)および前記(c)過程において前記養生袋は、該養生袋の裾部が外側に折り曲げられ、該裾部の高さが前記養生袋の前記底面部の高さより下に位置するように捲れ上げられており、前記(d)過程においては、前記第2の吊りワイヤの一端の前記第2の取付金具が下がりきったら前記枠体の下降を止め、前記第2の吊りワイヤの一端の前記第2の取付金具を前記連結部から外すとともに、前記第3の吊りワイヤの他端の前記第3の取付金具を前記養生袋の前記裾部の角部から外すことにより、前記養生袋を前記積層コンクリート集合体に被せることを特徴とする。
【0008】
請求項2に記載の本発明の積層コンクリート集合体の養生方法は、上記請求項1に記載の発明において、前記(d)過程において、前記第2の取付金具が下がりきったときの前記連結部から前記養生袋の底面部までの長さが、地面から予め決められた高さに位置する作業高さを前記養生袋の深さから引いたときの長さと同等またはそれより長くなるように、前記第2の吊りワイヤの長さを設定したことを特徴とする。
【0009】
請求項3に記載の本発明の積層コンクリート集合体の養生方法は、上記請求項2に記載の発明において、前記作業高さは、1m以上、2m未満であることを特徴とする。
【0010】
請求項4に記載の本発明の積層コンクリート集合体の養生方法は、上記請求項2に記載の発明において、前記第1の吊りワイヤの長さは、前記第2の吊りワイヤの長さより長いことを特徴とする。
(【0011】以降は省略されています)
この特許をJ-PlatPat(特許庁公式サイト)で参照する
関連特許
株式会社奥村組
設置架台
26日前
株式会社奥村組
施工管理装置
23日前
株式会社奥村組
爆薬装填装置
24日前
株式会社奥村組
施工管理装置
23日前
株式会社奥村組
施工管理方法
23日前
株式会社奥村組
非開削推進工法
23日前
株式会社奥村組
非開削推進工法
23日前
株式会社奥村組
非開削推進工法
23日前
株式会社奥村組
非開削推進工法
23日前
株式会社奥村組
非開削推進工法
23日前
株式会社奥村組
廃棄物分類処理装置
26日前
株式会社奥村組
外壁部施工用足場構造
24日前
株式会社奥村組
継手部用スパイラル鉄筋
19日前
株式会社奥村組
圧入式オープンケーソン
1か月前
株式会社奥村組
継手部用スパイラル鉄筋
19日前
株式会社奥村組
壁下地用胴縁の端部固定構造
1か月前
株式会社奥村組
ドラムカッタ用集塵カバー体
26日前
株式会社奥村組
掘削機および非開削推進工法
23日前
株式会社奥村組
大規模建築物における骨組み構造
23日前
株式会社奥村組
底部コンクリート構造体の撤去方法
26日前
株式会社奥村組
PCa庇パネル部材を用いた足場構造
24日前
株式会社奥村組
PCa庇パネル部材の取付け施工方法
24日前
株式会社奥村組
スパイラル鉄筋を用いた継手部の配筋構造
19日前
株式会社奥村組
スパイラル鉄筋を用いた継手部の配筋構造
19日前
株式会社奥村組
スパイラル鉄筋を用いた継手部の配筋構造
19日前
株式会社奥村組
スパイラル鉄筋を用いた継手部の配筋構造
19日前
株式会社奥村組
スパイラル鉄筋を用いた継手部の配筋構造
19日前
株式会社奥村組
スパイラル鉄筋を用いた継手部の配筋構造
19日前
株式会社奥村組
大規模建築物における骨組み構造の施工方法
23日前
株式会社奥村組
底部角部コンクリート構造体の解体撤去方法
26日前
株式会社奥村組
ミニベンチカット工法用トンネルワークステーション
25日前
株式会社奥村組
トンネルワークステーションによる山岳トンネル工法
25日前
株式会社奥村組
トンネルワークステーションによる山岳トンネル工法
25日前
株式会社奥村組
ミニベンチカット工法用トンネルワークステーション
25日前
株式会社奥村組
トンネルワークステーションによる山岳トンネル工法
25日前
株式会社奥村組
進路予測装置、進路予測方法および進路予測プログラム
23日前
続きを見る
他の特許を見る