TOP
|
特許
|
意匠
|
商標
特許ウォッチ
Twitter
他の特許を見る
10個以上の画像は省略されています。
公開番号
2025153675
公報種別
公開特許公報(A)
公開日
2025-10-10
出願番号
2024056280
出願日
2024-03-29
発明の名称
セメント造形物の補強ワイヤ
出願人
トクセン工業株式会社
代理人
弁理士法人有古特許事務所
主分類
B28B
23/02 20060101AFI20251002BHJP(セメント,粘土,または石材の加工)
要約
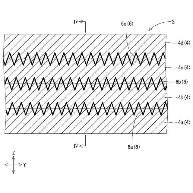
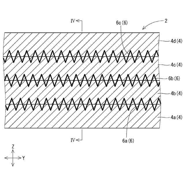
【課題】強度に優れたセメント造形物2の提供。
【解決手段】セメント造形物2は、第一セメント硬化層4a、第二セメント硬化層4b、第三セメント硬化層4c及び第四セメント硬化層4dを有している。セメント造形物2はさらに、第一補強ワイヤ6a、第二補強ワイヤ6b及び第三補強ワイヤ6cを有している。第一補強ワイヤ6aは、第一セメント硬化層4a及び第二セメント硬化層4bの境界に位置している。第二補強ワイヤ6bは、第二セメント硬化層4b及び第三セメント硬化層4cの境界に位置している。第三補強ワイヤ6cは、第三セメント硬化層4c及び第四セメント硬化層4dの境界に位置している。それぞれの補強ワイヤ6は、コイル形状を有している。
【選択図】図3
特許請求の範囲
【請求項1】
コイル形状を有する、セメント造形物の補強ワイヤ。
続きを表示(約 640 文字)
【請求項2】
連続する複数のエレメントを有しており、
それぞれのエレメントの軸方向Axが、その長さ方向に対して傾斜している、請求項1に記載の補強ワイヤ。
【請求項3】
上記エレメントが、平面視において、他のエレメントとオーバーラップしている、請求項2に記載の補強ワイヤ。
【請求項4】
その幅Wrがその高さHrよりも大きい、請求項1から3のいずれかに記載の補強ワイヤ。
【請求項5】
上記幅Wrに対する上記高さHrの比率が、60%以下である、請求項4に記載の補強ワイヤ。
【請求項6】
第一セメント硬化層、
上記第一セメント硬化層に積層された第二セメント硬化層、
並びに
上記第一セメント硬化層又は上記第二セメント硬化層に埋もれており、コイル形状を有する補強ワイヤ
を備えた、セメント造形物。
【請求項7】
上記第一セメント硬化層の幅Wcに対する上記補強ワイヤの幅Wrの比率が、40%以上である、請求項6に記載のセメント造形物。
【請求項8】
A:コイル形状を有する補強ワイヤと、第一セメント組成物とを、押し出す工程、
B:第二セメント組成物を押し出して、第一セメント組成物に積層する工程、
並びに
C:上記第一セメント組成物及び上記第二セメント組成物を硬化させる工程
を備えた、セメント造形物の製造方法。
発明の詳細な説明
【技術分野】
【0001】
本明細書は、セメント造形物のための三次元積層造形法に適した、補強ワイヤを開示する。
続きを表示(約 1,000 文字)
【背景技術】
【0002】
鉄筋コンクリート製の建造物として、型枠法が知られている。この型枠法では、まず、型枠内に鉄筋が挿入される。この型枠に、生コンクリートが流し込まれる。この生コンクリートが固化し、建造物が得られる。鉄筋は、コンクリートと一体化する。鉄筋は、建造物を補強する。
【0003】
三次元積層造形法によっても、建造物が得られうる。三次元積層造形法では、移動するノズルからセメント組成物が押し出される。ノズルとの干渉を回避する観点から、この造形法では、鉄筋は用いられ得ない。この建造物では、鉄筋による補強はなされ得ない。
【0004】
特開2022-046028公報には、三次元積層造形法によって得られた造形物に適した補強材が、開示されている。この補強材は、セメント組成物を押し出すノズルから、供給される。
【先行技術文献】
【特許文献】
【0005】
特開2022-046028公報
【発明の概要】
【発明が解決しようとする課題】
【0006】
特開2022-046028公報に開示された補強材の補強性能は、不十分である。本出願人の意図するところは、強度に優れたセメント造形物の提供にある。
【課題を解決するための手段】
【0007】
本明細書が開示する、セメント造形物の補強ワイヤは、コイル形状を有する。
【0008】
本明細書が開示するセメント造形物は、
第一セメント硬化層、
上記第一セメント硬化層に積層された第二セメント硬化層、
並びに
上記第一セメント硬化層又は上記第二セメント硬化層に埋もれており、コイル形状を有する補強ワイヤ
を有する。
【0009】
本明細書が開示する、セメント造形物の製造方法は、
A:コイル形状を有する補強ワイヤと、第一セメント組成物とを、押し出す工程、
B:第二セメント組成物を押し出して、第一セメント組成物に積層する工程、
並びに
C:上記第一セメント組成物及び上記第二セメント組成物を硬化させる工程
を含む。
【発明の効果】
【0010】
この補強ワイヤは、様々な方向におけるセメント造形物の強度を高める。
【図面の簡単な説明】
(【0011】以降は省略されています)
この特許をJ-PlatPat(特許庁公式サイト)で参照する
関連特許
他の特許を見る