TOP
|
特許
|
意匠
|
商標
特許ウォッチ
Twitter
他の特許を見る
公開番号
2025151690
公報種別
公開特許公報(A)
公開日
2025-10-09
出願番号
2024053240
出願日
2024-03-28
発明の名称
車両用制御装置
出願人
株式会社アイシン
代理人
弁理士法人R&C
主分類
B60L
15/20 20060101AFI20251002BHJP(車両一般)
要約
【課題】パルス状のトルク指令に基づく制御と通常のトルク指令に基づく制御との切り替え時におけるトルク変動を抑制して、駆動伝達機構に生じる共振による振動を低減する。
【解決手段】車両用駆動装置は、トルク指令生成部が、要求トルクに応じて不連続な指令値をトルク指令として生成する不連続指令生成処理と、要求トルクに応じて連続的に変化する指令値をトルク指令として生成する通常指令生成処理とを選択的に実行し、通常指令生成処理から不連続指令生成処理への切り替え時には、トルク指令に対して、回転電機と車輪との間で動力を伝達する駆動伝達機構の共振周波数に対応する対象周波数の振動を低減させるノッチフィルタを作用させる第1制振処理(#5)をさらに実行する。
【選択図】図13
特許請求の範囲
【請求項1】
車輪の駆動力源として回転電機を備えた車両を制御する車両用制御装置であって、
前記車輪に伝達することが要求されるトルクである要求トルクに基づいて、前記回転電機に当該要求トルクを出力させるための指令であるトルク指令を生成するトルク指令生成部を備え、
前記トルク指令生成部は、
前記要求トルクに応じて不連続な指令値を前記トルク指令として生成する不連続指令生成処理と、
前記要求トルクに応じて連続的に変化する指令値を前記トルク指令として生成する通常指令生成処理と、を選択的に実行し、
前記通常指令生成処理から前記不連続指令生成処理への切り替え時には、前記トルク指令に対して、前記回転電機と前記車輪との間で動力を伝達する駆動伝達機構の共振周波数に対応する対象周波数の振動を低減させるノッチフィルタを作用させる第1制振処理をさらに実行する、車両用制御装置。
続きを表示(約 550 文字)
【請求項2】
前記トルク指令生成部は、前記第1制振処理において、前記通常指令生成処理から前記不連続指令生成処理への切り替え後、前記ノッチフィルタによるノッチ効果をゼロまで次第に低下させるようにゲインを変化させる、請求項1に記載の車両用制御装置。
【請求項3】
前記トルク指令生成部は、前記不連続指令生成処理から前記通常指令生成処理への切り替え後、前記駆動伝達機構の振動に対して逆位相のトルクを前記回転電機に出力させる第2制振処理を実行する、請求項1又は2に記載の車両用制御装置。
【請求項4】
前記トルク指令生成部は、
前記不連続指令生成処理では、設定されたキャリア周期において、前記キャリア周期よりも短い制御周期に基づいて規定される切り替えタイミングでオン状態とオフ状態とが切り替わるパルス幅変調波形として前記トルク指令を生成し、
前記パルス幅変調波形は、前記回転電機の回転速度に応じて設定され、前記回転電機の効率が予め定められた規定値よりも高い動作範囲である高効率範囲内となるトルクを、前記パルス幅変調波形がオン状態の前記トルク指令の値とし、ゼロを前記パルス幅変調波形がオフ状態の値として生成される、請求項1又は2に記載の車両用制御装置。
発明の詳細な説明
【技術分野】
【0001】
本発明は、車両用制御装置に関する。
続きを表示(約 2,400 文字)
【背景技術】
【0002】
特開平10-243680号公報には、指定された要求トルクに平均値が一致し、波高値が回転電機を高効率で駆動することができるトルク値に一致するパルス状のトルク指令値に基づいて回転電機を駆動制御する制御装置が開示されている。要求トルクに拘わらず、効率の良い動作領域において回転電機を駆動することができるので、回転電機を高いエネルギー効率で動作させることができる。従って、ハイブリッド車両や電動車両における電力消費率(電費)の向上が期待できる。
【先行技術文献】
【特許文献】
【0003】
特開平10-243680号公報
【発明の概要】
【発明が解決しようとする課題】
【0004】
パルス状の不連続なトルク指令と、通常の連続的なトルク指令とを比べると、通常のトルク指令の方がトルク指令に基づく回転電機制御の応答性はよい。従って、パルス状の不連続なトルク指令は、要求トルクが大きく変動するような状況ではなく、要求トルクが比較的安定した状況、例えば車両が巡航するような状況において用いられることが多い。従って、パルス状のトルク指令に基づく制御と、通常のトルク指令に基づく制御とは、適宜切り替えられる。特に通常のトルク指令に基づく制御からパルス状のトルク指令に基づく制御への切り替え時には、回転電機の出力トルクに変動が生じ易い。そして、トルク変動発生時の変動成分の周波数との共振によって、回転電機と車輪との間で動力を伝達する駆動伝達機構にも振動が生じる場合がある。この振動が乗員に伝わると乗り心地の低化につながる。
【0005】
上記に鑑みて、パルス状のトルク指令に基づく制御と、通常のトルク指令に基づく制御との切り替え時におけるトルク変動を抑制して、駆動伝達機構に生じる共振による振動を低減することが望まれる。
【課題を解決するための手段】
【0006】
上記に鑑みた車両用駆動装置は、車輪の駆動力源として回転電機を備えた車両を制御する車両用制御装置であって、前記車輪に伝達することが要求されるトルクである要求トルクに基づいて、前記回転電機に当該要求トルクを出力させるための指令であるトルク指令を生成するトルク指令生成部を備え、記トルク指令生成部は、前記要求トルクに応じて不連続な指令値を前記トルク指令として生成する不連続指令生成処理と、前記要求トルクに応じて連続的に変化する指令値を前記トルク指令として生成する通常指令生成処理と、を選択的に実行し、前記通常指令生成処理から前記不連続指令生成処理への切り替え時には、前記トルク指令に対して、前記回転電機と前記車輪との間で動力を伝達する駆動伝達機構の共振周波数に対応する対象周波数の振動を低減させるノッチフィルタを作用させる第1制振処理をさらに実行する。
【0007】
本構成によれば、ノッチフィルタによって、値が連続的に変化する通常のトルク指令から値が不連続なトルク指令に切り替える場合に駆動伝達機構に生じる共振による振動を効果的に低減することができる。従って、車両の振動を低減して乗員の快適性を高めることができる。特に、ノッチフィルタにより、駆動伝達機構の共振周波数に対応する対象周波数の振動を低減させるため、不連続なトルク指令値に基づいて回転電機が駆動される場合であっても、駆動伝達機構に生じる共振による振動を効果的に低減することができる。即ち、本構成によれば、パルス状のトルク指令に基づく制御と、通常のトルク指令に基づく制御との切り替え時におけるトルク変動を抑制して、駆動伝達機構に生じる共振による振動を低減することができる。
【0008】
車両用制御装置のさらなる特徴と利点は、図面を参照して説明する例示的且つ非限定的な実施形態についての以下の記載から明確となる。
【図面の簡単な説明】
【0009】
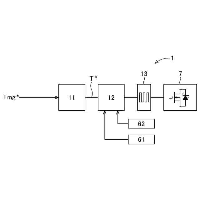
回転電機の駆動制御システムの一例を示す模式的ブロック図
インバータを介した回転電機の模式的制御ブロック図
回転電機と車輪との間の駆動伝達機構の一例を模式的に示す図
回転電機の動作範囲を回転速度とトルクとの関係で示す図
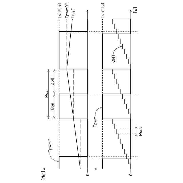
通常の連続的なトルク指令と不連続なトルク指令との関係を示す図
通常の連続的なトルク指令から不連続なトルク指令への切り替わる際に駆動伝達機構に生じる共振振動の一例を示す波形図
ノッチフィルタのゲインと経過時間との関係を示すグラフ
パルス幅変調波形のトルク指令と当該トルク指令にノッチフィルタを作用させた場合の波形とを示す波形図
パルス幅変調波形のトルク指令にノッチフィルタを作用させた場合とさせていない場合とにおける共振振動の比較例を示す波形図
回転数フィードバック制振制御の一例を示す制御ブロック図
不連続なトルク指令から通常の連続的なトルク指令への切り替わり後に、当該トルク指令に回転数フィードバック制振制御のトルクを付加した場合と付加していない場合との比較例を示す波形図
通常の連続的なトルク指令に回転数フィードバック制振制御のトルクを付加した場合と付加していない場合とにおける共振振動の比較例を示す波形図
制振処理の一例を示すフローチャート
【発明を実施するための形態】
【0010】
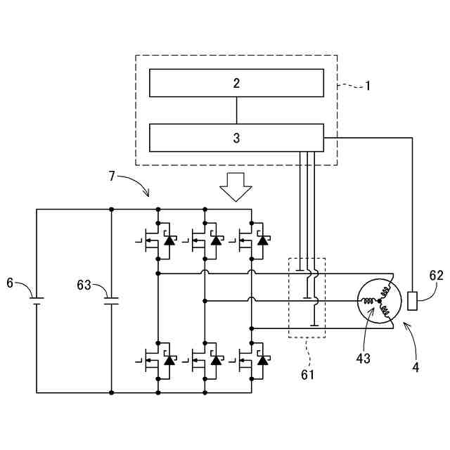
以下、車両用制御装置の実施形態を図面も参照して説明する。図1の模式的ブロック図は、回転電機4の駆動制御システムの一例を示している。図2の模式的制御ブロック図は、インバータ7を介した回転電機4の制御形態の一例を示している。図3は、回転電機4と車輪Wとの間の駆動伝達機構5の一例を模式的に示している。
(【0011】以降は省略されています)
この特許をJ-PlatPat(特許庁公式サイト)で参照する
関連特許
株式会社アイシン
ロータ
19日前
株式会社アイシン
ロータ
25日前
株式会社アイシン
ロータ
23日前
株式会社アイシン
回転電機
26日前
株式会社アイシン
ステータ
23日前
株式会社アイシン
検知装置
24日前
株式会社アイシン
駆動装置
24日前
株式会社アイシン
制御装置
24日前
株式会社アイシン
制御装置
24日前
株式会社アイシン
制御装置
24日前
株式会社アイシン
電子機器
24日前
株式会社アイシン
ステータ
23日前
株式会社アイシン
保護装置
24日前
株式会社アイシン
ステータ
23日前
株式会社アイシン
ステータ
23日前
株式会社アイシン
歯車機構
19日前
株式会社アイシン
レーダ装置
24日前
株式会社アイシン
走行制御装置
23日前
株式会社アイシン
超音波センサ
25日前
株式会社アイシン
センサ固定具
25日前
株式会社アイシン
電解システム
24日前
株式会社アイシン
車両制御装置
24日前
株式会社アイシン
出庫支援装置
24日前
株式会社アイシン
運転支援装置
24日前
株式会社アイシン
運転支援装置
24日前
株式会社アイシン
衝撃吸収部材
24日前
株式会社アイシン
案内システム
24日前
株式会社アイシン
電解システム
25日前
株式会社アイシン
超音波センサ
25日前
株式会社アイシン
運転支援装置
23日前
株式会社アイシン
運転支援装置
23日前
株式会社アイシン
乗員検知装置
24日前
株式会社アイシン
環境認識装置
23日前
株式会社アイシン
折り畳み装置
23日前
株式会社アイシン
ドア支持装置
23日前
株式会社アイシン
ガス検出装置
23日前
続きを見る
他の特許を見る