TOP
|
特許
|
意匠
|
商標
特許ウォッチ
Twitter
他の特許を見る
公開番号
2025132639
公報種別
公開特許公報(A)
公開日
2025-09-10
出願番号
2024030332
出願日
2024-02-29
発明の名称
排出容器
出願人
株式会社吉野工業所
代理人
個人
主分類
B65D
83/06 20060101AFI20250903BHJP(運搬;包装;貯蔵;薄板状または線条材料の取扱い)
要約
【課題】 操作部を操作することにより、定量排出と連続排出とを切り替える排出容器を提供すること。
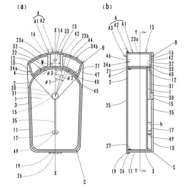
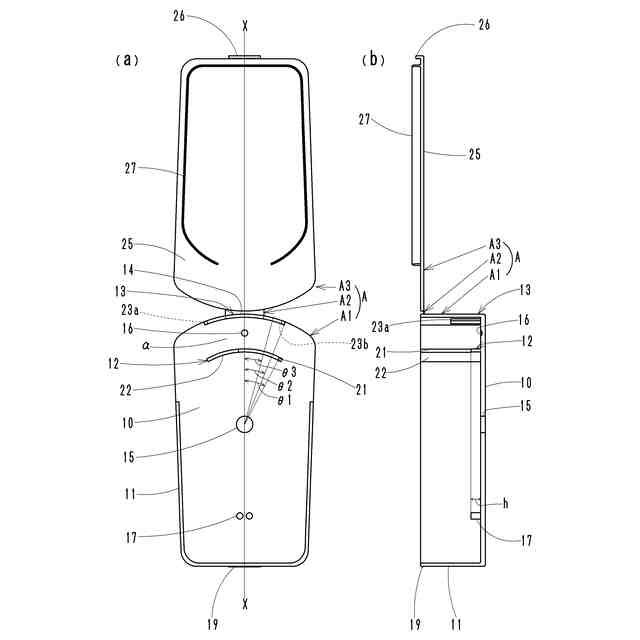
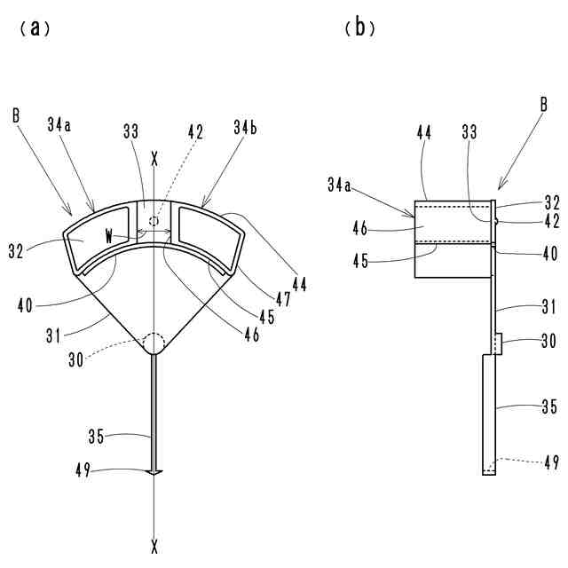
【解決手段】 上部に連通口4が開口する収容部Cと、連通口4から流入する内容物Pを計量し、排出する計量部33が形成された計量スライドBと、計量部33の排出側を閉鎖する閉鎖部14が形成され、計量スライドBを収容部Cの上部に沿って移動可能に格納するケースAとからなる排出容器であって、計量スライドBは、排出側を閉鎖部14に対向させる中立位置に付勢する付勢部35と、計量部33を中立位置から移動可能な操作部34a、34bとを備え、計量スライドBは、容器を倒立させ、収容部Cから計量部33に内容物Pが流入後、操作部34aを付勢部35に抗して一方向に操作すると、計量部33を連通口4と連通して連続排出し、また、操作部34bを逆方向に操作すると、計量部33を連通口4から遮断して定量排出することを特徴とする。
【選択図】 図1
特許請求の範囲
【請求項1】
内容物を収容し、上部に連通口が開口する収容部と、連通口から流入する内容物を計量し、上部から排出する計量部が形成された計量スライドと、計量部の排出側を閉鎖する閉鎖部が形成され、計量スライドを収容部の上部に沿って移動可能に格納するケースとからなる排出容器であって、
計量スライドは、計量部を連通口に対向させるとともに、排出側を閉鎖部に対向させる中立位置に付勢する付勢部と、計量部を中立位置から一方向または逆方向に移動可能な操作部とを備え、
計量スライドは、容器を倒立させ、収容部から計量部に内容物が流入後、操作部を付勢部に抗して一方向に操作すると、計量部を連通口と連通して連続排出し、また、操作部を逆方向に操作すると、計量部を連通口から遮断して定量排出することを特徴とする排出容器。
続きを表示(約 300 文字)
【請求項2】
ケースは、定量排出時に、収容部の連通口と計量部との連通を遮断する遮断部を備えることを特徴とする請求項1に記載の排出容器。
【請求項3】
計量スライドは、ケースに軸支される軸部と、軸部を中心に揺動可能な揺動底壁と、揺動底壁上に形成された計量部の両側に設けられた一方向操作部および逆方向操作部とを備えることを特徴とする請求項1または2に記載の排出容器。
【請求項4】
計量スライドは、揺動底壁の軸部側からケース側に向けて延び、揺動底壁を中立位置に復帰させるように付勢する弾性変形可能な付勢部を備えることを特徴とする請求項3に記載の排出容器。
発明の詳細な説明
【技術分野】
【0001】
本発明は、粉体等の流動性固形物を計量して排出する排出容器に関し、とくに、定量排出と、連続排出とを切り替えることができる排出容器に関するものである。
続きを表示(約 1,700 文字)
【背景技術】
【0002】
内容物として、粉体や粒状物等の流動性固形物を計量して排出する定量排出容器として、上下にそれぞれ独立した空間を設け、上方を貯蔵空間、下方を定量排出用の2次貯蔵空間とし、上部貯蔵空間から定量排出空間に一旦移送された内容物は、常に一定容量、定量排出空間から排出させる機構を備えた定量繰り出し携帯容器が従来から知られている(特許文献1参照)。
【0003】
また、内容物を収める収容空間を有する容器本体と、収容空間に通じる導入口と外界に通じる吐出口とを有するキャップ本体と、導入口から収容空間の内容物が導入される計量空間を有し、キャップ本体に対してスライドする計量体と、計量体との間で空気室を区画するとともに、キャップ本体に対して計量体がスライドする向きに沿ってスライドするように計量体に保持される操作体と、計量空間と空気室とを通じさせる通気口と、を備える吐出容器も知られている(特許文献2参照)。
【先行技術文献】
【特許文献】
【0004】
特開2013-139291号公報
特開2022-072196号公報
【発明の概要】
【発明が解決しようとする課題】
【0005】
しかしながら、特許文献1記載の定量繰り出し携帯容器は、内容物を定量排出するのみで、連続排出することができないという問題があった。
また、特許文献2記載の吐出容器は、吐出口の真下付近へまとまって排出させたり、空気圧により広い範囲に拡散するように排出させたりすることが可能であるが、特許文献1記載の携帯容器と同様に、連続排出することができないという問題があった。
【0006】
本発明は、上記問題を解決することを課題とし、操作部を操作することにより、定量排出と連続排出とを切り替える排出容器を提供することを目的とする。
【課題を解決するための手段】
【0007】
本発明は、上記の課題を解決するため、排出容器として、内容物を収容し、上部に連通口が開口する収容部と、連通口から流入する内容物を計量し、上部から排出する計量部が形成された計量スライドと、計量部の排出側を閉鎖する閉鎖部が形成され、計量スライドを収容部の上部に沿って移動可能に格納するケースとからなる排出容器であって、計量スライドは、計量部を連通口に対向させるとともに、排出側を閉鎖部に対向させる中立位置に付勢する付勢部と、計量部を中立位置から一方向または逆方向に移動可能な操作部とを備え、計量スライドは、容器を倒立させ、収容部から計量部に内容物が流入後、操作部を付勢部に抗して一方向に操作すると、計量部を連通口と連通して連続排出し、また、操作部を逆方向に操作すると、計量部を連通口から遮断して定量排出することを特徴とする構成を採用する。
【0008】
排出容器のケースの具体的実施形態として、ケースは、定量排出時に、収容部の連通口と計量部との連通を遮断する遮断部を備えることを特徴とする構成を採用する。
【0009】
排出容器の他の具体的実施形態として、計量スライドは、ケースに軸支される軸部と、軸部を中心に揺動可能な揺動底壁と、揺動底壁上に形成された計量部の両側に設けられた一方向操作部および逆方向操作部とを備えることを特徴とする構成を採用し、また、計量スライドは、揺動底壁の軸部側からケース側に向けて延び、揺動底壁を中立位置に復帰させるように付勢する弾性変形可能な付勢部を備えることを特徴とする構成を採用する。
【発明の効果】
【0010】
本発明の排出容器は、上記構成を採用することにより、容器を倒立させて、操作部を一方向へ操作するか、または逆方向へ操作するだけで、内容物の定量排出と連続排出とを簡単に切り替えることができる。
また、本発明の排出容器は、付勢部を含め全ての部材を合成樹脂製とすることができる。
【図面の簡単な説明】
(【0011】以降は省略されています)
この特許をJ-PlatPat(特許庁公式サイト)で参照する
関連特許
株式会社吉野工業所
蓋体
11日前
株式会社吉野工業所
吐出器
6日前
株式会社吉野工業所
吐出器
1か月前
株式会社吉野工業所
吐出器
11日前
株式会社吉野工業所
塗布容器
1か月前
株式会社吉野工業所
塗布容器
1か月前
株式会社吉野工業所
歯ブラシ
11日前
株式会社吉野工業所
吐出容器
1か月前
株式会社吉野工業所
二重容器
1か月前
株式会社吉野工業所
塗布容器
1か月前
株式会社吉野工業所
吐出容器
6日前
株式会社吉野工業所
繰出容器
6日前
株式会社吉野工業所
吐出容器
6日前
株式会社吉野工業所
吐出容器
2か月前
株式会社吉野工業所
繰出容器
2か月前
株式会社吉野工業所
ノズル部材
6日前
株式会社吉野工業所
吐出ポンプ
1か月前
株式会社吉野工業所
化粧用容器
1か月前
株式会社吉野工業所
吐出キャップ
7日前
株式会社吉野工業所
スポイト容器
11日前
株式会社吉野工業所
ねじキャップ
6日前
株式会社吉野工業所
繰り出し容器
2か月前
株式会社吉野工業所
計量注出容器
11日前
株式会社吉野工業所
パウダー容器
6日前
株式会社吉野工業所
スパウト容器
11日前
株式会社吉野工業所
スポイト容器
1か月前
株式会社吉野工業所
計量注出容器
6日前
株式会社吉野工業所
計量注出容器
12日前
株式会社吉野工業所
削り出し容器
1か月前
株式会社吉野工業所
ポンプ式吐出器
1か月前
株式会社吉野工業所
合成樹脂製壜体
1か月前
株式会社吉野工業所
ポンプ式吐出器
1か月前
株式会社吉野工業所
把手付きボトル
1か月前
株式会社吉野工業所
合成樹脂製容器
6日前
株式会社吉野工業所
ポンプ式吐出器
1か月前
株式会社吉野工業所
コンパクト容器
1か月前
続きを見る
他の特許を見る