TOP
|
特許
|
意匠
|
商標
特許ウォッチ
Twitter
他の特許を見る
公開番号
2025060319
公報種別
公開特許公報(A)
公開日
2025-04-10
出願番号
2023170993
出願日
2023-09-30
発明の名称
木材精密加工用ジグ
出願人
個人
代理人
個人
主分類
B27B
21/08 20060101AFI20250403BHJP(木材または類似の材料の加工または保存;釘打ち機またはステープル打ち機一般)
要約
【課題】高い精度が求められる工作物の切断加工に使用するジグを提供する。
【解決手段】 加工される木材36を乗せる基台12と、 この基台12の上面に立てた2本の支柱14と、2本の支柱14に対して一方の面を密着させ、他方の面に基準面17を有する基準プレート16と、基準プレート16を弾力により2本の支柱14に押しつけて位置決めする弾力機構を備える。基準面17は、基台12の上面に垂直な面とされ、ノコギリの平坦な側面を吸着するマグネットが埋め込まれている。 基準面17にはさらに、ノコギリの上縁の上方への移動を制限するスペーサ26が配置されている。基準面17とスペーサ26を挟んでノコギリのノコ身の部分の移動スペースを形成する背板を備える。
【選択図】図1
特許請求の範囲
【請求項1】
加工される木材を乗せる基台と、
この基台の上面に立てた2本の支柱と、
2本の支柱に対して一方の面を密着させ、他方の面に基準面を有する基準プレートと、
基準プレートを弾力により2本の支柱に押しつけて位置決めする弾力機構を備え、
基準面は、基台の上面に垂直な面とされ、ノコギリの平坦な側面を吸着するマグネットが埋め込まれており、
基準面にはさらに、ノコギリの上縁の上方への移動を制限するスペーサが配置され、
基準面とスペーサを挟んでノコギリのノコ身の部分の移動スペースを形成する背板を備えたことを特徴とする木材の精密加工用ジグ。
続きを表示(約 200 文字)
【請求項2】
2本の支柱を基準プレートとクランプ板とで挟むように、クランプ板が配置されており、クランプ板を貫通する2本のクランプピン先端が、基準プレートに直接あるいは基準プレートの補強板を介して固定され、クランプピンにはスプリングがはめ込まれており、この構造の弾力機構は、基準プレートの上記一方の面を支柱に押しつけるように弾力を付与することを特徴とする請求項1に記載の木材の精密加工用ジグ。
発明の詳細な説明
【技術分野】
【0001】
本発明は、木材をノコギリを用いて設定した角度で正確に切断できる木材精密加工用ジグに関する。
続きを表示(約 1,900 文字)
【背景技術】
【0002】
木材を、設計図面に従って精密に加工する自動装置は広く普及している。しかしながら、手作りの家具や装飾品の加工には、大規模な高価な自動装置は適さない。例えば、木材をその表面に垂直な面で切断するには、特許文献1に記載されたような衝立状のジグが使用される。このほかに、特許文献2では、ノコギリをスリットの間に挟んで保持するようなノコギリカットジグも紹介されている。。
【先行技術文献】
【特許文献】
【0003】
特開2015-176098号公報
実用新案登録第3222994号公報
【発明の概要】
【発明が解決しようとする課題】
【0004】
例えば、図8に示すような厚さが数センチメートルのブロックを組み合わせた手工芸品を制作するような場合がある。各ブロックの切断面の平坦度と平行度が保たれるように高精度に切断されていなければ、各ブロックの接合部分が密着しない。例えば、部分的に0.1ミリメートルの隙間が生じても、求める形状に組み立てることができない。その平坦度(傾斜の程度)は、1cmあたり0.01mm以下が求められる。こうした細工には高度な技術を持つ熟練工が携わる。切断面がわずかに傾斜してしまった場合にはその面を研磨して平坦化しながら傾斜を修正することになるが、これにも高度な熟練が必要で、多くの作業時間をついやす。本発明は以上の点に着目してなされたもので、高度な熟練を要することなく、高い精度で木材を設定した角度で切断する場合に使用する、木材精密加工用ジグを提供することを目的とする。
【課題を解決するための手段】
【0005】
以下の構成はそれぞれ上記の課題を解決するための手段である。
【0006】
<構成1>
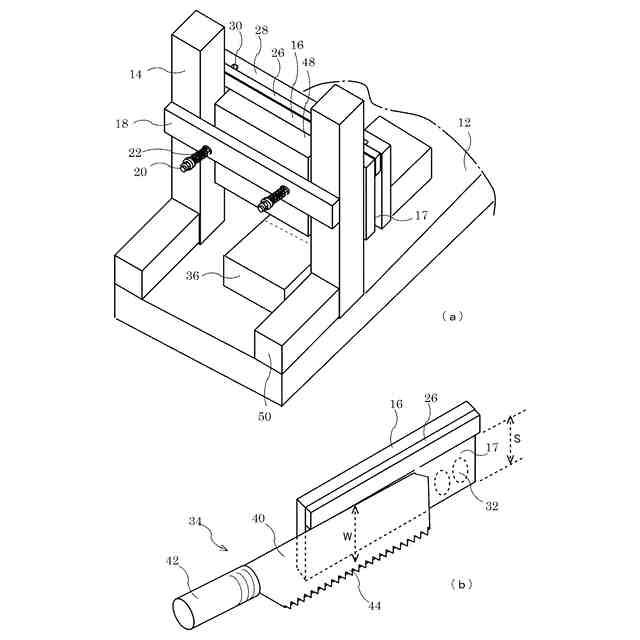
加工される木材36を乗せる基台12と、
この基台12の上面に立てた2本の支柱14と、
2本の支柱14に対して一方の面を密着させ、他方の面に基準面17を有する基準プレート16と、
基準プレート16を弾力により2本の支柱14に押しつけて位置決めする弾力機構を備え、
基準面17は、基台12の上面に垂直な面とされ、ノコギリの平坦な側面を吸着するマグネットが埋め込まれており、
基準面17にはさらに、ノコギリの上縁の上方への移動を制限するスペーサ26が配置され、
基準面17とスペーサ26を挟んでノコギリのノコ身の部分の移動スペースを形成する背板を備えたことを特徴とする木材の精密加工用ジグ。
【0007】
<構成2>
2本の支柱を基準プレート16とクランプ板18とで挟むように、クランプ板18が配置されており、クランプ板18を貫通する2本のクランプピン20の先端が基準プレート16に直接あるいは補強板48を介して固定され、クランプピン20にはスプリング22がはめ込まれており、この構造の弾力機構は、基準プレート16を支柱14に押しつけるように弾力を付与することを特徴とする構成1に記載の木材の精密加工用ジグ。
【発明の効果】
【0008】
本発明の木材精密加工用ジグによれば、熟練工でなくても、ノコギリによる切断面の傾きの精度を、切断開始から切断終了まで、要求され精度以下に押さえることができ、しかも、ノコギリの刃渡り部分を木材の上面に平行に維持したまま切断ができ、ノコ身の横ブレが生じないから、木材の角の部分に欠けを生じない。従って、切断後の切断面の平坦化作業も容易で作業時間を大幅に短縮できる。
【図面の簡単な説明】
【0009】
(a)は本発明の木材精密加工用ジグの斜視図で、(b)は基準プレート16とノコギリ34との関係を示す斜視図である。
本発明の木材精密加工用ジグの主要部分解斜視図である。
ノコギリ34で木材36を切断するところを示す側面図である。
本発明の木材精密加工用ジグとノコ身40との関係を示す上面図である。
本発明の木材精密加工用ジグとノコ身40との関係を示す側面図である。
ノコギリ34を使用して高い精度の切断をするときの説明図である。
本発明の木材精密加工用ジグの追加機能を示す正面図である。
高精度の加工を要する木工製品の平面図である。
【発明を実施するための形態】
【0010】
以下、本発明の実施の形態を実施例毎に詳細に説明する。
【実施例】
(【0011】以降は省略されています)
この特許をJ-PlatPat(特許庁公式サイト)で参照する
関連特許
個人
鋸
2か月前
個人
木材精密加工用ジグ
8か月前
個人
貼付装置及び貼付方法
6か月前
丸大株式会社
竹粉製造装置
8か月前
個人
電動ボードカッターのブレード
3か月前
個人
跳ね上げ式ガイドクランプ
6か月前
株式会社 川上製作所
木材の連結構造
2か月前
コニシ株式会社
集成材の製造方法
3か月前
株式会社岡田金属工業所
ブレード
7か月前
株式会社ノダ
木削薄片板および床材
10か月前
NKE株式会社
トリマー治具
6か月前
工機ホールディングス株式会社
作業機
10か月前
宮川工機株式会社
プレカット加工装置
12か月前
大建工業株式会社
焼杉風化粧板とその製造方法
8か月前
清水建設株式会社
ビス打ち装置
8か月前
トヨタ自動車株式会社
木粉の熱圧縮成形方法
10か月前
清水建設株式会社
自動ビス打ち機
8か月前
株式会社大林組
ドリルおよびドリル装置
2日前
マックス株式会社
リフィル
12か月前
株式会社大林組
木質板材の加工方法
9か月前
トヨタエンジニアリング有限会社
竹割機
6か月前
株式会社大林組
ドリル装置
1か月前
有限会社太悦鉄工
ヤニ取り装置および木材切断用鋸盤
4か月前
トヨタエンジニアリング有限会社
竹割機
5か月前
株式会社マキタ
携帯用切断機
5か月前
セイコーエプソン株式会社
シート製造装置
10日前
マックス株式会社
ステープラ
10か月前
マックス株式会社
ステープラ
12か月前
マックス株式会社
ステープラ
10か月前
株式会社マキタ
ソーチェーン
2か月前
清水建設株式会社
防火積層体及びその製造方法
1か月前
大建工業株式会社
人工突板の製造方法
8か月前
トヨタT&S建設株式会社
桂剥き装置
7か月前
株式会社マキタ
木工用携帯用切削機
5か月前
株式会社竹中工務店
集成材の製造方法
5か月前
トヨタ紡織株式会社
樹脂成形品の製造方法
11か月前
続きを見る
他の特許を見る