TOP
|
特許
|
意匠
|
商標
特許ウォッチ
Twitter
他の特許を見る
公開番号
2025051140
公報種別
公開特許公報(A)
公開日
2025-04-04
出願番号
2023160089
出願日
2023-09-25
発明の名称
ビス打ち装置
出願人
清水建設株式会社
代理人
個人
,
個人
,
個人
主分類
B27F
7/02 20060101AFI20250328BHJP(木材または類似の材料の加工または保存;釘打ち機またはステープル打ち機一般)
要約
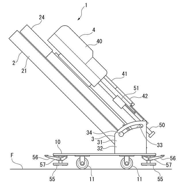
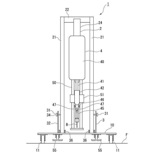
【課題】作業者の負担を軽減することができるビス打ち装置を提供する。
【解決手段】ビス打ち装置1は、ビス打ち機構1と、ビス打ち機構1を上下方向に昇降する昇降機構2と、を備え、ビス打ち機構1は、ビスBを保持及び開放可能なビス保持部45と、ビス保持部45がビスBを保持する保持状態とビスBを開放する開放状態とに切り替えるガイド部42と、ビスBを打ち込み面Fに打ち込むビス打ち部40と、ビス打ち部40がビスBを打ち込んだ際の反力に抗するスパイク部55と、を有する。
【選択図】図2
特許請求の範囲
【請求項1】
ビス打ち機構と、
前記ビス打ち機構を上下方向に昇降する昇降機構と、を備え、
前記ビス打ち機構は、
ビスを保持及び開放可能なビス保持部と、
前記ビス保持部が前記ビスを保持する保持状態と前記ビスを開放する開放状態とに切り替えるガイド部と、
前記ビスを打ち込み面に打ち込むビス打ち部と、
前記ビス打ち部が前記ビスを打ち込んだ際の反力に抗するスパイク部と、を有するビス打ち装置。
続きを表示(約 190 文字)
【請求項2】
前記スパイク部は、前記打ち込み面に沿って配置される請求項1に記載のビス打ち装置。
【請求項3】
操作部に足で荷重をかけることによって、前記スパイク部は前記打ち込み面に接地可能である請求項1または2に記載のビス打ち装置。
【請求項4】
前記ビス打ち機構の角度を調整する角度調整機構を備える請求項1または2に記載のビス打ち装置。
発明の詳細な説明
【技術分野】
【0001】
本発明は、ビス打ち装置に関するものである。
続きを表示(約 1,100 文字)
【背景技術】
【0002】
従来から、木製床版どうしの接合や、木製床版と木製梁との接合は、ビス打ちによって行われていることがある(下記の特許文献1参照)。作業者が、一方の手でビスを保持しながら、もう一方の手で電動工具によってビスを打込む作業を行っている。
【先行技術文献】
【特許文献】
【0003】
特開平6-182709号公報
【発明の概要】
【発明が解決しようとする課題】
【0004】
自動装てん型電動工具では、ビスが連続して並べられたテープ状になっているが、ビスの長さや太さには制限があり、長尺や太径のビスには対応していない。また、電動工具による振動や反トルクを保持するため、作業者の腕や手に過大な負荷がかかるという問題点がある。長さ135mm以上やφ6mm以上のような長尺ビスにも対応できる自動ビス打ち装置が求められている。
【0005】
そこで、本発明は、上記事情に鑑みてなされたものであり、作業者の負担を軽減することができるビス打ち装置を提供する。
【課題を解決するための手段】
【0006】
上記目的を達成するために、本発明は以下の手段を採用している。
すなわち、本発明に係るビス打ち装置は、ビスを設置面に打ち込むビス打ち機構と、前記ビス打ち機構を上下方向に昇降する昇降機構と、を備え、前記ビス打ち機構は、ビスを保持及び開放可能なビス保持部と、前記ビス保持部が前記ビスを保持する保持状態と前記ビスを開放する開放状態とに切り替えるガイド部と、前記ビスを打ち込み面に打ち込むビス打ち部と、前記ビス打ち部が前記ビスを打ち込んだ際の反力に抗するスパイク部と、を有する。
【0007】
このように構成されたビス打ち装置では、昇降機構は、ビス打ち機構のビス打ち部を上下方向の所定の位置に配置する。ビスを打ち込む際に生じる反力は、スパイク部で抗する。よって、ビス打ちの際の衝撃をスパイク部で吸収するため、作業者の腕や手等に生じる負担を軽減することができる。
【0008】
また、本発明に係るビス打ち装置では、前記スパイク部は、前記打ち込み面に沿って配置されてもよい。
【0009】
このように構成されたビス打ち装置では、スパイク部を打ち込み面に沿って配置すれば反力に抗することができるため、スパイク部を容易に設置することができる。
【0010】
また、本発明に係るビス打ち装置では、操作部に足で荷重をかけることによって、前記スパイク部は前記打ち込み面に接地可能であってもよい。
(【0011】以降は省略されています)
この特許をJ-PlatPat(特許庁公式サイト)で参照する
関連特許
清水建設株式会社
建築構造
19日前
清水建設株式会社
化粧カバー
1か月前
清水建設株式会社
鉄筋把持装置
1か月前
清水建設株式会社
水制御システム
24日前
清水建設株式会社
枠体および壁体
3日前
清水建設株式会社
製炭炉、製炭方法
1か月前
清水建設株式会社
遮水層の構築方法
23日前
清水建設株式会社
床吹き出し空調装置
23日前
清水建設株式会社
免震装置の基礎構造
24日前
清水建設株式会社
ボルトによる接合構造
1か月前
清水建設株式会社
遮水層構築の降雨対策方法
3日前
清水建設株式会社
防火積層体及びその製造方法
9日前
清水建設株式会社
建築部材および空調システム
1か月前
清水建設株式会社
接合構造及び接合構造の改修方法
10日前
清水建設株式会社
変位計測装置および変位計測方法
19日前
清水建設株式会社
制振装置およびこれを備えた建物
3日前
清水建設株式会社
中間階免震建物の免震層の構築方法
24日前
清水建設株式会社
ケーソンの施工方法および施工補助装置
1か月前
清水建設株式会社
桁と床版との接合構造、及び桁と床版との接合方法
3日前
清水建設株式会社
金属造形物の造形装置および金属造形物の造形方法
25日前
清水建設株式会社
鉄筋の放射線漏洩線量減少率評価方法及び解析装置
1か月前
清水建設株式会社
施工時CO2排出量の推定方法および推定システム
1か月前
清水建設株式会社
地形計測装置、地形計測システム、及び地形計測方法
1か月前
清水建設株式会社
作業架台の支持構造及びコンクリート構造物の施工方法
3日前
清水建設株式会社
土壌資材、土壌資材の設計方法および土壌資材の製造方法
1か月前
岡部株式会社
スタッド溶接用治具及びスタッド溶接方法
3日前
清水建設株式会社
鉄筋の突合わせ接合構造及び鉄筋接続用スリーブの圧縮装置
1か月前
清水建設株式会社
陰イオン吸着体、陰イオン吸着体の製造方法、陰イオン吸着方法
1か月前
清水建設株式会社
情報処理装置、情報処理システム、情報処理方法、および、プログラム
24日前
清水建設株式会社
ジオポリマー、ジオポリマーの固化物、ジオポリマーの製造方法、放射性廃棄物の処理方法
1か月前
株式会社神戸製鋼所
ジオポリマー組成物、ジオポリマー硬化体およびジオポリマー硬化体の製造方法
23日前
株式会社神戸製鋼所
ジオポリマー組成物、ジオポリマー硬化体およびジオポリマー硬化体の製造方法
23日前
個人
薪割り台
11か月前
個人
鋸
1か月前
個人
木材精密加工用ジグ
6か月前
個人
貼付装置及び貼付方法
5か月前
続きを見る
他の特許を見る