TOP
|
特許
|
意匠
|
商標
特許ウォッチ
Twitter
他の特許を見る
10個以上の画像は省略されています。
公開番号
2025177642
公報種別
公開特許公報(A)
公開日
2025-12-05
出願番号
2024084668
出願日
2024-05-24
発明の名称
調光シート
出願人
TOPPANホールディングス株式会社
代理人
個人
,
個人
主分類
G02F
1/13 20060101AFI20251128BHJP(光学)
要約
【課題】調光領域のコーナー部を起点とした剥離の発生を抑制可能とした調光シートを提供する。
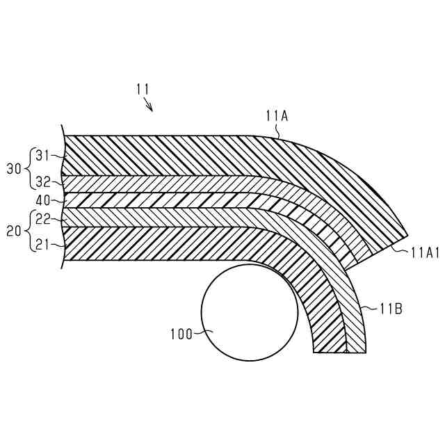
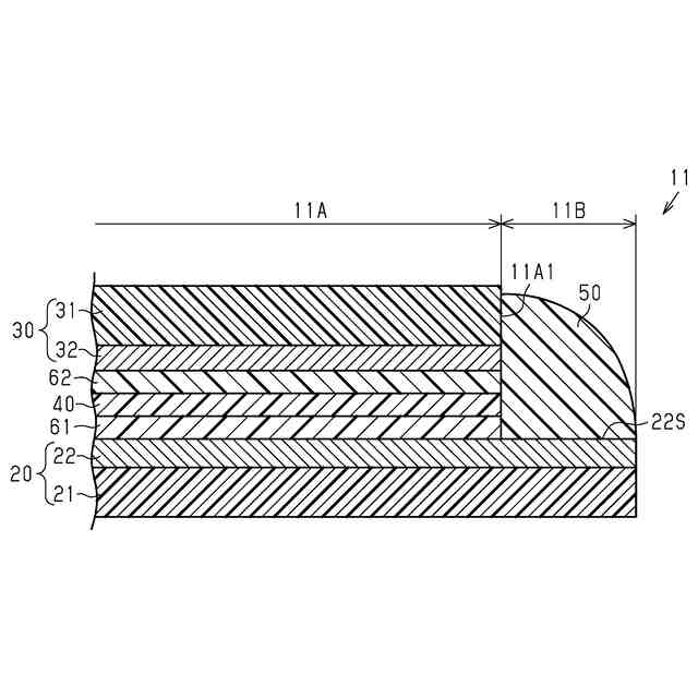
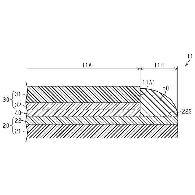
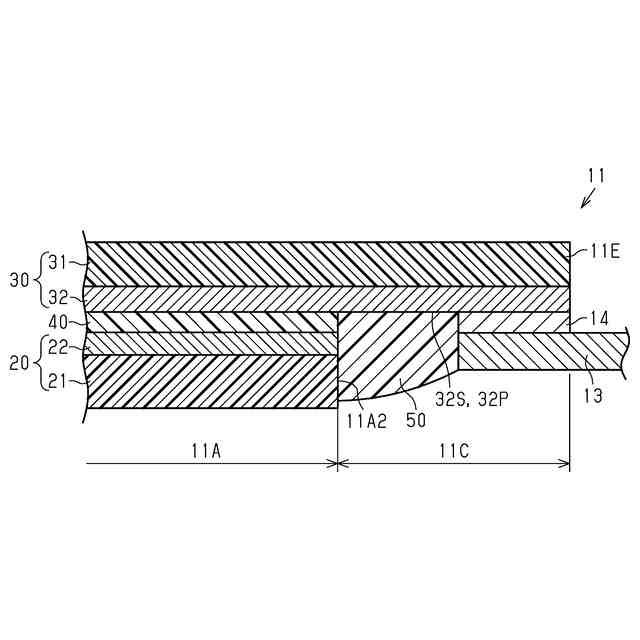
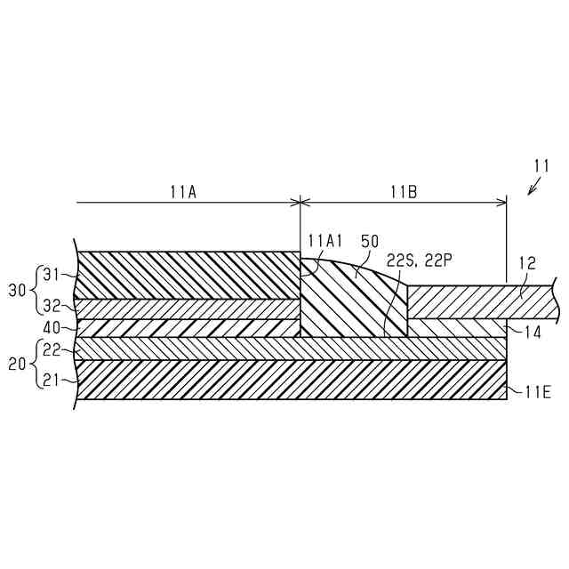
【解決手段】調光シート11は、第1透明電極層を備える第1電極シート20、第2透明電極層を備える第2電極シート30、及び、第1透明電極層と第2透明電極層との間に位置する調光層を備える。調光シート11は、調光層が第1電極シート20と第2電極シート30とに挟まれている調光領域11Aと、第1電極シート20が調光層及び第2電極シート30から露出する第1非調光領域11Bと、を備える。調光領域11Aは、第1非調光領域11Bとの境界に位置する第1調光端面11A1を備える。第1調光端面11A1は、調光シート11が広がる平面と対向する視点から見て、第1方向に延びる第1面11S1、第2方向に延びる第2面11S2、及び、第1面11S1と第2面11S2と
を3
mm以上の曲率半径を有する曲線で繋ぐ第3面11S3を備える。
【選択図】図6
特許請求の範囲
【請求項1】
第1透明電極層を備える第1電極シート、第2透明電極層を備える第2電極シート、及び、前記第1透明電極層と前記第2透明電極層との間に位置する調光層を備える調光シートであって、
前記調光層が前記第1電極シートと前記第2電極シートとに挟まれている調光領域と、
前記第1電極シートが前記調光層及び前記第2電極シートから露出する非調光領域と、を備え、
前記調光領域は、前記非調光領域との境界に位置する端面を備え、
前記端面は、前記調光シートが広がる平面と対向する視点から見て、第1方向に延びる第1面、前記第1方向に交差する第2方向に延びる第2面、及び、前記第1面と前記第2面とを曲線状に繋ぐ第3面を備え、
前記第3面は、前記視点から見て、0.3mm以上の曲率半径を有する
調光シート。
続きを表示(約 800 文字)
【請求項2】
前記第3面は、前記視点から見て、50mm以下の曲率半径を有する
請求項1に記載の調光シート。
【請求項3】
前記調光層に接する層と前記調光層との間において、JIS Z-0237:2022に準じた測定による180°方向における剥離強度が8N/25mm未満である
請求項1に記載の調光シート。
【請求項4】
前記調光層は、複数の空隙を備える有機高分子層と、前記空隙に充填される液晶組成物と、黒色を呈するスペーサと、を備え、
前記有機高分子層は、光重合性化合物の硬化体であり、
前記液晶組成物は、液晶化合物と、二色性色素と、を含み、
前記調光層は、前記第1透明電極層と前記第2透明電極層との間の電位差の変化に応じて前記液晶化合物及び前記二色性色素の配向が変わり、これによって黒色の不透明状態から透明状態に切り替わり、
前記二色性色素は、前記不透明状態において黒色を呈する
請求項1に記載の調光シート。
【請求項5】
前記調光層は、複数の空隙を備える有機高分子層と、前記空隙に充填される液晶組成物と、を備え、
前記第1透明電極層と前記調光層とに挟まれた第1配向層と、
前記第2透明電極層と前記調光層とに挟まれた第2配向層と、をさらに備え、
前記調光領域では、前記調光層を挟む前記第1配向層と前記第2配向層とが、前記第1電極シートと前記第2電極シートとに挟まれており、
前記非調光領域では、前記第1電極シートが、前記第1配向層、前記調光層、前記第2配向層、及び、前記第2電極シートから露出する
請求項1に記載の調光シート。
【請求項6】
前記非調光領域には、前記端面を覆う封止材が設けられる
請求項1に記載の調光シート。
発明の詳細な説明
【技術分野】
【0001】
本開示は、調光シートに関する。
続きを表示(約 1,600 文字)
【背景技術】
【0002】
調光シートは、一対の電極シートと、一対の電極シートの間に位置する調光層とを備える。各電極シートは、絶縁性の透明基材と、導電性の透明電極層とを備える。調光層は、一対の透明電極層の間に位置する。
【0003】
調光層は、一例として、液晶分子を有する液晶組成物を含む。液晶分子は、一対の透明電極層間に電位差が生じていない状態と、一対の透明電極層間に電位差が生じている状態との間で互いに異なる配向状態を示す。調光シートは、一対の透明電極層間に電圧が印加されることで、液晶分子の配向状態に応じて光透過率を変える。
【0004】
調光シートは、調光層が一対の電極シートに挟まれている調光領域と、一方の電極シートが調光層及び他方の電極シートから露出する非調光領域と、を備える。非調光領域は、調光領域の外周を囲むように配置される。非調光領域には、調光領域の端面に位置する調光層を覆うように封止材が設けられる(例えば、特許文献1を参照)。
【先行技術文献】
【特許文献】
【0005】
特開2023-070962号公報
【発明の概要】
【発明が解決しようとする課題】
【0006】
調光領域の端面が構成するコーナー部において、2辺が交わる角部を形成した場合、当該角部には応力が集中し易い。また、当該角部では調光シートを構成する層同士の接着に寄与する面積が小さい。そのため、調光領域の角部に位置する調光層を起点とした剥離が発生し易くなる。
【課題を解決するための手段】
【0007】
上記課題を解決するための調光シートは、第1透明電極層を備える第1電極シート、第2透明電極層を備える第2電極シート、及び、前記第1透明電極層と前記第2透明電極層との間に位置する調光層を備える調光シートであって、前記調光層が前記第1電極シートと前記第2電極シートとに挟まれている調光領域と、前記第1電極シートが前記調光層及び前記第2電極シートから露出する非調光領域と、を備え、前記調光領域は、前記非調光領域との境界に位置する端面を備え、前記端面は、前記調光シートが広がる平面と対向する視点から見て、第1方向に延びる第1面、前記第1方向に交差する第2方向に延びる第2面、及び、前記第1面と前記第2面とを曲線状に繋ぐ第3面を備え、前記第3面は、前記視点から見て、0.3mm以上の曲率半径を有する。
【0008】
上記構成によれば、第1面と第2面とを曲線状の第3面によって繋ぐことで、第1面と第2面とが交わる角部を形成した場合と比較して、第1面と第2面との接続部分を起点とした剥離の発生を抑制できる。また、第3面が0.3mm以上の曲率半径を有することで、上記の効果が好適に発現するように、第3面の形状を高い精度で加工できる。
【0009】
上記調光シートにおいて、前記第3面は、前記視点から見て、50mm以下の曲率半径を有してもよい。第3面の半径が過剰に大きくなると、調光領域よりも外側に位置する非調光領域が矩形状の窓サッシなどからはみ出し易くなる。この点、第3面の曲率半径を50mm以下とすることで、矩形状の窓サッシなどから非調光領域がはみ出すことを抑制できる。
【0010】
上記調光シートにおいて、前記調光層に接する層と前記調光層との間において、JIS Z-0237:2022に準じた測定による180°方向における剥離強度が8N/25mm未満であってもよい。上記構成によれば、例えば、第1電極シートと調光層と第2電極シートとが積層された積層体に非調光領域を形成する際に、ハーフカットされた第2電極シートと調光層とを第1電極シートから容易に剥離できる。
(【0011】以降は省略されています)
この特許をJ-PlatPat(特許庁公式サイト)で参照する
関連特許
株式会社シグマ
結像光学系
1か月前
アイカ工業株式会社
反射防止フィルム
5日前
豊田合成株式会社
調光装置
18日前
株式会社コシナ
投射ズームレンズ
24日前
日東電工株式会社
導光部材
1か月前
日東電工株式会社
光学積層体
1か月前
日本精機株式会社
ヘッドアップディスプレイ
1か月前
日本精機株式会社
ヘッドアップディスプレイ
1か月前
キヤノン株式会社
表示装置
10日前
キヤノン株式会社
表示装置
3日前
日本精機株式会社
ヘッドアップディスプレイ装置
1か月前
京セラ株式会社
アイソレータ
10日前
マクセル株式会社
映像表示装置
24日前
日本精機株式会社
ヘッドアップディスプレイ装置
1か月前
古河電気工業株式会社
光ファイバケーブル
3日前
古河電気工業株式会社
光ファイバケーブル
3日前
住友化学株式会社
複合偏光板
3日前
株式会社リコー
光走査装置及び画像形成装置
1か月前
株式会社タムロン
ズームレンズ及び撮像装置
3日前
古河電気工業株式会社
融着機、ピッチ変換部材
3日前
住友ベークライト株式会社
光学部品の製造方法
3日前
レーザーテック株式会社
光学装置及び調整方法
1か月前
マクセル株式会社
空中浮遊映像表示装置
18日前
株式会社小糸製作所
画像投影装置
18日前
日東電工株式会社
光学積層体
3日前
日東電工株式会社
光学積層体
3日前
株式会社小糸製作所
画像生成装置
12日前
株式会社小糸製作所
画像生成装置
26日前
株式会社小糸製作所
画像表示装置
26日前
マクセル株式会社
空中浮遊映像表示装置
1か月前
日東電工株式会社
光学積層体
3日前
キヤノン株式会社
光学系および撮像装置
18日前
個人
レーザポインタおよびレーザポインタの装着方法
1か月前
吉祥園株式会社
近くの物体を遠くに鏡像させて見る光学器具
4日前
キヤノン株式会社
走査光学装置及び画像形成装置
12日前
パナソニックIPマネジメント株式会社
撮像装置
1か月前
続きを見る
他の特許を見る