TOP
|
特許
|
意匠
|
商標
特許ウォッチ
Twitter
他の特許を見る
10個以上の画像は省略されています。
公開番号
2025166424
公報種別
公開特許公報(A)
公開日
2025-11-06
出願番号
2024070460
出願日
2024-04-24
発明の名称
撮像装置
出願人
パナソニックIPマネジメント株式会社
代理人
個人
,
個人
主分類
G02B
7/08 20210101AFI20251029BHJP(光学)
要約
【課題】焦点距離を速く且つより正確に変更可能とする撮像装置を提供すること。
【解決手段】撮像装置は、ズームレンズを含む交換レンズを介した被写体を撮像して画像データを生成する撮像素子と、ズームレンズを光軸方向に移動させる操作リングに装着された駆動装置に対して、駆動方向および駆動量を示すコマンドを送信する制御部と、を備え、制御部は、コマンドを送信して駆動装置を駆動させることで、駆動装置の駆動方向および駆動量と、交換レンズの焦点距離との相関関係を示すキャリブレーション情報を取得する。
【選択図】図1
特許請求の範囲
【請求項1】
ズームレンズを含む交換レンズを介した被写体を撮像して画像データを生成する撮像素子と、
前記ズームレンズを光軸方向に移動させる操作リングに装着された駆動装置に対して、駆動方向および駆動量を示すコマンドを送信する制御部と、を備え、
前記制御部は、
前記コマンドを送信して前記駆動装置を駆動させることで、前記駆動装置の駆動方向および駆動量と、前記交換レンズの焦点距離との相関関係を示すキャリブレーション情報を取得する、
撮像装置。
続きを表示(約 1,400 文字)
【請求項2】
前記制御部は、
前記交換レンズの現在の焦点距離を示す現在焦点距離と、目標の焦点距離を示す目標焦点距離とを取得し、
前記目標焦点距離と前記現在焦点距離と前記キャリブレーション情報とに基づいて、前記駆動装置の駆動量を決定し、
決定した駆動量を含む前記コマンドを前記駆動装置に送信する、請求項1に記載の撮像装置。
【請求項3】
前記制御部は、前記キャリブレーション情報を取得する際に、
前記駆動装置を第1駆動方向へ駆動させて、前記第1駆動方向への駆動量と、前記交換レンズの焦点距離との相関関係を示す第1キャリブレーション情報を取得し、
前記駆動装置を第2駆動方向へ駆動させて、前記第2駆動方向への駆動量と、前記交換レンズの焦点距離との相関関係を示す第2キャリブレーション情報を取得する、請求項1に記載の撮像装置。
【請求項4】
前記制御部は、
前記交換レンズの現在の焦点距離を示す現在焦点距離と、目標の焦点距離を示す目標焦点距離とを取得し、
前記現在焦点距離から前記目標焦点距離への移動が、前記駆動装置の前記第1駆動方向への駆動に対応する場合は、前記目標焦点距離と前記現在焦点距離と前記第1キャリブレーション情報に基づいて、前記駆動装置の駆動量を決定し、
前記現在焦点距離から前記目標焦点距離への移動が、前記駆動装置の前記第2駆動方向への駆動に対応する場合は、前記目標焦点距離と前記現在焦点距離と前記第2キャリブレーション情報に基づいて、前記駆動装置の駆動量を決定し、
決定した駆動量を含む前記コマンドを前記駆動装置に送信する、請求項3に記載の撮像装置。
【請求項5】
前記制御部は、前記キャリブレーション情報を取得する際に、
前記駆動装置を駆動する間に前記交換レンズから現在の焦点距離である現在焦点距離を取得し、取得した前記現在焦点距離と、対応する前記駆動装置の駆動位置とを紐づけて、前記キャリブレーション情報として取得する、請求項1に記載の撮像装置。
【請求項6】
前記制御部は、
前記交換レンズの識別情報とともに前記キャリブレーション情報を記憶し、
交換レンズが装着された時に、前記交換レンズの識別情報に対応する前記キャリブレーション情報を既に記憶しているか否かを判断し、
前記交換レンズの識別情報に対応する前記キャリブレーション情報を既に記憶している場合に、当該キャリブレーション情報に基づいて、前記駆動装置の駆動量を決定可能とする、請求項1に記載の撮像装置。
【請求項7】
ズームレンズを含む交換レンズを介した被写体を撮像して画像データを生成する撮像素子と、
前記ズームレンズを光軸方向に移動させる操作リングに装着された駆動装置に対して、駆動方向および駆動量を示すコマンドを送信する制御部と、を備え、
前記制御部は、前記交換レンズ毎の前記駆動装置の駆動に関するキャリブレーション情報を取得するためのキャリブレーション動作に関わる情報を表示部に表示させる、撮像装置。
【請求項8】
前記制御部は、前記キャリブレーション動作に関わる情報として、前記キャリブレーション動作の実行要否を選択可能とする情報を前記表示部に表示させる、請求項7に記載の撮像装置。
発明の詳細な説明
【技術分野】
【0001】
本開示は、撮像装置に関する。
続きを表示(約 1,700 文字)
【背景技術】
【0002】
従来より、交換レンズに設けられた操作リングに外付けの駆動装置を接続し、駆動装置を用いて操作リングを回転させてズームレンズを光軸方向に移動させることで、遠隔ズーム操作を実行可能とする撮像装置が知られている(例えば、特許文献1参照)。
【先行技術文献】
【特許文献】
【0003】
特開第2023-165629号公報
【発明の概要】
【発明が解決しようとする課題】
【0004】
しかしながら、遠隔ズーム操作を実行する際に、駆動装置のオーバーランを防ぐためには駆動装置の駆動速度を制限する必要があり、焦点距離の変更に時間がかかる場合があった。交換レンズの焦点距離を速く、且つより正確に変更することに関して改善の余地があるといえる。
【0005】
本開示は、交換レンズの焦点距離を速く且つより正確に変更することが可能となる撮像装置を提供することを目的とする。
【課題を解決するための手段】
【0006】
本開示にかかる撮像装置は、ズームレンズを含む交換レンズを介した被写体を撮像して画像データを生成する撮像素子と、前記ズームレンズを光軸方向に移動させる操作リングに装着された駆動装置に対して、駆動方向および駆動量を示すコマンドを送信する制御部と、を備え、前記制御部は、前記コマンドを送信して前記駆動装置を駆動させることで、前記駆動装置の駆動方向および駆動量と、前記交換レンズの焦点距離との相関関係を示すキャリブレーション情報を取得する。
【0007】
本開示にかかる撮像装置は、ズームレンズを含む交換レンズを介した被写体を撮像して画像データを生成する撮像素子と、前記ズームレンズを光軸方向に移動させる操作リングに装着された駆動装置に対して、駆動方向および駆動量を示すコマンドを送信する制御部と、表示部と、を備え、前記制御部は、前記交換レンズ毎の前記駆動装置の駆動に関するキャリブレーション情報を取得するためのキャリブレーション動作に関わる情報を前記表示部に表示させる。
【発明の効果】
【0008】
本開示にかかる撮像装置によれば、交換レンズの焦点距離を速く且つより正確に変更することが可能となる。
【図面の簡単な説明】
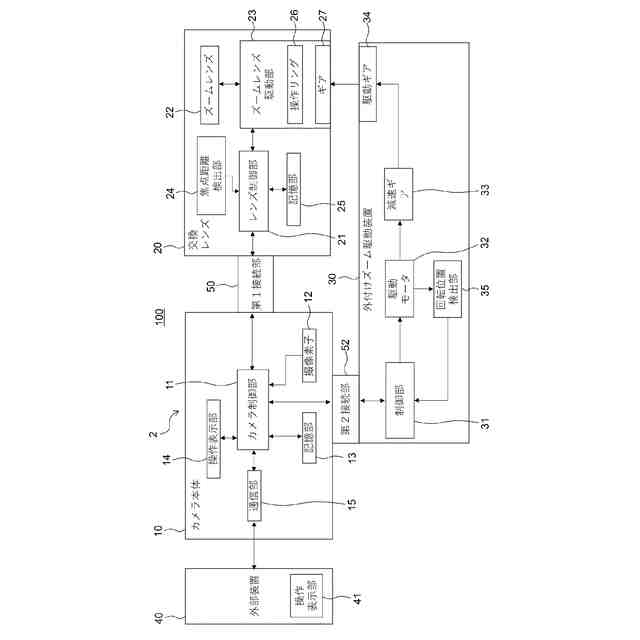
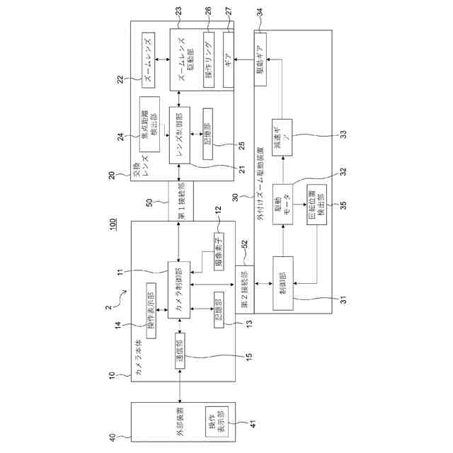
【0009】
デジタルカメラと外部装置を含む撮像システムの構成図
第1駆動テーブルを示す図
第2駆動テーブルを示す図
交換レンズの識別情報(レンズID)とそれに対応する駆動テーブルNoを示す表
カメラ本体に交換レンズを取り付けたときにカメラ制御部が実行する動作を示すフローチャート
キャリブレーション動作を示すフローチャート(前半)
キャリブレーション動作を示すフローチャート(後半)
駆動テーブルを用いて遠隔ズーム操作を行う方法を示すフローチャート
第1駆動テーブルを用いて駆動モータの駆動量の算出方法を示す図
第1駆動テーブルを用いて駆動モータの駆動量の算出方法を示す図
外部装置の表示操作部に表示される遠隔ズーム操作に関する表示例
カメラ本体の表示操作部に表示される遠隔ズーム操作に関する表示例
カメラ本体の表示操作部に表示される遠隔ズーム操作に関する表示例
カメラ本体の表示操作部に表示される遠隔ズーム操作に関する表示例
【発明を実施するための形態】
【0010】
本開示の第1態様によれば、ズームレンズを含む交換レンズを介した被写体を撮像して画像データを生成する撮像素子と、前記ズームレンズを光軸方向に移動させる操作リングに装着された駆動装置に対して、駆動方向および駆動量を示すコマンドを送信する制御部と、を備え、前記制御部は、前記コマンドを送信して前記駆動装置を駆動させることで、前記駆動装置の駆動方向および駆動量と、前記交換レンズの焦点距離との相関関係を示すキャリブレーション情報を取得する、撮像装置を提供する。
(【0011】以降は省略されています)
この特許をJ-PlatPat(特許庁公式サイト)で参照する
関連特許
個人
立体像表示装置
1か月前
カンタツ株式会社
光学系
1か月前
住友化学株式会社
偏光板
1か月前
株式会社シグマ
結像光学系
1か月前
株式会社シグマ
結像光学系
26日前
住友化学株式会社
垂直偏光板
1か月前
東レ株式会社
貼合体の製造方法
1か月前
東レ株式会社
赤外線遮蔽構成体
1か月前
日本精機株式会社
ミラーユニット
1か月前
古河電気工業株式会社
融着機
1か月前
アイカ工業株式会社
反射防止フィルム
今日
日本電気株式会社
光モジュール
1か月前
個人
多方向視差効果のための微細穴加工
1か月前
日東電工株式会社
導光部材
26日前
豊田合成株式会社
調光装置
13日前
株式会社コシナ
投射ズームレンズ
19日前
日東電工株式会社
光学積層体
28日前
三菱電機株式会社
レンズモジュール
1か月前
個人
眼鏡装着位置変更具および眼鏡
1か月前
京セラ株式会社
光学系
1か月前
日本精機株式会社
ヘッドアップディスプレイ
26日前
日本精機株式会社
ヘッドアップディスプレイ
29日前
AGC株式会社
インフィニティミラー
1か月前
住友化学株式会社
偏光板
1か月前
住友化学株式会社
偏光板
1か月前
キヤノン株式会社
表示装置
5日前
住友化学株式会社
偏光積層体
1か月前
新光電気工業株式会社
光導波路部品
1か月前
マクセル株式会社
映像表示装置
19日前
住友化学株式会社
光学積層体
1か月前
新光電気工業株式会社
光導波路部品
1か月前
日本精機株式会社
ヘッドアップディスプレイ装置
26日前
京セラ株式会社
アイソレータ
5日前
日本精機株式会社
ヘッドアップディスプレイ装置
27日前
株式会社リコー
光走査装置及び画像形成装置
26日前
株式会社タムロン
ズームレンズ及び撮像装置
1か月前
続きを見る
他の特許を見る