TOP
|
特許
|
意匠
|
商標
特許ウォッチ
Twitter
他の特許を見る
公開番号
2025176151
公報種別
公開特許公報(A)
公開日
2025-12-03
出願番号
2025153195,2023205180
出願日
2025-09-16,2014-08-07
発明の名称
撮像素子、および撮像装置
出願人
株式会社ニコン
代理人
個人
,
個人
,
個人
主分類
G02B
7/34 20210101AFI20251126BHJP(光学)
要約
【課題】1つのマイクロレンズに対して設けられた一対の光電変換部のそれぞれへ入射量を確保する。
【解決手段】撮像素子は、複数のマイクロレンズと、光学系の一対の瞳領域から受光する一対の光電変換部とを有し、二次元状に配列された複数の画素を備え、複数の画素は、光学系の一対の瞳領域の一方と第1マイクロレンズとを透過した光を光電変換する第1光電変換部と、当該一方と第2マイクロレンズとを透過した光を光電変換し、第1光電変換部と異なる受光面積の第2光電変換部と、当該一方の瞳領域と第3マイクロレンズとを透過した光を光電変換し、第1、第2光電変換部と異なる受光面積の第3光電変換部とを備え、第1~第3光電変換部は行方向に設けられ、第1~第3光電変換部は、行方向において光学系の光軸からの距離が大きいほど受光面積が大きくなる、または、行方向において光学系の光軸からの距離が大きいほど受光面積が小さくなる。
【選択図】図3
特許請求の範囲
【請求項1】
複数のマイクロレンズと、前記複数のマイクロレンズのそれぞれに対して設けられ、光学系の一対の瞳領域を通過した一対の光束を受光する一対の光電変換部と、を有し、二次元状に配列された複数の画素を備え、
前記複数の画素は、
前記光学系の前記一対の瞳領域のいずれか一方の瞳領域と第1マイクロレンズとを透過した光を光電変換する第1光電変換部と、
前記光学系の前記一方の瞳領域と第2マイクロレンズとを透過した光を光電変換し、前記第1光電変換部と異なる受光面積を有する第2光電変換部と、
前記光学系の前記一方の瞳領域と第3マイクロレンズとを透過した光を光電変換し、前記第1光電変換部と前記第2光電変換部とのそれぞれ異なる受光面積を有する第3光電変換部と、
を備え、
前記第1光電変換部と前記第2光電変換部と前記第3光電変換部は行方向に設けられ、
前記第1光電変換部と前記第2光電変換部と前記第3光電変換部は、前記行方向において前記光学系の光軸からの距離が大きいほど受光面積が大きくなる、または、前記行方向において前記光学系の光軸からの距離が大きいほど受光面積が小さくなる、ように構成される撮像素子。
発明の詳細な説明
【技術分野】
【0001】
本発明は、撮像素子に関する。
続きを表示(約 2,000 文字)
【背景技術】
【0002】
従来から、一つのマイクロレンズに対して一対の受光素子が設けられ、マイクロレンズの光軸に対して一対の受光素子が対称となるように配列された焦点検出画素と、マイクロレンズの光軸に対して一対の受光素子が非対称となるように配置される焦点検出画素とが配列されたイメージセンサが知られている(たとえば特許文献1)。
【先行技術文献】
【特許文献】
【0003】
特開2011―221253号公報
【発明の概要】
【発明が解決しようとする課題】
【0004】
しかしながら、同一のマイクロレンズに対して配列された一対の受光素子のそれぞれに入射する光量が異なるため、何れか一方の受光素子の出力が飽和して焦点検出演算に用いることができずに焦点検出精度を維持できないという問題がある。
【課題を解決するための手段】
【0005】
第1の態様によれば、撮像素子は、複数のマイクロレンズと、前記複数のマイクロレンズのそれぞれに対して設けられ、光学系の一対の瞳領域を通過した一対の光束を受光する一対の光電変換部と、を有し、二次元状に配列された複数の画素を備え、前記複数の画素は、前記光学系の前記一対の瞳領域のいずれか一方の瞳領域と第1マイクロレンズとを透過した光を光電変換する第1光電変換部と、前記光学系の前記一方の瞳領域と第2マイクロレンズとを透過した光を光電変換し、前記第1光電変換部と異なる受光面積を有する第2光電変換部と、前記光学系の前記一方の瞳領域と第3マイクロレンズとを透過した光を光電変換し、前記第1光電変換部と前記第2光電変換部とのそれぞれ異なる受光面積を有する第3光電変換部と、を備え、前記第1光電変換部と前記第2光電変換部と前記第3光電変換部は行方向に設けられ、前記第1光電変換部と前記第2光電変換部と前記第3光電変換部は、前記行方向において前記光学系の光軸からの距離が大きいほど受光面積が大きくなる、または、前記行方向において前記光学系の光軸からの距離が大きいほど受光面積が小さくなる、ように構成される。
【発明の効果】
【0006】
本発明によれば、複数の画素のうちの周辺付近に位置する画素においても、一対の光電変換部の一方の出力が飽和することを防ぎ、焦点検出精度の低下を抑制できる。
【図面の簡単な説明】
【0007】
本発明の実施の形態による撮像装置の構成を説明する横断面図
実施の形態による撮像装置の要部構成を説明するブロック図
実施の形態による撮像画素の配列の一例を示す図
実施の形態における撮像画素の第1光電変換部および第2光電変換部の面積と、撮影レンズ系の射出瞳領域との投影関係を模式的に示す図
変形例における撮像画素の配列の一例を示す図
変形例における撮像画素の配列の一例を示す図
変形例における撮像画素の配列の一例を示す図
【発明を実施するための形態】
【0008】
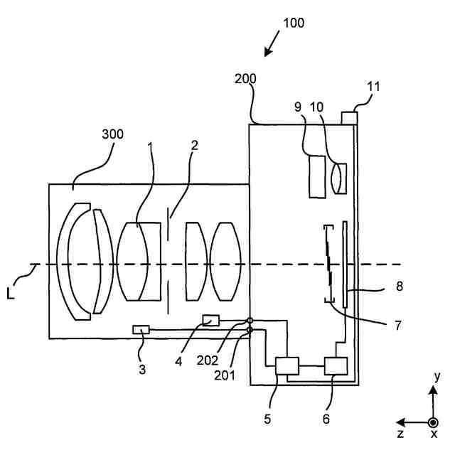
図面を参照しながら、本発明の一実施の形態による撮像素子と、当該撮像素子を備える焦点検出装置および撮像装置とについて説明する。図1は実施の形態による撮像装置であるデジタルカメラ100の構成を説明する横断面図である。なお、説明の都合上、x軸、y軸、z軸からなる座標系を図示の通りに設定する。
【0009】
デジタルカメラ100は、カメラ本体200と撮影レンズ本体300とにより構成され、撮影レンズ本体300はマウント部(不図示)を介して装着される、いわゆるミラーレスカメラである。カメラ本体200には、マウント部を介して種々の撮影光学系を有する撮影レンズ本体300が装着可能である。上記のマウント部には電気接点201、202が設けられ、カメラ本体200と撮影レンズ本体300とが結合された時には、電気接点201および202を介して電気的な接続が確立される。
【0010】
撮影レンズ本体300は、撮影レンズ系1と、絞り2と、駆動機構3と、レンズデータ部4とを備えている。撮影レンズ系1は、被写体像を所定の予定焦点面に結像させるための光学系であり、焦点調節レンズを含む複数のレンズによって構成されている。絞り2は、撮影レンズ系1を通過する光束、すなわち入射光量を制限するために、光軸Lを中心に開口径が可変な開口を形成する。駆動機構3は、電気接点201を介してカメラ本体200側から入力したデフォーカス量を用いてレンズ駆動量を算出し、レンズ駆動量に応じて撮影レンズ系1を構成する焦点調節レンズを光軸Lの方向(z軸方向)に沿って合焦位置へ駆動する。また、駆動機構3は、カメラ本体200側からの指令に応じて絞り駆動信号を出力して、絞り2の駆動を制御する。
(【0011】以降は省略されています)
この特許をJ-PlatPat(特許庁公式サイト)で参照する
関連特許
株式会社ニコン
撮像素子
1日前
株式会社ニコン
電子機器
1日前
株式会社ニコン
撮像素子
29日前
株式会社ニコン
カメラシステム
10日前
株式会社ニコン
撮像素子及び撮像装置
1日前
株式会社ニコン
撮像素子及び撮像装置
10日前
株式会社ニコン
撮像素子および撮像装置
18日前
株式会社ニコン
撮像素子および撮像装置
29日前
株式会社ニコン
撮像素子、および撮像装置
3日前
株式会社ニコン
眼科用光学系及び眼科装置
18日前
株式会社ニコン
眼科装置及び眼科撮影方法
1か月前
株式会社ニコン
撮像ユニットおよび撮像装置
10日前
株式会社ニコン
レンズ保護部材、及び撮像装置
3日前
株式会社ニコン
リレー光学系、及びアタッチメント
18日前
株式会社ニコン
露光装置、及び電子デバイスの製造方法
3日前
カンタツ株式会社
光学系
1か月前
株式会社シグマ
結像光学系
1か月前
株式会社シグマ
結像光学系
29日前
日本精機株式会社
ミラーユニット
1か月前
古河電気工業株式会社
融着機
1か月前
日本電気株式会社
光モジュール
1か月前
アイカ工業株式会社
反射防止フィルム
3日前
日東電工株式会社
導光部材
29日前
個人
多方向視差効果のための微細穴加工
1か月前
株式会社コシナ
投射ズームレンズ
22日前
豊田合成株式会社
調光装置
16日前
京セラ株式会社
光学系
1か月前
日東電工株式会社
光学積層体
1か月前
日本精機株式会社
ヘッドアップディスプレイ
29日前
AGC株式会社
インフィニティミラー
1か月前
日本精機株式会社
ヘッドアップディスプレイ
1か月前
キヤノン株式会社
表示装置
8日前
キヤノン株式会社
表示装置
1日前
古河電気工業株式会社
光ファイバケーブル
1日前
住友化学株式会社
複合偏光板
1日前
京セラ株式会社
アイソレータ
8日前
続きを見る
他の特許を見る