TOP
|
特許
|
意匠
|
商標
特許ウォッチ
Twitter
他の特許を見る
公開番号
2025170443
公報種別
公開特許公報(A)
公開日
2025-11-18
出願番号
2025149288,2021088333
出願日
2025-09-09,2021-05-26
発明の名称
撮像素子および撮像装置
出願人
株式会社ニコン
代理人
弁理士法人RYUKA国際特許事務所
主分類
H04N
25/00 20230101AFI20251111BHJP(電気通信技術)
要約
【解決手段】撮像素子であって、複数の画素を有する画素部と、複数の画素から出力された画素信号を処理する処理回路部と、処理回路部の発熱を外に放熱する放熱経路を設けた。当該撮像素子において、画素部は、それぞれ画素を有する第1画素ブロックと第2画素ブロックとを有し、処理回路部は、第1画素ブロックが出力した画素信号を処理する第1処理ブロックと、第2画素ブロックが出力した画素信号を処理する第2処理ブロックとを有し、放熱経路は、第1処理ブロックの放熱経路と第2処理ブロックの放熱経路とを有してもよい。
【選択図】図1
特許請求の範囲
【請求項1】
光を電荷に変換する複数の画素ブロックを有する第1基板と、
前記第1基板と積層された基板であって、前記複数の画素ブロックのうち第1画素ブロックで変換された電荷に基づく第1信号に信号処理を行う第1信号処理部と、第1導電型の半導体と前記第1導電型とは異なる第2導電型の半導体とを含む半導体素子であって前記第1信号処理部の熱を放散するための第1熱電素子とが配置される第1処理ブロックを有する第2基板と
を備え、
前記第1処理ブロックは、前記第1基板と前記第2基板とが積層される積層方向において前記第1画素ブロックと対向する位置に配置される、
撮像素子。
発明の詳細な説明
【技術分野】
【0001】
本発明は、撮像素子および撮像装置に関する。
続きを表示(約 1,300 文字)
【背景技術】
【0002】
AD変換部を備える撮像素子が知られている(例えば、特許文献1)。従来から、AD変換部で発生した熱によるノイズが問題となっていた。
[先行技術文献]
[特許文献]
[特許文献1] 特開2013-51674
【発明の概要】
【0003】
本発明の第1の態様においては、撮像素子であって、複数の画素を有する画素部と、複数の画素から出力された画素信号を処理する処理回路部と、処理回路部の発熱を外に放熱する放熱経路を設けた。
【0004】
本発明の第2の態様においては、撮像装置であって、上記撮像素子を備える。
【0005】
なお、上記の発明の概要は、本発明の特徴の全てを列挙したものではない。また、これらの特徴群のサブコンビネーションもまた、発明となりうる。
【図面の簡単な説明】
【0006】
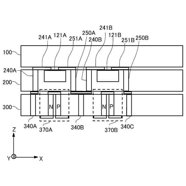
撮像素子400の概要を示す図である。
画素部110の具体的な構成の一例を示す。
画素112の回路構成の一例を示す。
制御回路部210のより具体的な構成の一例を示す。
処理ブロック220のより具体的な構成の一例を示す。
ひとつの処理ブロック220における放熱素子240,260を模式的に示す断面図である。
隣接する2つの画素電流源121A,121Bにおける放熱素子240A,250A,240B,250Bを模式的に示す断面図である。
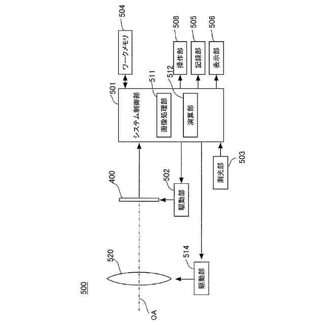
実施例に係る撮像装置500の構成例を示すブロック図である。
【発明を実施するための形態】
【0007】
以下、発明の実施の形態を通じて本発明を説明するが、以下の実施形態は特許請求の範囲にかかる発明を限定するものではない。また、実施形態の中で説明されている特徴の組み合わせの全てが発明の解決手段に必須であるとは限らない。
【0008】
本明細書において、X軸とY軸とは互いに直交し、Z軸はXY平面に直交する。XYZ軸は右手系を構成する。Z軸と平行な方向を撮像素子の積層方向と称する場合がある。本明細書において、「上」及び「下」の用語は、重力方向における上下方向に限定されない。これらの用語は、Z軸方向における相対的な方向を指すに過ぎない。なお、本明細書では、X軸方向の配列を「行」とし、Y軸方向の配列を「列」として説明するが、行列方向はこれに限定されない。
【0009】
図1は、撮像素子400の概要を示す図である。撮像素子400は、被写体を撮像する。撮像素子400は、撮像された被写体の画像データを生成する。撮像素子400は、第1基板100、第2基板200および第3基板300を備える。図1に示すように、第1基板100は、第2基板200に積層されている。また、第2基板200は第3基板300に積層されている。
【0010】
第1基板100は、画素部110を有する。画素部110には、光が入射される。画素部110は、入射された光に基づく画素信号を出力する。第1基板100を画素チップと称することがある。
(【0011】以降は省略されています)
この特許をJ-PlatPat(特許庁公式サイト)で参照する
関連特許
株式会社ニコン
撮像装置
21日前
株式会社ニコン
撮像素子
19日前
株式会社ニコン
撮像素子
11日前
株式会社ニコン
撮像装置
27日前
株式会社ニコン
撮像素子
13日前
株式会社ニコン
レンズ鏡筒
1か月前
株式会社ニコン
変倍光学系
1か月前
株式会社ニコン
カメラボディ
21日前
株式会社ニコン
光学系および光学機器
21日前
株式会社ニコン
撮像素子および撮像装置
今日
株式会社ニコン
撮像素子および撮像装置
13日前
株式会社ニコン
撮像素子および撮像装置
11日前
株式会社ニコン
眼科装置及び眼科撮影方法
13日前
株式会社ニコン
眼科用光学系及び眼科装置
今日
株式会社ニコン
測定システム、及び測定方法
27日前
株式会社ニコン
加工システム及び検査システム
19日前
株式会社ニコン
リレー光学系、及びアタッチメント
今日
株式会社ニコン
システム、情報処理装置、及びプログラム
27日前
株式会社ニコン
光学系、光学機器および光学系の製造方法
1か月前
株式会社ニコン
変倍光学系、光学機器、および変倍光学系の製造方法
1か月前
株式会社ニコン
変倍光学系、光学機器、および変倍光学系の製造方法
1か月前
株式会社ニコン
画像処理方法、画像処理装置、及び画像処理プログラム
27日前
株式会社ニコン
フォトマスク用基板の製造方法、フォトマスクブランクスの製造方法、フォトマスクの製造方法、フォトマスク用基板の再利用方法、フォトマスク用基板、フォトマスクブランクス、フォトマスク、石英ガラス基板の加工装置
14日前
株式会社ニコン
フッ化バリウム焼結体、フッ化ランタンドープフッ化バリウム焼結体、フッ化バリウム粒子の製造方法、フッ化バリウム焼結体の製造方法、フッ化ランタンドープフッ化バリウム粒子の製造方法、フッ化ランタンドープフッ化バリウム焼結体の製造方法、光学素子、光学系、交換レンズおよび光学装置
13日前
個人
イヤーピース
11日前
個人
イヤーマフ
25日前
個人
監視カメラシステム
1か月前
キーコム株式会社
光伝送線路
1か月前
個人
スイッチシステム
19日前
サクサ株式会社
中継装置
1か月前
WHISMR合同会社
収音装置
2か月前
個人
スキャン式車載用撮像装置
1か月前
サクサ株式会社
中継装置
1か月前
アイホン株式会社
電気機器
2か月前
キヤノン株式会社
撮像装置
2か月前
キヤノン電子株式会社
画像読取装置
2か月前
続きを見る
他の特許を見る