TOP
|
特許
|
意匠
|
商標
特許ウォッチ
Twitter
他の特許を見る
10個以上の画像は省略されています。
公開番号
2025163287
公報種別
公開特許公報(A)
公開日
2025-10-28
出願番号
2025135624,2024107912
出願日
2025-08-18,2012-09-12
発明の名称
カメラボディ
出願人
株式会社ニコン
代理人
個人
,
個人
,
個人
主分類
G03B
17/14 20210101AFI20251021BHJP(写真;映画;光波以外の波を使用する類似技術;電子写真;ホログラフイ)
要約
【課題】通信可能な交換レンズにおいて、レンズの情報をカメラに通信する。
【解決手段】カメラボディ100は、カメラアクセサリを取り付け可能なカメラボディであって、前記カメラアクセサリへ第1クロック信号を出力する第1接点と、前記第1クロック信号に同期させて前記カメラアクセサリから信号が入力される第2接点と、前記第1クロック信号に同期させて前記カメラアクセサリに対して信号が出力される第3接点と、前記カメラアクセサリが装着された後に、前記カメラアクセサリがデータ通信を行える状態であることを表す第1電圧と、前記カメラアクセサリがデータ通信を行えない状態であることを表す第2電圧とが入力される第4接点と、前記第2接点と前記第3接点を用いて信号を送受信することにより前記データ通信を行う通信部と、を備え、前記第2電圧は、前記第1電圧よりも高い。
【選択図】図1
特許請求の範囲
【請求項1】
カメラアクセサリを取り付け可能なカメラボディであって、
前記カメラアクセサリへ第1クロック信号を出力する第1接点と、
前記第1クロック信号に同期させて前記カメラアクセサリから信号が入力される第2接点と、
前記第1クロック信号に同期させて前記カメラアクセサリに対して信号が出力される第3接点と、
前記カメラアクセサリが装着された後に、前記カメラアクセサリがデータ通信を行える状態であることを表す第1電圧と、前記カメラアクセサリがデータ通信を行えない状態であることを表す第2電圧とが入力される第4接点と、
前記第2接点と前記第3接点を用いて信号を送受信することにより前記データ通信を行う通信部と、
を備え、
前記第2電圧は、前記第1電圧よりも高い、カメラボディ。
発明の詳細な説明
【技術分野】
【0001】
本発明は、カメラボディに関する。
続きを表示(約 2,200 文字)
【背景技術】
【0002】
レンズ交換可能なカメラシステムでは一般的に、例えば焦点調節用のレンズ等の、被駆動状態が変化する光学部材が少なくとも1つ交換レンズ内に配置されている。カメラボディは、このような被駆動部材の被駆動状態に関する情報(被駆動情報)を種々の制御のために必要とする。例えば特許文献1に記載のカメラシステムには、レンズ伝達系の動きをモニタするエンコーダが設けられている。このエンコーダが出力する駆動量のモニタ信号は、レンズのマウント部に設けられたレンズ側の接点と、これに対応する、ボディのマウント部に設けられたボディ側の接点とを介してレンズ駆動制御CPUにフィードバックされる。他方、特許文献1に記載のカメラシステムでは、上記のモニタ信号を伝達する接点とは別の接点により、カメラボディ内のメインCPUが撮影レンズ内のレンズCPU等と結合されている。メインCPUはカメラシーケンス、露出動作の制御に必要な情報を他のCPU等からもらったり、他のCPUに必要なカメラシーケンスの情報を送ったりする。すなわち、この接点はメインCPUとレンズCPUが汎用的な通信を行うための接点である。
【先行技術文献】
【特許文献】
【0003】
特開平10-68871号公報
【発明の概要】
【0004】
カメラと通信可能な交換レンズにおいて、レンズの情報をカメラに通信するための新しい仕組みが望まれている。
第1の態様によれば、カメラアクセサリを取り付け可能なカメラボディであって、前記カメラアクセサリへ第1クロック信号を出力する第1接点と、前記第1クロック信号に同期させて前記カメラアクセサリから信号が入力される第2接点と、前記第1クロック信号に同期させて前記カメラアクセサリに対して信号が出力される第3接点と、前記カメラアクセサリが装着された後に、前記カメラアクセサリがデータ通信を行える状態であることを表す第1電圧と、前記カメラアクセサリがデータ通信を行えない状態であることを表す第2電圧とが入力される第4接点と、前記第2接点と前記第3接点を用いて信号を送受信することにより前記データ通信を行う通信部と、を備え、前記第2電圧は、前記第1電圧よりも高い。
【図面の簡単な説明】
【0005】
本発明を適用したレンズ交換式のカメラシステムを示した斜視図である。
本発明を適用したレンズ交換式のカメラシステムを示した断面図である。
保持部102,202の詳細を示す模式図である。
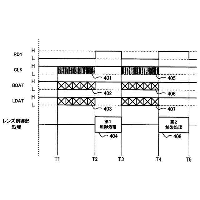
コマンドデータ通信の例を示すタイミングチャートである。
ホットライン通信の例を示すタイミングチャートである。
被駆動部材(光学部材)の模式図である。
交換レンズ200の初期化時にコマンドデータ通信により送受信されるデータの例を示す図である。
被駆動情報のデータ形式を示す図である。
第2の実施の形態において送受信される各種データを示す図である。
【発明を実施するための形態】
【0006】
(第1の実施の形態)
図1は、本発明を適用したレンズ交換式のカメラシステムを示した斜視図である。なお、図1では本発明に係わる機器および装置のみを示し、それ以外の機器および装置については図示と説明を省略する。カメラシステム1は、カメラボディ100と、カメラボディ100に着脱可能な交換レンズ200とから構成される。
【0007】
カメラボディ100には交換レンズ200が着脱可能に取り付けられるボディ側マウント部101が設けられている。ボディ側マウント部101の近傍(ボディ側マウント部101の内周側)の位置には、ボディ側マウント部101の内周側に部分的に突出する状態で、12個のボディ側接続端子を保持するボディ側保持部(電気的な接続部)102が設けられている。
【0008】
また交換レンズ200には、ボディ側マウント部101に対応し、カメラボディ100が着脱可能に取り付けられるレンズ側マウント部201が設けられている。レンズ側マウント部201の近傍(レンズ側マウント部201の内周側)の位置には、レンズ側マウント部201の内周側に部分的に突出する状態で、12個のレンズ側接続端子を保持するレンズ側保持部(電気的な接続部)202が設けられている。
【0009】
カメラボディ100に交換レンズ200が装着されると、複数のボディ側接続端子が設けられたボディ側保持部102(後に詳述)が、複数のレンズ側接続端子が設けられたレンズ側保持部202(後に詳述)に電気的に且つ物理的に接続される。これらの端子は、カメラボディ100から交換レンズ200への電力供給、および、カメラボディ100と交換レンズ200との信号の送受信に利用される。
【0010】
カメラボディ100内のボディ側マウント部101後方には撮像素子104が設けられる。カメラボディ100の上方には、入力装置たるボタン107が設けられている。ユーザはボタン107等の入力装置を用いてカメラボディ100に撮影指示や撮影条件の設定指示等を行う。
(【0011】以降は省略されています)
この特許をJ-PlatPat(特許庁公式サイト)で参照する
関連特許
株式会社ニコン
撮像装置
1か月前
株式会社ニコン
撮像装置
1か月前
株式会社ニコン
撮像素子
1か月前
株式会社ニコン
撮像素子
24日前
株式会社ニコン
撮像素子
22日前
株式会社ニコン
カメラボディ
1か月前
株式会社ニコン
カメラシステム
3日前
株式会社ニコン
光学系および光学機器
1か月前
株式会社ニコン
撮像素子及び撮像装置
3日前
株式会社ニコン
撮像素子および撮像装置
22日前
株式会社ニコン
撮像素子および撮像装置
11日前
株式会社ニコン
撮像素子および撮像装置
24日前
株式会社ニコン
眼科装置及び眼科撮影方法
24日前
株式会社ニコン
眼科用光学系及び眼科装置
11日前
株式会社ニコン
撮像ユニットおよび撮像装置
3日前
株式会社ニコン
加工システム及び検査システム
1か月前
株式会社ニコン
リレー光学系、及びアタッチメント
11日前
株式会社ニコン
フォトマスク用基板の製造方法、フォトマスクブランクスの製造方法、フォトマスクの製造方法、フォトマスク用基板の再利用方法、フォトマスク用基板、フォトマスクブランクス、フォトマスク、石英ガラス基板の加工装置
25日前
株式会社ニコン
フッ化バリウム焼結体、フッ化ランタンドープフッ化バリウム焼結体、フッ化バリウム粒子の製造方法、フッ化バリウム焼結体の製造方法、フッ化ランタンドープフッ化バリウム粒子の製造方法、フッ化ランタンドープフッ化バリウム焼結体の製造方法、光学素子、光学系、交換レンズおよび光学装置
24日前
個人
表示装置
1か月前
個人
雨用レンズカバー
1か月前
キヤノン株式会社
撮像装置
1か月前
日本精機株式会社
車両用投射装置
1か月前
キヤノン株式会社
撮像装置
1日前
キヤノン株式会社
撮像装置
1か月前
キヤノン株式会社
撮像装置
1か月前
キヤノン株式会社
撮像装置
2か月前
株式会社リコー
画像形成装置
1か月前
株式会社リコー
画像形成装置
24日前
株式会社リコー
画像形成装置
15日前
株式会社リコー
画像形成装置
1か月前
株式会社リコー
画像形成装置
2か月前
株式会社リコー
画像形成装置
1か月前
キヤノン株式会社
トナー
1か月前
キヤノン株式会社
トナー
1か月前
キヤノン株式会社
画像形成装置
1か月前
続きを見る
他の特許を見る