TOP
|
特許
|
意匠
|
商標
特許ウォッチ
Twitter
他の特許を見る
10個以上の画像は省略されています。
公開番号
2025166149
公報種別
公開特許公報(A)
公開日
2025-11-05
出願番号
2025134741,2023511497
出願日
2025-08-13,2022-03-30
発明の名称
撮像素子および撮像装置
出願人
株式会社ニコン
代理人
弁理士法人RYUKA国際特許事務所
主分類
H04N
25/79 20230101AFI20251028BHJP(電気通信技術)
要約
【課題】半導体チップを上下に重ねて構成される高機能な撮像素子を提供する。
【解決手段】撮像素子であって、行方向と列方向とに並んで配置され、少なくとも1つの画素を含む複数の画素ブロックを有する第1基板と、行方向と列方向とに並んで配置され、画素から出力された信号をデジタル信号に変換する変換部と、変換部でデジタル信号に変換された信号を出力するための貫通電極部とを含む複数の制御ブロックを有する第2基板と、を備える。
【選択図】図1
特許請求の範囲
【請求項1】
光を電荷に変換する第1光電変換部と、光を電荷に変換する第2光電変換部とが配置された画素部を有する第1基板と、
前記第1基板とともに積層された基板であって、前記第1光電変換部で変換された電荷に基づく第1信号をデジタル信号に変換する第1変換部と、前記第1変換部で前記第1信号からデジタル信号に変換された第1デジタル信号が出力される第1貫通電極の第1貫通穴が形成された第1貫通電極部とを含む第1制御ブロックと、前記第2光電変換部で変換された電荷に基づく第2信号をデジタル信号に変換する第2変換部と、前記第2変換部で前記第2信号からデジタル信号に変換された第2デジタル信号が出力される第2貫通電極の第2貫通穴が形成された第2貫通電極部とを含む第2制御ブロックとが配置された制御回路部を有する第2基板と、
前記第1基板とともに積層された基板であって、前記第1貫通電極と電気的に接続される第3貫通電極の第3貫通穴が形成された第3貫通電極部と、前記第2貫通電極と電気的に接続される第4貫通電極の第4貫通穴が形成された第4貫通電極部とが配置され、前記第3貫通電極から出力された前記第1デジタル信号と、前記第4貫通電極から出力された前記第2デジタル信号とを処理する処理部と、前記処理部で処理された前記第1デジタル信号と、前記処理部で処理された前記第2デジタル信号とのうち少なくとも一方のデジタル信号が出力される第5貫通電極のための第5貫通穴が形成された第5貫通電極部とを有する第3基板と
を備え、
前記処理部は、前記第2基板と前記第3基板とが積層される方向において前記制御回路部と重なる位置に配置され、
前記第5貫通電極部は、前記第3基板において前記処理部の外側に配置される、
撮像素子。
発明の詳細な説明
【技術分野】
【0001】
本発明は、撮像素子および撮像装置に関する。
続きを表示(約 1,700 文字)
【背景技術】
【0002】
半導体チップを上下に重ねて構成される撮像素子が知られている(例えば、特許文献1)。従来より高機能化が求められている。
特許文献1 特開2006-49361号公報
【発明の概要】
【0003】
本発明の第1の態様においては、撮像素子であって、行方向と列方向とに並んで配置され、少なくとも1つの画素を含む複数の画素ブロックを有する第1基板と、行方向と列方向とに並んで配置され、画素から出力された信号をデジタル信号に変換する変換部と、変換部でデジタル信号に変換された信号を出力するための貫通電極部とを含む複数の制御ブロックを有する第2基板と、を備える。
【0004】
本発明の第2の態様においては、撮像装置であって、上記撮像素子を備える。
【0005】
なお、上記の発明の概要は、本発明の特徴の全てを列挙したものではない。また、これらの特徴群のサブコンビネーションもまた、発明となりうる。
【図面の簡単な説明】
【0006】
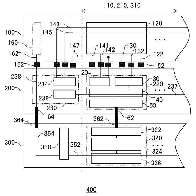
撮像素子400の概要を示す図である。
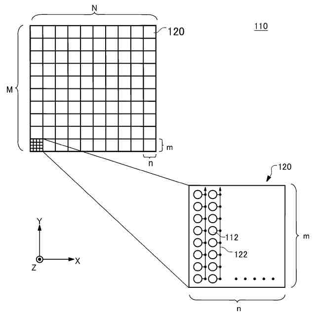
画素部110の具体的な構成の一例を示す。
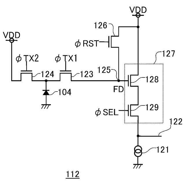
画素112の回路構成の一例を示す。
制御回路部210のより具体的な構成の一例を示す。
制御ブロック220のより具体的な構成の一例を示す。
画像処理部310のより具体的な構成の一例を示す。
処理ブロック320のより具体的な構成の一例を示す。
撮像素子400の配線方法の一例を説明するための図である。
複数の制御ブロック220の配置関係を示す模式図である。
複数の処理ブロック320の配置関係を示す模式図である。
他の制御ブロック620の具体的な構成の一例を示す。
制御ブロック620を用いた撮像素子800の配線方法の一例を説明するための図である。
複数の制御ブロック620の配置関係を示す模式図である。
さらに他の制御ブロック640の具体的な構成の一例を示す。
複数の制御ブロック640の配置関係を示す模式図である。
さらに他の制御ブロック660の具体的な構成の一例を示す。
複数の制御ブロック640の配置関係を示す模式図である。
貫通電極62の配置の詳細を示す模式図である。
貫通電極62の配置の詳細を示す模式図である。
実施例に係る撮像装置500の構成例を示すブロック図である。
【発明を実施するための形態】
【0007】
以下、発明の実施の形態を通じて本発明を説明するが、以下の実施形態は特許請求の範囲にかかる発明を限定するものではない。また、実施形態の中で説明されている特徴の組み合わせの全てが発明の解決手段に必須であるとは限らない。
【0008】
本明細書において、X軸とY軸とは互いに直交し、Z軸はXY平面に直交する。XYZ軸は右手系を構成する。Z軸と平行な方向を撮像素子の積層方向と称する場合がある。本明細書において、「上」及び「下」の用語は、重力方向における上下方向に限定されない。これらの用語は、Z軸方向における相対的な方向を指すに過ぎない。なお、本明細書では、X軸方向の配列を「行」とし、Y軸方向の配列を「列」として説明するが、行列方向はこれに限定されない。
【0009】
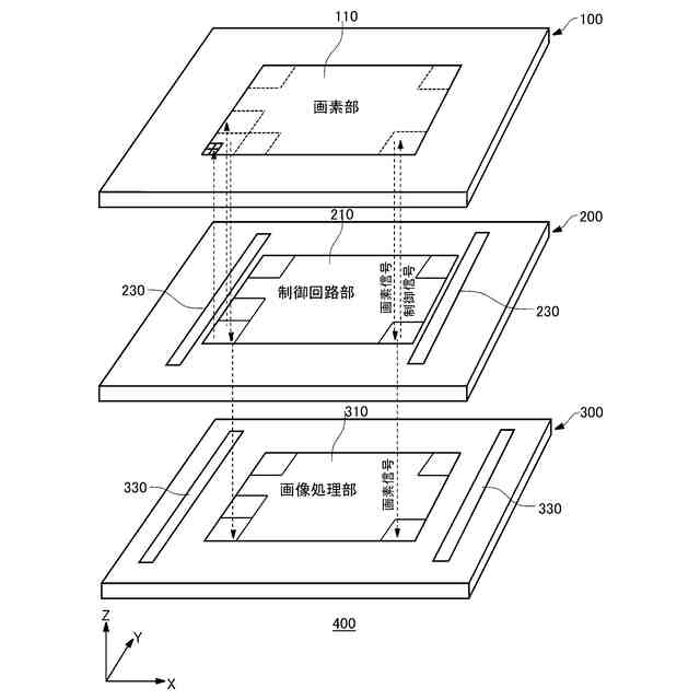
図1は、撮像素子400の概要を示す図である。撮像素子400は、被写体を撮像する。撮像素子400は、撮像された被写体の画像データを生成する。撮像素子400は、第1基板100、第2基板200および第3基板300を備える。図1に示すように、第1基板100は、第2基板200に積層されている。また、第2基板200は第3基板300に積層されている。
【0010】
第1基板100は、画素部110を有する。画素部110には、光が入射される。画素部110は、入射された光に基づく画素信号を出力する。第1基板100を画素チップと称することがある。
(【0011】以降は省略されています)
この特許をJ-PlatPat(特許庁公式サイト)で参照する
関連特許
株式会社ニコン
撮像素子
24日前
株式会社ニコン
撮像装置
1か月前
株式会社ニコン
撮像素子
22日前
株式会社ニコン
撮像装置
1か月前
株式会社ニコン
撮像素子
1か月前
株式会社ニコン
レンズ鏡筒
1か月前
株式会社ニコン
変倍光学系
1か月前
株式会社ニコン
カメラボディ
1か月前
株式会社ニコン
カメラシステム
3日前
株式会社ニコン
撮像素子及び撮像装置
1か月前
株式会社ニコン
光学系および光学機器
1か月前
株式会社ニコン
撮像素子及び撮像装置
3日前
株式会社ニコン
撮像素子および撮像装置
11日前
株式会社ニコン
撮像素子および撮像装置
24日前
株式会社ニコン
撮像素子および撮像装置
22日前
株式会社ニコン
眼科装置及び眼科撮影方法
24日前
株式会社ニコン
眼科用光学系及び眼科装置
11日前
株式会社ニコン
撮像ユニットおよび撮像装置
1か月前
株式会社ニコン
焦点検出装置および撮像素子
1か月前
株式会社ニコン
撮像ユニットおよび撮像装置
3日前
株式会社ニコン
測定システム、及び測定方法
1か月前
株式会社ニコン
加工システム及び検査システム
1か月前
株式会社ニコン
リレー光学系、及びアタッチメント
11日前
株式会社ニコン
光学系、光学機器および光学系の製造方法
1か月前
株式会社ニコン
システム、情報処理装置、及びプログラム
1か月前
株式会社ニコン
変倍光学系、光学機器、および変倍光学系の製造方法
1か月前
株式会社ニコン
変倍光学系、光学機器、および変倍光学系の製造方法
1か月前
株式会社ニコン
変倍光学系、光学機器、および変倍光学系の製造方法
1か月前
株式会社ニコン
画像処理方法、画像処理装置、及び画像処理プログラム
1か月前
株式会社ニコン
画像処理方法、画像処理装置、及び画像処理プログラム
1か月前
株式会社ニコン
フォトマスク用基板の製造方法、フォトマスクブランクスの製造方法、フォトマスクの製造方法、フォトマスク用基板の再利用方法、フォトマスク用基板、フォトマスクブランクス、フォトマスク、石英ガラス基板の加工装置
25日前
株式会社ニコン
フッ化バリウム焼結体、フッ化ランタンドープフッ化バリウム焼結体、フッ化バリウム粒子の製造方法、フッ化バリウム焼結体の製造方法、フッ化ランタンドープフッ化バリウム粒子の製造方法、フッ化ランタンドープフッ化バリウム焼結体の製造方法、光学素子、光学系、交換レンズおよび光学装置
24日前
個人
イヤーピース
22日前
個人
イヤーマフ
1か月前
個人
監視カメラシステム
1か月前
個人
スイッチシステム
1か月前
続きを見る
他の特許を見る