TOP
|
特許
|
意匠
|
商標
特許ウォッチ
Twitter
他の特許を見る
公開番号
2025160461
公報種別
公開特許公報(A)
公開日
2025-10-22
出願番号
2025130245,2024084261
出願日
2025-08-04,2019-10-17
発明の名称
画像処理方法、画像処理装置、及び画像処理プログラム
出願人
株式会社ニコン
代理人
弁理士法人太陽国際特許事務所
主分類
A61B
3/10 20060101AFI20251015BHJP(医学または獣医学;衛生学)
要約
【課題】脈絡膜血管を解析するための画像処理方法を提供する。
【解決手段】画像処理方法は、眼底画像を取得することと、眼底画像から第1特徴を有する第1領域を抽出することと、眼底画像から第1特徴と異なる第2特徴の第2領域を抽出することと、抽出した第1領域と第2領域を合成した合成画像を生成することと、を備える。
【選択図】図6
特許請求の範囲
【請求項1】
脈絡膜血管画像を取得することと、
前記脈絡膜血管画像に対して線強調処理と二値化処理を行い、線状部を抽出することと、
前記脈絡膜血管画像に対して二値化処理を行い、塊状部を抽出することと、
を備えた画像処理方法。
続きを表示(約 300 文字)
【請求項2】
前記線強調処理は、前記脈絡膜血管画像中の局所構造が線であることを判別する、請求項1に記載の画像処理方法。
【請求項3】
前記塊状部を抽出することは、所定輝度値の画素が所定数連結した領域を塊状部として抽出することである、請求項1または請求項2に記載の画像処理方法。
【請求項4】
前記線状部は、脈絡膜血管の線状部であり、
前記塊状部は、脈絡膜血管の塊状部である、請求項1から請求項3のいずれか1項に記載の画像処理方法。
【請求項5】
前記線状部は渦静脈の線状部分であり、前記塊状部は渦静脈の膨大部である請求項4に記載の画像処理方法。
発明の詳細な説明
【技術分野】
【0001】
本発明は、画像処理方法、画像処理装置、及び画像処理プログラムに関する。
続きを表示(約 2,000 文字)
【背景技術】
【0002】
米国特許第10136812号明細書には、脈絡膜の血管網を選択的に可視化する光干渉断層計装置が開示されている。脈絡膜血管を解析するための画像処理方法が望まれている。
【発明の概要】
【0003】
本開示の技術の第1の態様の画像処理方法は、眼底画像を取得することと、前記眼底画像から第1特徴を有する第1領域を抽出することと、前記眼底画像から前記第1特徴と異なる第2特徴の第2領域を抽出することと、前記抽出した前記第1領域と前記第2領域とを合成した合成画像を生成することと、を備える。
【0004】
本開示の技術の第2の態様の画像処理装置は、眼底画像を取得する画像取得部と、前記眼底画像から血管の線状部を抽出する第1抽出部と、前記眼底画像から血管の塊状部を抽出する第2抽出部と、前記抽出した線状部の画像と塊状部の画像とを統合し、血管が可視化された血管画像を生成する血管可視化部と、を含む。
【0005】
本開示の技術の第3の態様の画像処理プログラムは、コンピュータを、眼底画像を取得する画像取得部、前記眼底画像から血管の線状部を抽出する第1抽出部、前記眼底画像から血管の塊状部を抽出する第2抽出部、及び前記抽出した線状部の画像と塊状部の画像とを統合し、血管が可視化された血管画像を生成する血管可視化部、として機能させる。
【図面の簡単な説明】
【0006】
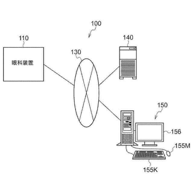
眼科システム100のブロック図である。
眼科装置110の全体構成を示す概略構成図である。
管理サーバ140の電気系の構成のブロック図である。
管理サーバ140のCPU262の機能のブロック図である。
管理サーバ140のCPU262の画像処理制御部206の機能のブロック図である。
画像処理プログラムのフローチャートである。
図6のステップ304の脈絡膜血管解析処理のフローチャートである。
脈絡膜血管の線状部12V1、12V2、12V3、12V4の抽出例を示した概略図である。
脈絡膜血管の膨大部12E1、12E2、12E3、12E4の抽出例を示した概略図である。
脈絡膜血管の線状部12V1、12V2、12V3、12V4と膨大部12E1、12E2、12E3、12E4とを各々結合した場合の概略図である。
表示画面500を示した概略図である。
経過観察領域570に時系列で表示される特定領域12V3AのRGカラー眼底画像の各々に、撮影年月日が同じ特定領域12V3Bの脈絡膜血管抽出画像の各々を合成した場合を示した概略図である。
経過観察領域570に時系列で表示される特定領域12V3Bの脈絡膜血管抽出画像の各々に、撮影年月日が同じ特定領域12V3AのRGカラー眼底画像から抽出した輪郭強調画像を合成した場合を示した概略図である。
脈絡膜血管画像CLAを示す図である。
【発明を実施するための形態】
【0007】
以下、図面を参照して本実施形態を詳細に説明する。
【0008】
図1を参照して、眼科システム100の構成を説明する。図1に示すように、眼科システム100は、眼科装置110と、管理サーバ装置(以下、「管理サーバ」という)140と、表示装置(以下、「ビューワ」という)150と、を備えている。眼科装置110は、眼底画像を取得する。管理サーバ140は、眼科装置110によって複数の患者の眼底が撮影されることにより得られた複数の眼底画像及び眼軸長を、患者のIDに対応して記憶する。ビューワ150は、管理サーバ140により取得した眼底画像や解析結果を表示する。
【0009】
ビューワ150は、管理サーバ140により取得した眼底画像や解析結果を表示するディスプレイ156、操作に供されるマウス155M及びキーボード155Kを備える。
【0010】
眼科装置110、管理サーバ140、ビューワ150は、ネットワーク130を介して、相互に接続されている。ビューワ150は、クライアントサーバシステムにおけるクライアントであり、ネットワークを介して複数台が接続される。また、管理サーバ140も、システムの冗長性を担保するために、ネットワークを介して複数台が接続されていてもよい。又は、眼科装置110が画像処理機能及びビューワ150の画像閲覧機能を備えるのであれば、眼科装置110がスタンドアロン状態で、眼底画像の取得、画像処理及び画像閲覧が可能となる。また、管理サーバ140がビューワ150の画像閲覧機能を備えるのであれば、眼科装置110と管理サーバ140との構成で、眼底画像の取得、画像処理及び画像閲覧が可能となる。
(【0011】以降は省略されています)
この特許をJ-PlatPat(特許庁公式サイト)で参照する
関連特許
株式会社ニコン
撮像素子
21日前
株式会社ニコン
撮像素子
13日前
株式会社ニコン
撮像装置
29日前
株式会社ニコン
撮像素子
15日前
株式会社ニコン
撮像装置
23日前
株式会社ニコン
レンズ鏡筒
1か月前
株式会社ニコン
変倍光学系
1か月前
株式会社ニコン
カメラボディ
23日前
株式会社ニコン
撮像素子及び撮像装置
1か月前
株式会社ニコン
光学系および光学機器
23日前
株式会社ニコン
撮像素子および撮像装置
2日前
株式会社ニコン
撮像素子および撮像装置
15日前
株式会社ニコン
撮像素子および撮像装置
13日前
株式会社ニコン
眼科装置及び眼科撮影方法
15日前
株式会社ニコン
眼科用光学系及び眼科装置
2日前
株式会社ニコン
測定システム、及び測定方法
29日前
株式会社ニコン
焦点検出装置および撮像素子
1か月前
株式会社ニコン
加工システム及び検査システム
21日前
株式会社ニコン
リレー光学系、及びアタッチメント
2日前
株式会社ニコン
システム、情報処理装置、及びプログラム
29日前
株式会社ニコン
光学系、光学機器および光学系の製造方法
1か月前
株式会社ニコン
変倍光学系、光学機器、および変倍光学系の製造方法
1か月前
株式会社ニコン
変倍光学系、光学機器、および変倍光学系の製造方法
1か月前
株式会社ニコン
画像処理方法、画像処理装置、及び画像処理プログラム
29日前
株式会社ニコン
画像処理方法、画像処理装置、及び画像処理プログラム
1か月前
株式会社ニコン
フォトマスク用基板の製造方法、フォトマスクブランクスの製造方法、フォトマスクの製造方法、フォトマスク用基板の再利用方法、フォトマスク用基板、フォトマスクブランクス、フォトマスク、石英ガラス基板の加工装置
16日前
株式会社ニコン
フッ化バリウム焼結体、フッ化ランタンドープフッ化バリウム焼結体、フッ化バリウム粒子の製造方法、フッ化バリウム焼結体の製造方法、フッ化ランタンドープフッ化バリウム粒子の製造方法、フッ化ランタンドープフッ化バリウム焼結体の製造方法、光学素子、光学系、交換レンズおよび光学装置
15日前
個人
貼付剤
24日前
個人
簡易担架
6日前
個人
短下肢装具
4か月前
個人
腋臭防止剤
6日前
個人
足踏み器具
13日前
個人
排尿補助器具
1か月前
個人
前腕誘導装置
4か月前
個人
嚥下鍛錬装置
4か月前
個人
ホバーアイロン
7か月前
続きを見る
他の特許を見る