TOP
|
特許
|
意匠
|
商標
特許ウォッチ
Twitter
他の特許を見る
10個以上の画像は省略されています。
公開番号
2025159158
公報種別
公開特許公報(A)
公開日
2025-10-17
出願番号
2025136147,2021069019
出願日
2025-08-19,2021-04-15
発明の名称
変倍光学系、光学機器、および変倍光学系の製造方法
出願人
株式会社ニコン
代理人
個人
,
個人
,
個人
,
個人
主分類
G02B
15/20 20060101AFI20251009BHJP(光学)
要約
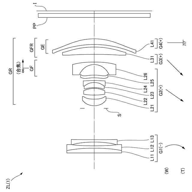
【課題】小型でありながら良好な光学性能を有する変倍光学系を提供する。
【解決手段】変倍光学系ZLは、負の屈折力を有する第1レンズ群G1と、少なくとも
3つのレンズ群を有する後群GRとからなり、変倍の際に、隣り合う各レンズ群の間隔が変化し、後群GRにおける少なくとも3つのレンズ群におけるいずれかのレンズ群の少なくとも一部は、合焦の際に光軸に沿って移動する負の屈折力を有する合焦群GFであり、以下の条件式を満足する。
1.00<fFRw/(-fF)<7.00
但し、fFRw:広角端状態における合焦群GFよりも像側に配置されたレンズで構成されるレンズ群の焦点距離
fF:合焦群GFの焦点距離
【選択図】図1
特許請求の範囲
【請求項1】
光軸に沿って物体側から順に並んだ、負の屈折力を有する第1レンズ群と、少なくとも
3つのレンズ群を有する後群とからなり、
変倍の際に、隣り合う各レンズ群の間隔が変化し、
前記後群の前記少なくとも3つのレンズ群におけるいずれかのレンズ群の少なくとも一部は、合焦の際に光軸に沿って移動する負の屈折力を有する合焦群であり、
以下の条件式を満足する変倍光学系。
1.00<fFRw/(-fF)<7.00
但し、fFRw:広角端状態における前記合焦群よりも像側に配置されたレンズで構成されるレンズ群の焦点距離
fF:前記合焦群の焦点距離
続きを表示(約 1,400 文字)
【請求項2】
光軸に沿って物体側から順に並んだ、負の屈折力を有する第1レンズ群と、少なくとも
3つのレンズ群を有する後群とからなり、
変倍の際に、隣り合う各レンズ群の間隔が変化し、
前記後群の前記少なくとも3つのレンズ群におけるいずれかのレンズ群の少なくとも一部は、合焦の際に光軸に沿って移動する負の屈折力を有する合焦群であり、
以下の条件式を満足する変倍光学系。
1.00<fFRt/(-fF)<7.00
但し、fFRt:望遠端状態における前記合焦群よりも像側に配置されたレンズで構成されるレンズ群の焦点距離
fF:前記合焦群の焦点距離
【請求項3】
光軸に沿って物体側から順に並んだ、負の屈折力を有する第1レンズ群と、少なくとも
3つのレンズ群を有する後群とからなり、
変倍の際に、隣り合う各レンズ群の間隔が変化し、
前記後群の前記少なくとも3つのレンズ群におけるいずれかのレンズ群の少なくとも一部は、合焦の際に光軸に沿って移動する負の屈折力を有する合焦群であり、
以下の条件式を満足する変倍光学系。
0.70<fw/(-fF)<7.00
但し、fw:広角端状態における前記変倍光学系の焦点距離
fF:前記合焦群の焦点距離
【請求項4】
以下の条件式を満足する請求項1~3のいずれか一項に記載の変倍光学系。
0.50<fRw/(-fF)<4.00
但し、fRw:広角端状態における前記後群の焦点距離
【請求項5】
以下の条件式を満足する請求項1~4のいずれか一項に記載の変倍光学系。
0.50<fRt/(-fF)<5.00
但し、fRt:望遠端状態における前記後群の焦点距離
【請求項6】
前記後群の前記少なくとも1つのレンズ群が複数のレンズ群である請求項1~5のいずれか一項に記載の変倍光学系。
【請求項7】
前記後群の前記少なくとも1つのレンズ群は、前記後群の最も物体側に配置された正の屈折力を有する第2レンズ群を含む請求項1~6のいずれか一項に記載の変倍光学系。
【請求項8】
前記後群の前記少なくとも1つのレンズ群は、前記後群の最も像側に配置された正の屈折力を有する最終レンズ群を含む請求項1~7のいずれか一項に記載の変倍光学系。
【請求項9】
以下の条件式を満足する請求項1~8のいずれか一項に記載の変倍光学系。
0.10<fRPF/fRPR<0.60
但し、fRPF:前記後群の前記少なくとも1つのレンズ群のうち、正の屈折力を有するレンズ群で最も物体側のレンズ群の焦点距離
fRPR:前記後群の前記少なくとも1つのレンズ群のうち、正の屈折力を有するレンズ群で最も像側のレンズ群の焦点距離
【請求項10】
以下の条件式を満足する請求項1~9のいずれか一項に記載の変倍光学系。
0.50<fRPF/(-fF)<3.00
但し、fRPF:前記後群の前記少なくとも1つのレンズ群のうち、正の屈折力を有するレンズ群で最も物体側のレンズ群の焦点距離
(【請求項11】以降は省略されています)
発明の詳細な説明
【技術分野】
【0001】
本発明は、変倍光学系、光学機器、および変倍光学系の製造方法に関する。
続きを表示(約 2,000 文字)
【背景技術】
【0002】
従来から、写真用カメラ、電子スチルカメラ、ビデオカメラ等に適した変倍光学系が提案されている(例えば、特許文献1を参照)。このような変倍光学系においては、小型にしつつ良好な光学性能を得ることが難しい。
【先行技術文献】
【特許文献】
【0003】
国際公開第2020/012638号
【発明の概要】
【0004】
第1の本発明に係る変倍光学系は、光軸に沿って物体側から順に並んだ、負の屈折力を有する第1レンズ群と、少なくとも1つのレンズ群を有する後群とからなり、変倍の際に、隣り合う各レンズ群の間隔が変化し、前記後群の前記少なくとも1つのレンズ群におけるいずれかのレンズ群の少なくとも一部は、合焦の際に光軸に沿って移動する負の屈折力を有する合焦群であり、以下の条件式を満足する。
1.50<ft/(-fF)<10.00
但し、ft:望遠端状態における前記変倍光学系の焦点距離
fF:前記合焦群の焦点距離
【0005】
第2の本発明に係る変倍光学系は、光軸に沿って物体側から順に並んだ、負の屈折力を有する第1レンズ群と、少なくとも1つのレンズ群を有する後群とからなり、変倍の際に、隣り合う各レンズ群の間隔が変化し、前記後群の前記少なくとも1つのレンズ群におけるいずれかのレンズ群の少なくとも一部は、合焦の際に光軸に沿って移動する負の屈折力を有する合焦群であり、以下の条件式を満足する。
0.70<fw/(-fF)<7.00
但し、fw:広角端状態における前記変倍光学系の焦点距離
fF:前記合焦群の焦点距離
【0006】
第3の本発明に係る変倍光学系は、光軸に沿って物体側から順に並んだ、負の屈折力を有する第1レンズ群と、少なくとも1つのレンズ群を有する後群とからなり、変倍の際に、隣り合う各レンズ群の間隔が変化し、前記後群の前記少なくとも1つのレンズ群におけるいずれかのレンズ群の少なくとも一部は、合焦の際に光軸に沿って移動する負の屈折力を有する合焦群であり、以下の条件式を満足する。
1.00<fFRw/(-fF)<7.00
但し、fFRw:広角端状態における前記合焦群よりも像側に配置されたレンズで構成されるレンズ群の焦点距離
fF:前記合焦群の焦点距離
【0007】
第4の本発明に係る変倍光学系は、光軸に沿って物体側から順に並んだ、負の屈折力を有する第1レンズ群と、少なくとも1つのレンズ群を有する後群とからなり、変倍の際に、隣り合う各レンズ群の間隔が変化し、前記後群の前記少なくとも1つのレンズ群におけるいずれかのレンズ群の少なくとも一部は、合焦の際に光軸に沿って移動する負の屈折力を有する合焦群であり、以下の条件式を満足する。
1.00<fFRt/(-fF)<7.00
但し、fFRt:望遠端状態における前記合焦群よりも像側に配置されたレンズで構成されるレンズ群の焦点距離
fF:前記合焦群の焦点距離
【0008】
本発明に係る光学機器は、上記変倍光学系を備えて構成される。
【0009】
第1の本発明に係る変倍光学系の製造方法は、光軸に沿って物体側から順に並んだ、負の屈折力を有する第1レンズ群と、少なくとも1つのレンズ群を有する後群とからなる変倍光学系の製造方法であって、変倍の際に、隣り合う各レンズ群の間隔が変化し、前記後群の前記少なくとも1つのレンズ群におけるいずれかのレンズ群の少なくとも一部は、合焦の際に光軸に沿って移動する負の屈折力を有する合焦群であり、以下の条件式を満足するように、レンズ鏡筒内に各レンズを配置する。
1.50<ft/(-fF)<10.00
但し、ft:望遠端状態における前記変倍光学系の焦点距離
fF:前記合焦群の焦点距離
【0010】
第2の本発明に係る変倍光学系の製造方法は、光軸に沿って物体側から順に並んだ、負の屈折力を有する第1レンズ群と、少なくとも1つのレンズ群を有する後群とからなる変倍光学系の製造方法であって、変倍の際に、隣り合う各レンズ群の間隔が変化し、前記後群の前記少なくとも1つのレンズ群におけるいずれかのレンズ群の少なくとも一部は、合焦の際に光軸に沿って移動する負の屈折力を有する合焦群であり、以下の条件式を満足するように、レンズ鏡筒内に各レンズを配置する。
0.70<fw/(-fF)<7.00
但し、fw:広角端状態における前記変倍光学系の焦点距離
fF:前記合焦群の焦点距離
(【0011】以降は省略されています)
この特許をJ-PlatPat(特許庁公式サイト)で参照する
関連特許
株式会社ニコン
撮像素子
今日
株式会社ニコン
撮像素子
6日前
株式会社ニコン
撮像装置
8日前
株式会社ニコン
撮像装置
14日前
株式会社ニコン
レンズ鏡筒
21日前
株式会社ニコン
変倍光学系
19日前
株式会社ニコン
カメラボディ
8日前
株式会社ニコン
撮像素子及び撮像装置
1か月前
株式会社ニコン
撮像素子及び撮像装置
22日前
株式会社ニコン
光学系および光学機器
8日前
株式会社ニコン
撮像素子および撮像装置
今日
株式会社ニコン
眼科装置及び眼科撮影方法
今日
株式会社ニコン
焦点検出装置および撮像素子
22日前
株式会社ニコン
測定システム、及び測定方法
14日前
株式会社ニコン
撮像ユニットおよび撮像装置
1か月前
株式会社ニコン
加工システム及び検査システム
6日前
株式会社ニコン
光学系、光学機器および光学系の製造方法
19日前
株式会社ニコン
システム、情報処理装置、及びプログラム
14日前
株式会社ニコン
変倍光学系、光学機器、および変倍光学系の製造方法
19日前
株式会社ニコン
変倍光学系、光学機器、および変倍光学系の製造方法
22日前
株式会社ニコン
変倍光学系、光学機器、および変倍光学系の製造方法
1か月前
株式会社ニコン
画像処理方法、画像処理装置、及び画像処理プログラム
14日前
株式会社ニコン
画像処理方法、画像処理装置、及び画像処理プログラム
1か月前
株式会社ニコン
フォトマスク用基板の製造方法、フォトマスクブランクスの製造方法、フォトマスクの製造方法、フォトマスク用基板の再利用方法、フォトマスク用基板、フォトマスクブランクス、フォトマスク、石英ガラス基板の加工装置
1日前
株式会社ニコン
フッ化バリウム焼結体、フッ化ランタンドープフッ化バリウム焼結体、フッ化バリウム粒子の製造方法、フッ化バリウム焼結体の製造方法、フッ化ランタンドープフッ化バリウム粒子の製造方法、フッ化ランタンドープフッ化バリウム焼結体の製造方法、光学素子、光学系、交換レンズおよび光学装置
今日
個人
立体像表示装置
22日前
住友化学株式会社
偏光板
19日前
カンタツ株式会社
光学系
14日前
株式会社シグマ
結像光学系
8日前
東レ株式会社
積層フィルム
28日前
住友化学株式会社
垂直偏光板
19日前
東レ株式会社
貼合体の製造方法
22日前
東レ株式会社
赤外線遮蔽構成体
22日前
日本精機株式会社
ミラーユニット
7日前
古河電気工業株式会社
融着機
14日前
日本電気株式会社
光モジュール
8日前
続きを見る
他の特許を見る